| →枪弹列表 |
一颗子弹的诞生 |

伴随着斯坦芬·斯蒂尔斯演唱的《For what it's worth》的旋律,冲压、装配弹头……一颗崭新的M43步枪弹在生产线上按部就班地迅速成型,经过检选、装箱和长途跋涉,输送到战乱的非洲,最终在轰鸣中飞出AK47的枪膛,射穿了一个少年的头颅……尽管并不是真正的军事题材影片,但美国电影《战争之王》的片头仍给观众带来强烈的视听震撼。
片头展示的这段从普通铜带开始,以最终成为“杀人元凶”结束的子弹诞生过程,吸引了很多军事爱好者的注意和兴趣。但电影必竟是电影,稍加注意就会发现银幕上的这颗子弹实际上是电脑三维动画合成的,而且为了电影所要达到的效果,影片中所展示的生产过程在和军工厂内的实际流程相比,做了很大的简化和改动。
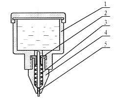
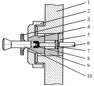
M43枪弹的国内仿制品是大家所熟知的56式步枪弹,两者基本一致,而且后者的生产工艺较M43更为简化,因此下面的介绍将以56式为基础。图3就是一颗56式普通弹的剖面示意图,可以看出它由弹头、发射药、弹壳、底火4部分组成,但生产起来可远没有乍看的那么简单,需要不同厂家之间的分工协作。国内一般枪弹厂家只生产弹头与弹壳,底火和发射药需要外购,然后再组装成成品,大型枪弹生产厂家则有专门的火工品生产车间,生产底火等枪弹上使用的火工品,但发射药也是由专门厂家提供的。下面就让我们一同来探究现实与电影的差异,按照制造弹头、弹壳直到全弹装配与包装的顺序,看看一颗最普通的56式步枪弹在最终出厂之前要经过怎样的“千锤百炼”。

图3:覆铜钢弹壳56式普通弹剖面示意图:1-弹头;2-发射药;3-弹壳;4-底火
弹头的制造
弹头是枪弹上的杀伤部件,除对尺寸、精度有很高要求以外,还必须有完善的结构与外形,以保证对目标有良好的侵彻和毁伤效果。弹头的种类很多,不同类型的弹头其加工过程也不一样,《战争之王》片头中安装到弹壳上的已是成品弹头,没有展现弹头加工的过程。
56式普通弹头由被甲、铅套和钢心三部分组成,各部分均单独制造,经检验合格后装配成弹头。枪弹的主要零件如弹头壳、弹壳、底火壳和曳光管壳等,形状都呈带底的杯状,其加工需要用到枪弹生产中应用最广泛的一种工艺——“引伸加工”,生产不同形状和壁厚的零件,只要改变模具的形状和尺寸即可。由于枪弹生产有对精度和一致性要求极高的特点,零件的尺寸基本上是靠模具来保证的,而且批量很大,一旦出现偏差就会造成大量废品,因此对模具的制造和安装都有很高的要求,每一环节都要严格把关,及时剔除不合格品并调整机床。
国产枪弹一般选用覆铜钢带做为弹头壳(或称弹头被甲)的毛坯材料,国外也有使用黄铜或圆钢做毛坯的。以覆铜钢带为毛坯料的弹头壳生产过程为:下料冲盂→外观检选→退火、酸洗→引伸→冲尖→挤口兼扩口。退火处理是为了消除加工中毛坯因剧烈变形产生的冷作硬化,酸洗则是为了去掉退火时毛坯表面的氧化皮。引伸加工使从覆铜钢带或圆钢上下料成的钢盂直径变小、壁厚减薄,单模引伸工艺一次加工变形量小,目前广泛采用的是多模引伸,在一个冲程内即可获得比较大的变形量。冲尖是弹头壳生产中的另一种特种冲压工艺,目的是为了冲出弹丸尖部的弧形尺寸。由于加工后弹头壳尾部留有一定的余量,需要用切刀对其进行切除,或用挤口模去除多余部分,后者同时还可以利用冲头上的斜面对弹头壳尾部进行扩口,方便以后装配弹心,提高了生产效率和产品尺寸的一致性。原苏联这部分的工艺需要冲尖4次,挤口和扩口是两道工序,而且以前挤口采用切口工艺,比较繁琐。国内在生产56式步枪弹的过程中,逐渐积累形成了一套适合我国国情的加工方法,弹头壳的冲尖次数改为现行的2次,并由以前的单模引伸改为多模引伸。经过上述工序并经检验合格的弹头壳,即可用来装配弹头。
![]() |
多模引伸工艺生产弹头壳时常用的三种引伸模具:A模为带导向部分的整体模,其中a为内模、b为外模,内模又可分为4个部分(1为导向部分,2为锥形部分,3为圆柱部分,4为底部倒锥部分),内模一般用硬质合金制造,外模用工具钢制造。 这种模具结构简单,适用于上模也可用于下模;B模为带有导向部分的组合模,其中a为导圈,b为内模,c为外模,导圈用于代替模A的导向部分,其特点是加工比较简单;C模为不带导向部分的模具。用于引伸的中模或下模。 |
![]() |
金属引伸加工原理示意图:1-冲头;2-钢盂;3-模具。引伸模的主要作用是使从覆铜钢带或圆钢上下料冲成的钢盂直径变小、壁厚减薄,逐渐使其符合图纸要求的形状和尺寸。 |
56式普通弹头内另一个主要零件是钢心,采用低碳钢制造,目的除节约铅外,还可以提高弹丸的侵彻力。国内最早生产的56弹头其钢心头部为平顶锥形,生产时模具损耗大,后来改为平顶弧形,大大提高了模具寿命。钢心生产的工序一般为:圆钢冷拔→下料→冲形→辊光→校量。其中圆钢的冷拔一般在钢厂内进行,然后利用冲床冷剪下料。辊光的目的是利于弹心的装配,同时还需要对尺寸和质量进行校量,合格后的钢心才能进入下一道工序。
56式普通弹头在被甲和钢芯之间设有铅套,其作用是减缓弹丸对膛线的磨损,同时使钢心和被甲结合紧密。由于铅质软,而且熔点和再结晶温度较低,在室温下加工时不会产生硬化,因此采用挤压法来制造。因铅件在装配时会进一步变形,从而影响弹头的对称性、密实性和重心位置等,所以控制好各部分的尺寸是铅件加工的难点。普通弹铅套尖端往往留有一个小圆柱或尖锥,其目的是为了在装配时更容易充满弹头壳的尖部,使弹头内各个零件结合紧密。56式普通弹弹心的一般加工工序为:熔铅→挤铅条→在多工位冲床上挤压成铅套→钢心压入铅套→烘干→外观检验。挤铅条是把配制好的铅锑合金块挤压成尺寸合适的铅条,并盘在辊轮上备用。在多工位冲床上挤压成型是弹头铅件加工最重要的步骤,由于铅套的形状比较复杂,且对外形尺寸和壁厚都有严格要求,所以铅套一般要经过2-3次挤压才能成形,而全铅弹心只需下料后在模具内一次挤压即可成形。钢心压入铅套这一工序的难点是严格控制钢心装入铅套的深度,过深或过浅都会影响射击精度。烘干的目的是去除挤压时润滑铅套用的肥皂水,防止钢心生锈。
![]() |
弹头壳生产中常用冲尖模具(1为外模,2为内模)。A模为一次冲尖模,B模为末前次冲尖模,C模为末次冲尖模。一般的枪弹弹头壳只用A和C两种冲尖模即可,但是有时为了保证弹头尖部的弧形尺寸,还要用到B型冲尖模。A、B模顶部有小孔,利于润滑液和空气排出,保证弹尖部尺寸。冲尖过程中最容易发生的故障是冲穿毛坯,这与材料的塑性、模具和冲头的设计以及一次加工变形量大小有关。所以在第一次冲尖时,冲头尖部的圆弧半径比较大,且冲尖的高度不高,可以有效避免冲穿毛坯。 |
![]() |
56式普通弹弹头生产中使用的钢心冲形模。其中A为冲形模,B为冲压成形的钢心,1为模套,2为内模。模套一般用工具钢制造,内模用硬质合金制造。 |
![]() |
弹头常用各种铅件外形图:a-普通弹用铅套;b-穿甲燃烧弹用铅套(图中实线部分为成品形状,点划线部分为加工成形后切除的部分);c-特种弹用铅套;d、e-特种弹中使用的铅碗;f-铅垫;g-各种不同的弹头铅心。 |
弹头装配是将弹心或其它零件依次装入弹头壳,并对弹头壳尾部加工,使弹头的外形尺寸和质量达到图纸要求的过程。装配质量的高低直接影响枪弹射击的精度。国内在长期生产56式普通弹的过程中,摸索出一套完整的提高射击密集度的弹头装配方法:
1、对影响射击精度的重要尺寸严格要求,其他尺寸分类管理,根据不同的公差范围分别装配成弹头;
2、依靠模具和合理的加工工艺,保证弹头的对称性;
3、弹头内零件装配紧密,消除松动和间隙。
56式普通弹头装配的过程为:弹心压入→尾锥部预压→底部卷边→尾锥部成形→过径→辊沟→尺寸校量→称量→外观检选。主要装配设备是多工位自动冲床。尾锥部预压就是将弹心压入弹头壳后的圆柱部压成一定长度的尾锥,为弹底卷边和尾锥部的成型创造条件,同时防止弹心反弹出打坏工装设备。为了保证弹头尾锥与弹头圆柱部分的同轴度,一般是用冲头推弹头头部使尾部进入收尾锥模进行收尾锥的,弹头在终压工序后要掉转180度才能送入收尾锥的工序,进入尾部卷边工序时又要掉转180度。尾锥成型是将卷边后的弹头尾锥和弹底窝最终成型,经过这道工序后的弹头,除了圆柱部分直径和辊沟外其余已基本符合图纸要求。弹头过径的目的是为了消除装配过程中弹头圆柱部“起箍”的现象,同时使弹头圆柱部分沿长度方向上尺寸一致,弹头内部零件结合更紧密。过径后的弹头即可送去辊紧口沟,56式普通弹的紧口沟为三角形,现已由单独的辊沟机改进为辊沟机与弹头装配机联动,过径完毕的弹头直接送辊沟机辊沟,出来的即为加工完毕的弹头。
|
|
|
56式普通弹头生产和装配过程。其中A1→A3为钢心加工过程,B1→B5为铅套生产过程。A4为钢心压入铅套,C1→C3为用圆钢下料制造弹头壳的过程。D1→D2为用覆铜钢板制造弹头壳的过程,C3→C4为挤盂,D2→C4为冲盂,C4→C8为弹头壳加工成型过程,A5→A9为弹头装配成型过程。 |
![]() |
弹头装配组合模具示意图: A、终压工序; B、尾锥部预压; C、尾部卷边; D、尾锥成型工序; E、弹头过径。 过径后的弹头即可送去辊紧口沟。 |
弹头加工的最后工序为:滚光→尺寸校量→重量校量→外观检选。若是特种弹头,最后还要进行弹尖着色。滚光是为了除去弹头表面的油污和氧化膜等,使弹头表面洁净光亮,便于检选和全弹装配。滚光机一般是由电机带动的旋转木筒,内装碎纸屑或稻壳等,弹头在筒内与其一同翻滚摩擦而被抛光。尺寸校量对弹头长度进行100%检验,对直径、滚口沟直径及高度、尾锥尺寸等仅做抽检,这是因为只要机床和模具调整合适,这些尺寸不易出问题,但弹头长度由于制造误差累积偏差可能会比较大,必须100%检验。其检验是在尺寸校量机上完成的,通过调整校量刀片的尺寸自动把超过允许误差范围的弹头剔出,有时为保证精度还要对检选出的合格弹头进行抽检,手工量取尺寸。重量校量是用称量机剔除过轻和过重的弹头,并且对合格弹头按重量分类送至成弹装配车间装配,对于在误差范围内的轻重弹头,可以通过适当增减发射药来保证枪弹性能基本不变,以避免过多废品的产生。最后一道工序为外观检选,这也是弹头生产中劳动强度最大的一道工序,因为弹头的某些弊病如表面线痕、褶皱、锈迹、油污、指印、弹底压坏、辊沟不全等缺陷无法用机床来识别,只能靠目视检选。一般由工厂制定一个标本,超过标本的即不合格。弹头外观的检选一般由外观检选机进行,在机床的进货漏斗中加满待检选的弹头,弹头从漏斗中落到丝杆上并被带动旋转,以便观察弹头各个部分,发现不合格的手工剔除,合格弹头被丝杆带到收集箱里。在弹头检选时操作者必须带口罩和手套,并及时更换。至此弹头加工才真正完成,最后的合格弹头还要再进行全面的质量抽查,由此可看出枪弹生产的复杂性与严谨性。
弹壳的制造
弹壳是枪弹上最重要的零件,它用于盛装发射药,并且把弹头和底火连接在一起,发射时还要承受火药气体压力和枪械自动机的力量。国内目前制造的56式步枪普通弹弹壳材料分为覆铜钢和深冲优质碳素钢的两种,早期则和国外一样采用黄铜材料。国产56弹壳由黄铜改为覆铜钢和涂漆钢制造,对于我国这样一个铜资源缺乏的国度是有战略意义的,不仅节约成本,同时也避免了战时进口铜料中断的潜在风险。国内在加工工艺上也有显著改进,如目前钢弹壳生产过程中可以做到引伸加工中间不退火,一次加工率超过85%,弹壳引伸次数减少70%以上;设备也由以前的单工位、单冲头、低转数改为目前的多工位、多冲头、高转速,大大提高了生产效率;同时毛坯的改进也明显提高了材料利用率,对降低成本效果非常明显。
国内目前采用的由两种不同材料生产弹壳的工艺路线如图12和13所示,图12采用覆铜钢板,图13采用深冲优质碳素钢棒。图中可以看出前者生产工艺要简单一些,但是覆铜钢价格相对较贵,且都为板材,利用率比较低,不仅仍需消耗铜,而且很难回收再利用。采用深冲优质碳素钢棒材料的生产工艺虽复杂,且对模具和机床的要求比较高,但不用铜,材料廉价且利用率很高,经济性好,更适合国情。
![]() 图12:采用覆铜钢板生产弹壳的工序图 |
![]() 图13:采用深冲优质碳素钢棒生产弹壳的工序图 |
![]() |
采用覆铜钢板生产弹壳钢盂时的下料冲盂示意图。这种机床的冲头为空心结构,外面为下料剪刀,内部为冲盂冲头,模具分上下两部分,上部分为下料模,下部分为冲盂模。下料剪刀从覆铜钢板上冲下圆片状毛坯,接着内部的冲盂冲头继续下降将圆片状毛坯推进冲盂模冲成钢盂,并被刮料卡刮下落入收集盒。A图中1-冲盂冲,2-下料剪刀,3-覆铜钢板,4-下料冲盂模;B图为下料剪刀从覆铜钢板上冲下圆片;C图为冲盂冲继续运动把冲下的圆片挤成钢盂。 |
![]() |
钢件冷挤压工艺种类示意圈。其中A-正挤压,B-反挤压,C-复合挤压。正挤压,其金属流动的方向与冲头方向相同;反挤压正好相反,其金属流动的方向与冲头方向相反;复合挤压为以上两种方法的综合应用。在弹壳的生产中基本上都是采用反挤压方法来制造钢盂,优点是挤压力小、成型精度好。 |
![]() |
采用深冲优质碳素钢生产弹壳钢盂的挤盂示意图。 1-模座;2-螺帽;3-退货卡子;4-挤盂模;5-挤盂模垫铁;6-顶杆;7-挤盂模底冲;8-钢盂;9-挤盂模底垫;10-挤盂冲。 |
![]() |
弹壳生产常用引伸模具可分为A、B、C三大类。 A中1-模套,2-导圈,3-内模,这种引伸模多用于上模; B中1-模套,2-中套,3-内模; C中1-模套。2-内模。 B模和C模一般用于下模,引伸模内模一般用硬质合金制造,其余一般用碳素工具钢制造。 |
仔细比较可以发现,两种工艺路线除了加工成钢盂之前的工序相异外,其余大多一致。其差别是碳素钢材料在引伸前要多一道磷化和皂化工艺,这主要是因为其毛坯上没有象覆铜钢上的铜层那样的加工润滑面。国内生产56式覆铜钢弹壳时,一般采用7冲下料冲盂模加工钢盂,下料和冲盂在一台机床和一个冲程中完成,且由于是多冲头,生产率较高。而采用碳素钢棒料加工钢孟稍微复杂一些,一般是先用冲床把棒料冷剪成小段圆柱状毛坯,再将两端墩平,经过退火和磷化、皂化后,送到封闭模具内,通过挤压工艺加工成钢盂。由于其变形量大,加工力和温度较高,对模具的要求也很高。在弹壳生产中基本上都采用反挤压法来制造钢盂,优点是挤压力小,成型精度好。加工成钢盂后,两种生产路线下一步的加工都是引伸,相同的是都要退火一次,但覆铜钢钢盂引伸后表面不需特殊处理,而碳素钢钢盂则需要进行表面磷化、皂化,但也有厂家不经处理直接进行二引。由于国内在弹壳引伸加工中广泛采用我国特有的多模引伸技术,所以一次的加工变形量大,象56式弹壳只需引伸2次即可达到所需要的高度和壁厚。经过引伸加工的钢盂口部一般不很平整,且高度比较高,一般要把口部多余的一部分除去,方法通常有挤口和切口两种。挤口一般用在大口径弹壳上,而56式弹壳口部较薄,适用切口法除去口部余量。切口一般是在切口机上完成的,目前已经有可以同时切4个零件的切口机,生产效率很高。切完口的弹壳毛坯还要进行打凹和平底,前者初步形成底火室、火台及底火室口部圆角,后者最终形成底火室各个部分的尺寸,并保证一定的精度,同时还要在弹壳底面压上相应的厂号、年份等标记。由于弹壳底部要有较高强度以承受发射时的各种力量,打凹与平底后该部位一般不再退火。冲传火孔为单独工序,一般由专用的冲传火孔模和冲头完成,其中冲头头部为两个细小的冲针,以便在火台旁冲出对称的两个传火孔,以提高发火率。接下来将进入收口工序。两种材料的弹壳收口前都须经过烧口,即对引伸加工过的钢盂口部进行退火,在收口时可以减小变形力,防止产生裂纹。56式弹壳收口采取“拉口”的方法,收口后要进行表面处理,防止润滑液使底火室内生锈。下道工序为齐口和车底,齐口是去除壳口多余部分,保证弹壳总长,车底是车出拉壳钩槽,两者在同一台机床上完成,分别由齐口刀和车底成形刀车削而成。经过齐口、车底的弹壳其尺寸已满足图纸要求,至此弹壳的机械加工全部完成。
![]() |
弹壳收口模和拉口冲示意图。A为收口模具组合,其中1-退货顶杆,2-收口冲,3-收口模具,根据收口冲是否运动,还可以分为固定式收口冲和非固定式收口冲两种(图中为固定式)。前者弹壳口部内径由收口冲来保证,且收口后口部的壁厚不减薄,其优点是工具损伤小,使用寿命长,模具结构和机床运动比较简单。一般在大口径弹壳上应用比较多。 B、C为拉口冲,其工作过程是拉口冲先进入模具内。待弹壳收口完成后再从弹壳口部拉出,由于冲头上有一端直径比较大。在拉出后会将弹壳口部壁厚减薄,这种加工方法的优点是口部的内径和壁厚比较均匀,内壁的光洁度较高,多用于中小口径步枪弹。 |
![]() |
弹壳生产中常用的三种收口模具。A为双层组合嵌套结构,模具结构简单。制造容易,多用于56式步枪弹和手枪弹等收口力较小的弹壳。B为三层组合镶套模,其强度比较好。多用于收口力较大的弹壳。C为双层分段带套圈的组合嵌套模。这种模具结构复杂,但强度高,且模具分为上下两段。故翻修方便,同时在模具下端弹壳收口斜肩部位还径向开有4个排气孔,所以这种结构模具适用于收口力较大的弹壳以及需要两次或两次以上收口的弹壳,国内多用于大口径机枪弹弹壳的生产。 |
![]() |
弹壳生产所用的两种齐口车刀。其中A为菱体形,制造简单,使用方便,一般使用高速钢制成,多用于中小口径枪弹弹壳的加工;B为简形,结构比较复杂,多用硬质合金制成,主要用于大口径枪弹弹壳的齐口加工,其加工端面的质量较好。刀头也比较耐用。 |
![]() |
弹壳生产所用的三种车底成形车刀。其中A和B为圆盘成形刀,A多用于小口径枪弹弹壳。B用于大口径枪弹弹壳;C为菱形成形刀,也用于大口径枪弹弹壳。 |
下一工序为校量,这也是弹壳生产中重要的一道关口,对弹壳重要尺寸一般要进行100%校量,剔除不合格品,对于可修复的超差品,经返工、检验合格后与同批弹壳发往下道工序。56式弹壳采用递进式校量机校量,可通过机械放大的原理对弹壳长短、底缘直径、火台深度、底火室直径、底缘厚薄、口部直径和全形大小等9个尺寸依次进行校量。合格弹壳还需要一道光电检孔的工序,目的是剔除没有传火孔或传火孔堵塞的弹壳。对校量合格者,如果是覆铜钢弹壳,还要对弹壳拉壳钩槽进行磷化和涂漆,如果是钢弹壳,则在磷化后进行电泳涂漆。完成以后即进入外观检选工序,与弹头检选操作和方法一致,也是通过检选机带动,然后手工检选。至此弹壳的全部加工方告结束,但还要对弹壳的各个方面尺寸和射击性能进行全面抽验,如果发现问题,则需加倍复验,验收合格的弹壳才可转入成弹的装配。经过这样复杂的生产过程后,仅仅得到了合格的弹头和弹壳,下面才能进行全弹的装配,绝不象《战争之王》开头所表现的那样,只经过简单的几步就形成了一颗成品枪弹。
![]() |
|
弹壳生产各个工序加工变形示意图。A1→A4为用深冲优质碳素钢棒材料加工钢盂的变形过程,B1→B3为用覆铜钢板制造钢盂的加工变形过程,A5→A12为钢盂加工成弹壳的过程。其中A5-一次引伸,A6-二次引伸、打凹。A7-切口或挤口和压底,A8-冲传火孔,A9-烧口,A10-收口,A11-车底和齐口,A12-弹壳表面处理。 |

冷轧黄铜板下料后的边角料,其材料利用率较圆棒毛坯低

黄铜弹壳制造时的初始步骤。从左至右分别是:下料后的圆板、首次冲盂形成的铜盂、一次引伸后的铜盂

黄铜弹壳底部的加工流程与文中所述基本类似。从左至右分别是:经过二次引伸的铜盂、打凹、平底并冲底火室、冲传火子L、车底、装入底火
成弹装配
成弹装配是枪弹生产过程中最后一个环节,也是最终决定枪弹质量好坏的重要工序,特别是其中涉及到火工品和发射药的装配,稍有疏忽,就会造成大量的废品或重大安全事故,因此这一阶段的生产需要特别注意质量与安全。枪弹装配一般是在具有抗爆性能的相互隔离的小房间里生产的,房间内发射药和其他火工品不能存放过多,成弹也不能过多积存,要及时运送到下道工序,机床必须及时擦拭,扫除洒落的发射药或其他火工品等,以防发生安全事故。

![]() |
枪弹装配步骤示意图。1-底火;2-弹壳;3-压装好底火的弹壳;4-点胶和内涂口工序(a-点胶冲,b-内涂口冲);5-装药工序(c-药门);6-探药工序(d-探药冲);7-装弹头及罩口工序(e-装弹头冲,f-装弹头模,g-弹头) |
国产56式步枪普通弹的装配过程一般可以分成两大部分,第一步是装底火、校量、点胶和内涂口,第二步为装发射药、弹头以及弹头的紧口等,接下来才是对枪弹的校量、检验、密封和检选。枪弹装底火一般是在上底火组合机床上完成的,这种设备可以连续完成装底火、校量、点胶和内涂口工序。装底火的深度根据选择基准不同而有一定区别,有的是用弹壳底缘厚度定位,装底火的精度取决于弹壳底缘加工的精度,另一种是以底火冲和装底火模具来定位的,精度取决于冲头和模具的精度,相比较而言后一种方式精度更高,国产56式普通弹即采取后者。底火装完以后需要对装入的深度进行校量,剔除装入过深或过浅的弹壳,校量的方法包括机械校量和电校量,前者仍是杠杆放大原理,后者则是利用冲头相对电磁铁的位移来校量底火装入深度的。校量完的弹壳在底火与弹壳之间涂布密封漆,称为“点胶”,目的是使枪弹长期储存不至于受潮变质。其方式有两种,一种是在底火表面全部涂漆,另一种只是在底火与底火室接缝处涂漆。前者工艺设备简单,缺点是浪费漆液,而且有时漆会流至弹壳体部、影响外观,另外有时脱落的漆膜会堵塞枪械的击针孔,因此国产弹多使用后一种方式。密封漆一般选用防腐漆、硝基清漆或防腐漆和虫胶漆的混合物,有时为区分弹种还要将漆染成不同的颜色,如国产56式曳光弹底火部分全涂绿漆,普通弹根据生产厂家不同密封漆的成份和颜色也各不相同。底火点胶后弹壳即被送去内涂口,其目的是保证枪弹的密封性,防止水份从弹头和弹壳的结合部位渗入使发射药和底火变质。其方法是在弹壳口部内壁涂上一层特制的具有一定粘性的沥青漆,宽约2~4毫米,弹头装入弹壳时,受到弹头底部的挤压,在弹头底部与弹壳内壁四周形成一个致密的密封圈。内涂口后一般要将弹壳晾一段时间,以使漆膜表面变硬,不至于粘挂发射药药粒,同时又不能完全干透,否则就不能形成完整的密封圈。经过以上各工序的弹壳,经检验合格后送往成弹装配车间。
|
|
成弹装配一般使用枪弹组合装配机床,装配的成弹应当满足5个条件:
1、发射药性能稳定,没有杂质,并且能正确地分批使用;
2、装药量正确;
3、拔弹力均匀;
4、长度在规定范围内;
5、弹壳和弹体表面不能有因装配形成的损伤。
枪弹装配前,需要先将合格的弹头和弹壳装入机床的货盘内,发射药需要过筛后装入储药罐。枪弹装配时先装发射药,而且对发射药的装填量要求很准确,由于实际生产中不可能每发枪弹都精确称量好发射药后再装填,实际工业生产中是根据体积定量法来确定装药量的,枪弹装配机床上有一个可以调节的滑块,称为“药门”,通过它来增减装药体积进而起到调整装药量的作用,该装置加工精度和表面光洁度都很高,生产过程中还需要经常调整与擦拭。一般从火药生产厂运来的发射药需要通过试装射击实验,以确定该批药所需的精确装药量,相应地调整机床上的药门来保证装药量准确。发射药装好后还要进行“探药”,防止有漏装或少装发射药的情况发生。合格后即可送至下一工位装配弹头。装弹头一般是在枪弹装配模内由装弹头冲完成,有的枪弹为了提高拔弹力还要进行“罩口”,即使弹壳口部卷进弹头紧口沟内,56式普通弹是在枪弹装配模内相对于弹壳口部位置的内壁上加工一个向内的斜面,当弹壳进入模内后,其口部会在斜面的作用下被压入弹头紧口沟内。由于枪弹采用内涂口后可以提高拔弹力,所以目前枪弹生产制造中有取消弹头紧口沟和“罩口”工序的趋势。
![]() |
枪弹底火全点胶工具示意图。1-胶盒;2-点胶嘴盖;3-弹簧;4-点胶嘴;5-点胶冲。具体点胶的过程为装有底火的弹壳向上由机床上的工具带动进入点胶工位,胶壶下降,点胶冲受到底火的挤压被压回,漆液即流到底火上和底火周围。 |
![]() |
枪弹底火周围点胶工具示意图。1-皮带轮;2-主轴;3-点胶冲;4、7-摆杆;5、6-凸轮;8-胶盒;9-胶刷。其工作原理为:皮带轮1带动主轴旋转,主轴头部有个环状点胶冲3,同时凸轮5使摆杆4带动主轴上下运动,另一个凸轮6使摆杆7摆动,当摆杆往下时胶刷9在胶盒8中蘸漆,当摆杆往上运动时胶刷把胶刷在点胶冲上,当主轴向下时点胶冲即在弹壳底火周围点胶。 |
|
|
|
|
枪弹装配完毕以后还要对重量和全形进行校量,称为称量和合膛。这道工序一般是在称量合膛机上完成的,其目的是剔除重量以及全形不符合要求的枪弹。56式普通弹在装配完成后,必须100%进行称量和合膛的检验,剔除的不合格品要及时销毁,但对于废弹上可利用的零件要分类重新利用。检验合格的枪弹还要在弹壳的口部再涂一圈密封漆,也叫外涂口,以进一步提高枪弹的密封性能,对覆铜钢壳枪弹来说,也是对弹壳口部外露的钢质部分起到防锈作用。外涂口不作为一个单独的工序,一般与枪弹称量与合膛机联合使用,经过称量与合膛的枪弹被送入外涂口装置,此时枪弹被带动轮带动旋转,同时转动的涂口轮将弹壳口部涂上密封漆,然后下一发枪弹将涂过口的枪弹推到一个旋转的丝杠上进行自然干燥,并送入货箱。为了提高枪弹表面光洁度,还要经过一个枪弹滚光工序,具体与弹头和弹壳的滚光类似。至此枪弹的全部加工与装配工作才完成,然后进行外观检选,与前述弹头、弹壳外观检选相同,也是靠人工操作,但检验要相对严格一些。经过检选和剔除将生产出的成品弹分成4大类:
1、良品,即合格品;
2、可修复品,修复后一同发往同批枪弹进行包装;
3、超差品,弊病程度超过样本允许范围,但仍可使用,不过一般情况下不得作为战斗用弹;
4、废品,一般拆开后回收发射药和可用的零件如弹头等,不能利用的则积存到一定量以后销毁。
经过检选这道最后关口,一颗闪闪发光的全新枪弹才算正式“出炉”。而《战争之王》里关于这一环节也是写意性质的,连手套与口罩都没有戴的工人随意拾起传送带上的子弹,这显然是违反操作规程的,而且片中检验者也只挑选了少数几枚子弹检验,这更不合理,因为外观检选和称量、合膛工序一样,必须是100%进行的。
包装和验收
枪弹包装是枪弹出厂前的最后一个工序,虽然这与枪弹制造本身没有太大的关系,但对枪弹长期储存性能还有运输、使用的方便性有很大影响,所以绝不能等闲视之。56式枪弹和其它国产军用枪弹一样,通常采用铁皮匣加木箱的包装方式,每个木箱内装两个铁匣。我国生产的56式普通弹分为带桥夹的与不带桥夹的两种,带桥夹的是将枪弹装在10发桥夹上,再以牛皮纸包装成30发一包,然后装入铁匣,每匣550发,每箱1100发,不带桥夹的是将枪弹每20发或25发分装成一个纸包,再装入铁匣,每铁匣720发,每箱1440发。包装枪弹的铁匣一般用0.5毫米厚的镀锌薄钢板以双层咬合工艺制成,早期的铁匣开启时必需用随附的“钥匙”,较为不便,后期铁匣开启方法则有多种改进。枪弹包装木箱用木材和胶合板(早期的全部用木材)以突笋咬合成型,再加钢钉固定,箱体表面印字,内容包括枪弹型号、名称、材料、数量、发射药批次、毛重等等。装箱后枪弹的包装工序全部完成。而象《战争之王》那样把枪弹全部散放在木箱内的做法显然是不科学的,因为枪弹相互间的摩擦和磕碰会将弹壳表面的防锈材料磨掉,容易锈蚀,或者造成弹壳变形和弹头松动,同时也不利于防潮和长期储存。
虽然枪弹的生产和包装都已完成,但是这并不代表它们就可以立即出厂,在此之前还必须拿到“通行证”,那就是由驻厂军代表最后对枪弹的所有相关性能进行全面验收。一般根据批次和数量来确定抽验的数量,其内容很多,一般包括外观验收、尺寸和重量的检验、拔弹力、装药量、枪弹密封性、涂漆钢弹壳漆膜完质量检验、枪弹震动试验、枪弹射击试验,后者又包括弹头初速、最大膛压、枪弹精度、弹头破裂试验等,对特种弹头还要进行穿甲、燃烧、曳光等性能的测定,以及测定弹壳强度、枪械动作灵活性和对包装质量的检验。当这些检验全部通过或合格以后,枪弹的整个生产过程才算真正意义上的结束,可以出厂并发往订货单位,去完成它们作为枪弹最终的宿命。


枪弹包装在牛皮纸袋内,然后再放在铁匣里,两个铁匣再放在一个木箱内,所以真正的枪弹包装并不像《战争之王》那样的简单
结语
通过以上介绍,相信读者们对军用枪弹的生产应该有了一个全新认识。不过这里介绍的仅仅是枪弹大家族中最平淡无奇的普通弹,工艺流程也并非全貌,只是其中最主要的一部分。对于某些特种弹的生产过程也并未涉及,但可以肯定的是,后者一定比上面所介绍的更加复杂。
|
资料来源:作者:三土、明光授权转载,原刊载于《轻兵器》2006年6月 |
2008-03-05 |