| <<Steyr |
Steyr ACR |
|
| →ACR计划 |
AAI ACR ◆ Colt ACR ◆ Steyr ACR ◆ H&K ACR ◆ ARES AIWS ◆ MDHC AIWS |
|
|
口径: 5.56mm SCF箭形弹 |

斯太尔ACR是美国先进战斗步枪(Advanced Combat Rifle)计划的4种候选方案之一,在通过了阿伯丁试验场的安全与工程试验后,又参加了在本宁堡步兵学校的野战评估试验。但所有4个方案都没有达到命中率比M16A2步枪提高100%的要求,ACR计划被中止。
由于ACR计划的基本要求是要在战场压力下提高命中率,4种候选方案都是从新型弹药入手,斯太尔选择的突破口是箭形弹。箭形弹技术原本在1960年代美国陆军试验SPIW计划时就曾采用过,但当时箭形弹的概念失败了。斯太尔ACR重新尝试箭形弹技术,并取得了一定的成功。
该弹名义上是5.56mm口径,采用简单的圆筒形塑料弹壳。箭形弹(或飞镳)通过四瓣式弹托定位完全埋在弹壳内。高碳钢箭形弹直径约1.5mm(0.6英寸),长约41mm(1.6英寸),重0.66克(多数资料为10格令,据说准确的重量是9.85格令)。塑料弹壳没有底缘或者拉壳沟槽,环形底火紧贴在弹壳内壁上。箭形弹的重量很轻,比SS109弹轻了一半,在相同负重条件下每名战斗成员携带的弹药可成倍地增加,但箭形弹更重要的优势是速度,斯太尔ACR发射时枪口初速达到1450m/s(4750 fps),在600米时的存速仍然有910m/s(2980 fps),据说可穿透钢板和当时已有的防弹衣。而且弹道极为平直,后坐力也低。



箭形弹结构图

斯太尔箭形弹与其他口径的比较:1-7.62×51mm NATO;2-7.62×39mm;3-5.56×45mm NATO;4-4.7mm HK无壳弹;5-5.56mm SCF斯太尔箭型弹
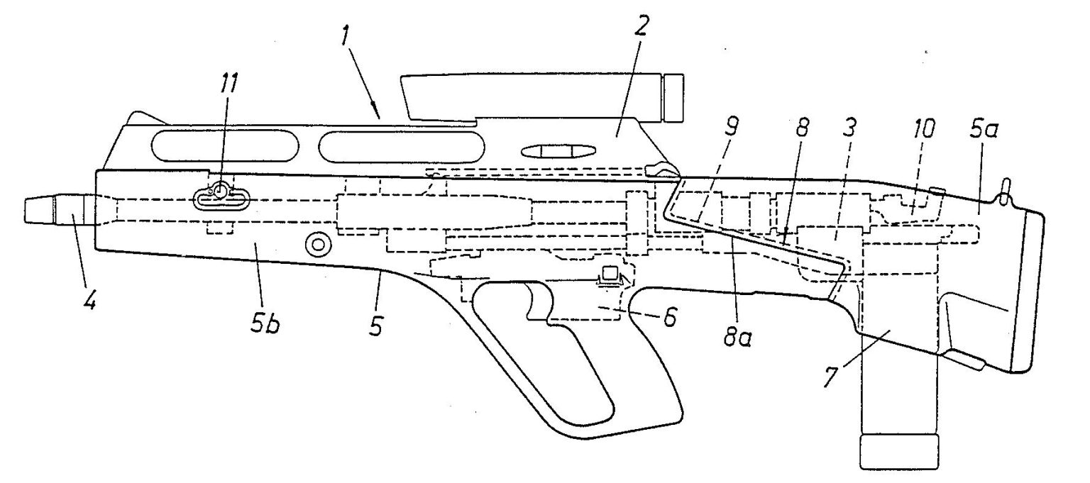
为了发射这种独特的枪弹,斯太尔ACR也采用了独特的设计。名义上枪管口径是5.56mm,有一段非常慢的膛线使箭形弹稳定,让箭形弹依靠自己的小尾翼来保持飞行的稳定。起落式枪机是斯太尔ACR最大的特点,这是一个可以上下活动的独立弹膛,由导气系统驱动,导气活塞是环形结构,套在枪管外表。其动作过程如下:
首先,当弹膛是空的时候,先用手拉动拉机柄待击第一发弹。此时弹膛位置向下移动,与弹匣中最高一发弹结合,导气活塞和活塞杆留在最后的位置。当扣压板机时,活塞杆和导气活塞被释放并在复进簧的压力下向前移动。在这个运动中,首先,由特殊的撞锤把第一发弹从弹匣向前推进弹膛中,然后在凸轮和弹膛复进簧的作用下,把装有枪弹的弹膛上升到最高位置。在弹膛与枪管成一轴线时,固定击针通过弹膛顶端的孔进入并穿透弹壳壁,从而击发底火并发射枪弹。当箭形弹通过导气孔时,一些火药燃气开始推动导气活塞向后,通过活塞杆和凸轮,把带着空弹壳的弹膛从枪管上降低并重新落到弹匣上。然后撞锤会把弹匣中的下一发弹推进弹膛内,新的枪弹进入弹膛时会把留在弹膛内的空弹壳向前顶出,空弹壳从前面的抛壳口推出。接着再继续上述的射击循环。总之,装填后的弹膛是留在最下面的位置,等待下一次扣板机才开始上升。抛壳口位于步枪底,在弹匣前方,这样也就解决了无托枪的另一个问题——不需要改变抛壳方向就能换手射击。由于这种特殊的抛壳方式不需要拉壳钩,所以弹壳了就不需要底缘。

斯太尔ACR的结构及原理

除了上述特征,斯太尔ACR的外形很简洁,整体式聚合物外壳的前半段像一个圆筒,中间下方有AUG式的握把,顶部有安装机械瞄具的提把,但标配1.5~3.5倍的变倍光学瞄准镜。贯穿式快慢机有保险、 单发和3发点射3个位置。24发双排弹匣采用半透明塑料制成,方便射手观察弹匣余弹量。斯太尔ACR不用工具就可以进行分解。由于无托结构,全长只有30.7英寸,比M16A2短了25%。整枪采用大量的高强度合成材料和模块化结构,便于维护和后勤供应。
斯太尔ACR主要的缺点,如美国测试所显示,是枪弹由于箭形弹的塑料弹壳强度容易变形导致膛压的改变。改变压力是指改变枪口初速和弹道的改变,所以准确性受影响。然而,这通过试验不同的材料和组合方法能得到解决,而且它可能已经被斯太尔解决了,预备提供步枪给下一个申请者。
在ACR试验中该武器运作得很好,只是有两个主要问题需要解决。一是箭形弹的塑料弹壳强度不足,容易受到外力而变形,结果射击时会导致膛压改变,结果影响了枪口初速和弹道的改变,因而影响了射击精度的稳定性。这个问题可以通过试验不同的材料和组合方法来到解决,也许斯太尔可能已经解决了,作为技术储备了。另一个问题则较难解决,弹托在飞出枪管时就会散开,但这样可能危及附近的士兵,或者在射手贴地射击时可能会反弹。此外还有一个次要的问题,就是抛壳口的位置,如果射手没有戴上手套,可能会被弹壳灼伤手腕。
斯太尔ACR由于有极高的弹速,在实际射程内的飞行时间非常短(打到300米大约需时0.2秒),而且弹道平直,几乎达到光线枪的表现,射手射击前不需要考虑太多提前量和弹道高的计算——就是说,即使目标在高速运动中,只要瞄准了也很容易命中。斯太尔ACR有好杀伤力和穿甲能力,而且射击后坐很低。但这样的优点仍不足以达到M16A2双倍命中率的表现,其他3种方案也是如此,因此ACR计划才被放弃。直到现在,斯太尔ACR还保留在原型阶段,连试产都没有,因而上述的问题也没有机会得到解决。
| 全枪长 | 765 mm |
| 枪管长 | 540 mm |
| 空枪重 | 3.23 kg |
| 弹匣容量 | 24 rds |
| 膛线缠距 | 2160 mm |


握把上方的贯穿型快慢机,当向左侧推出1个红点时是半自动,推出3个红点时是3发点射,而向右侧推出1个白点时是保险


提把上方的T形拉机柄


弹匣前面的长孔就是抛壳口

斯太尔ACR配用的双排单进弹匣,在弹匣插口前方的长孔就是抛壳口






|
概述 ◆ AAI ACR ◆ Colt ACR ◆ Steyr ACR ◆ H&K ACR ◆ ARES AIWS ◆ MDHC AIWS |
| 资料来源:Modern Firearms & Ammunition |
创建2008-02-12 / 更新2023-10-13 |