| 回捷克轻武器首页 | SA Vz.58突击步枪 |
|
|
口径: 7.62×39mm |

| 视频下载内容 | 下载链接及预览图 | 格式 | 时间长度 | 容量 | 来源 |
| 用SA vz.58进行实用射击练习 | ![]() |
MPEG | 52秒 | 8.76MB | 真抱歉,忘记了 |
| 用SA vz.58进行实用射击练习(主视角) | ![]() |
MPEG | 34秒 | 5.77MB | 真抱歉,忘记了 |
捷克的SA Vz.58突击步枪系由于其外形与著名的卡拉什尼柯夫AK-47突击步枪相似而闻名于世,虽然它们的结构原理是不相同的。据说捷克人故意把Vz58设计成这个外形,是想要借用AK的名气来获得较好的销路,但在华约国家中,Vz58突击步枪算是比较少见的“原创”突击步枪之一,因为当时绝大部份华约国家都是直接采用本国仿制的苏式AK步枪的。
Vz58全称为Samopal vzor 1958,从字面翻译过来就是“1958型冲锋枪”的意思,当然我们都知道该枪实际上是一种突击步枪。比较准确的简称应该是“SA Vz.58”,但经常被简称为Sa58或Vz58,而由于它是在捷克生产的武器,因此有时又会被不正确地简称为CZ58。
Vz58突击步枪由捷克的轻武器设计师伊日·塞马克(Jiří Čermák)在1956年1月开始研制,该新枪设计项目被命名为“KOŠTĚ”,翻译成中文即“扫帚”之意。新枪在两年后即1958年就被定型和采用,很快就在位于捷克乌尔斯基·布罗德的国营兵工厂(Uhersky Brod Česká zbrojovka)投入生产。其实早在1953年,另一位捷克的枪械设计师伊曼纽尔·哈力克(Emanuel Holek)就设计了一种卡拉什尼柯夫式步枪,捷克政府还对该枪进行过试验,而塞马克是以哈力克的设计为基础进行改进,从而设计出Vz58突击步枪,也许这才是Vz58突击步枪外形与AK突击步枪相似的真正原因吧。伊曼纽尔·哈力克曾在1920年代后期设计了ZH-29自动步枪,这种半自动或可选择射击方式的自动步枪在那个年代是相当新潮的概念,当时的中国政府还采购了一小批来试用,现在在北京的中国人民革命军事博物馆轻武器展柜中就挂着一支ZH-29自动步枪。
Vz58突击步枪系列自1958年代开始成为捷克斯洛伐克军队的制式步枪,全面取代原装备的M23、M24、M25、M26冲锋枪及52式和52/57式半自动步枪,它不仅装备捷克和斯洛伐克联邦共和国的海、陆、空三军,而且还装备边防部队和民兵。
当捷克和斯洛伐克联邦共和国在1993年重新分离成两个独立国家后,捷克为了向北约靠拢,曾研制了包括突击步枪、短突击步枪和轻机枪三种型号在内的CZ-2000枪族(原称为LADA系列),并打算用这种发射5.56mm北约标准弹的新枪族来取代Vz58系列,然而由于财政困难,采购计划迟迟未能落实,结果使Vz58系列在捷克军队中服役了将近半个世纪,而且看样子还要继续服役下去。而斯洛伐克军队也是由于没有找到合适的替代品而继续使用该型武器。
除了在捷克和斯洛伐克军队使用外,Vz58突击步枪也大量出口到其他国家,在全世界有90多个国家或地区武装使用这种突击步枪。但与AK步枪相比,Vz58在全世界的数量仍然是太少,因此较少现身于战场之上。
Vz58突击步枪系列发射华约的7.62×39mm中间威力步枪弹,该系列发展至主要有以下型号:
|
SA Vz.58P |
固定枪托的步兵标准型,主要装备常规部队,早期的枪托为木制,后期改为塑料。 |
|
SA Vz.58V |
折叠式金属枪托型,主要装备装甲部队、空降部队和特种部队。 |
|
SA Vz.58Pi |
夜战型,在SA Vz.58P步枪的机匣左侧加装一个带燕尾槽的长瞄准镜座,用于安装红外夜视瞄准镜,配有两脚架,枪口上安装有锥形高效消焰器,避免在夜间射击时的枪口焰干扰夜视瞄准镜。 |
|
SA Vz.70 |
5.45×39mm口径实验型,这是在1976到1978年间研制的,该定型名称也未被证实。 |
|
CZ 858 Mk.II战术型 |
半自动民用型,采用折叠枪托,枪管长度有390mm和482mm两种。 |
![]() SA Vz.58P |
![]() SA Vz.58V |


SA Vz.58P
由于CZ-2000枪族的换装计划遥遥无期,目前捷克军方只得给现役的Vz58突击步枪进行现代化改装,例如在护木四周加上皮卡汀尼导轨并购进新型的瞄准装置,在Vz58V的钢制枪托上加上塑料制的贴腮板等。
与AK式突击步枪相同,Vz58突击步枪也是一种导气式操作的自动武器,但后者采用活塞短行程的设计,闭锁方式为闭锁卡铁摆动式(又称为楔铁起落式),击发机构则属于击锤平移式;而AK系列则为活塞长行程、回转式闭锁和回转式击锤。所以虽然外表相近,但内部结构截然不同。
Vz58突击步枪的导气装置位于枪管上面,导气活塞有独立的复进簧,后坐行程约19mm。气室下方有两个排气孔,活塞后坐16mm后就会离开气室内,气室内的火药燃气就会从排气孔泄出。活塞与枪管轴线间的中心距离小,只有19mm,能减小火药燃气作用于活塞的冲量距,对提高射击精度有利。
该枪采用摆动式闭锁卡铁系统类似于德国沃尔特P38半自动手枪的闭锁机构。枪机组件由枪机、闭锁卡铁、击针、拉壳钩、拉壳钩簧和顶销组成,闭锁卡铁铰接在枪机下方,枪机前端除有弹,底窝、推弹凸笋、拉壳钩巢和两个对称的闭锁凸笋外,在右侧凸笋前方有空仓挂机卡槽,下面的沟槽用以通过抛壳挺。另外,两侧有对称的回转轴孔,以安装闭锁卡铁的回转轴耳。两侧的导轨导引枪机在机框导槽中运动。击针孔后部是击锤伸入孔,便于击锤打击击针。拉机柄安装在机框的右侧。
![]() Vz58的枪机组外貌 |
![]() ![]() |

Vz58的枪机和闭锁卡铁:1一闭锁支承面,2一拉壳钩,3一击针,4-回转轴孔,5一闭锁斜面,6一限制面,7一开锁斜面,8一前闭锁支承面,9一后闭锁支承面,10一回转轴耳

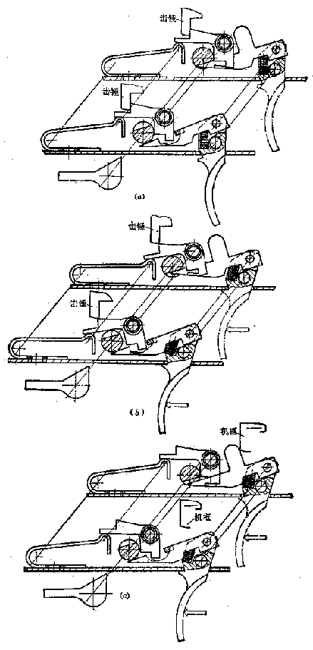
开、闭锁动作示意图:(a)开锁过程;(b)开锁状态;(c)闭锁过程;(d)闭锁状态


导气装置
枪是闭膛待击。当枪击发时,导气活塞后坐并撞击机框,机框在进行了大约22mm的自由行程后,闭锁卡铁在机框上的开锁斜面作用下,向上摆动而脱离机匣上的闭锁凹槽,由此枪机开锁,同时起到预备抽壳的作用。然后枪机组整体开始向后运动,抽出空弹壳,然后在抛壳挺的作用下抛出弹壳。当枪机组复进时再往膛内推入一颗新弹。当枪机复进到位后,机框闭锁斜面迫使闭锁卡铁向下摆动,闭锁凸笋进入机匣闭锁卡槽,此后机框继续复进,走完闭锁后的自由行程,使机框下平面挡住闭锁卡铁限制面,闭锁动作确实完成。
由于枪机组的两个运动导轨的间距较大,因此增大了机框带动枪机的力矩,使机框的能量损耗加大,影响机构动作可靠性。机框带动枪机是通过中间件闭锁卡铁来实现的,在复进时产生楔紧现象,加大摩擦阻力也影响了机构动作的可靠性,此外在推弹过程中当枪弹脱离抱弹口后易被卡在枪机导轨的下侧,增加了推弹阻力,这又是一个影响机构动作可靠性的原因。我国在1980年代曾对众多外国轻武器进行过广泛的对比试验,在对Vz58突击步枪进行浸河水试验时,每发都出现复进不到位的故障。

机匣盖、复进装置和击锤簧:1-机匣盖;2-复进簧;3-击锤簧
在该枪设计上有一个勤务性方面的缺点,如果缺了闭锁卡铁就无法闭锁,但Vz58突击步枪却能在没有闭锁卡铁的情况下进行结合和发射,而且当枪在不闭锁的情况下射击就会发生严重事故,所以士兵在分解维护后重新结合步枪时要非常小心。
Vz58的击发机构为击锤平移式(或称为击锤直动式),这种设计也不同于常见的击锤回转式设计。击锤为一中空的钢管,内内击锤簧和击锤簧导杆,导杆固定于机匣盖上,并与复进簧相平行。击锤与机框相连接,机框后座时带动击锤一起后座,机框复进后击锤则被挂在后方,待击发时阻铁下降解脱击锤,在击锤簧力作用下击锤单独沿机匣导轨向前运动,撞击击针。尺寸较大的圆柱形击针并没有弹簧,由拉壳钩尾部凸笋限制在后面,使其不能从枪机内的击针孔中脱出。击锤平移式击发机构的优点是射击时产生的跳动小,有利于提高点射精度,有一种说法是95式突击步枪独特的击发机构就是受Vz58的启发而自行研制的,虽然结构不同,但原理是相似的。
板机组的整体设计相对地简单,而且只有很少的活动部件。由(击发)阻铁、单发杆、连发杆(连发阻铁)、扳机、快慢机、组合片簧及定位片簧组成,并通过扳机轴、阻铁轴和快慢机轴连接在机匣上,再由定位片簧限制各个轴不能脱出。单发杆和连发杆系并排置放,但单发杆靠前1.6mm,连发杆则与不到位保险阻铁相连,只有在机框闭锁确实后,保险阻铁才能顶起连发杆。

Vz.58的平移式击锤:1-缺口;2-击锤;3-待发卡笋;4-导槽



发射机构零部件图:1-不到位保险阻铁传动杆;2-阻铁;3-不到位保险阻铁;4-组合片簧;5-快慢机;6-阻铁轴;7-扳机轴;8-单发杆;9-连发杆;10-扳机
|
手动保险/快慢机柄位于机匣右侧,有3个装定位置,分别为保险、单发和全自动。装在保险位置时,快慢机轴同时压下单发杆和连发杆,使它们与阻铁脱离,此时虽然扳机仍然能够扣压,但阻铁无法解脱击锤。 |
|
|
快慢机柄装定在全自动位置时,快慢机轴缺口对准连发杆,后者在簧力作用下上抬并与阻铁扣合,单发杆则被压下,与阻铁脱离。扣压扳机,连发杆带动阻铁下降,解脱击锤,击锤复进击发。击发后,机框带动击锤、枪机一起后座。不到位保险阻铁传动杆解脱,组合片簧使保险阻铁恢复原位。击锤后座到位后便开始复进,但仅复进一很短的距离,随之被保险阻铁扣住。若扣住扳机不放,则当机框复进到位压下不到位保险阻铁传动杆时,保险阻铁即解脱击锤,击锤直接复进而再次击发。 |
|
|
快慢机柄装定在半自动位置时,快慢机轴缺口对准单发杆,单发杆上抬挂住阻铁;连发杆则被压下,并与阻铁脱离。击发后,在机框后座过程中,机框下突起左侧压下单发杆,使之与阻铁分离,阻铁在组合片簧作用下恢复原位。当机框复进到位解脱不到位保险阻铁后,击锤便向前运动,但仅移动1.6mm即被阻铁扣住。若要再次发射,必须先松开扳机,使单发杆向后上方抬起,重新挂住阻铁,此时重新扣压扳机方可击发。 |
|


瞄准具是开放式,瞄准基线长356mm。准星为柱形,有护罩;照门为V形缺口式,表尺分划为100~800m,每分划为100m,无风偏修正功能。归零校正时可上下转动或水平移动准星进行。
枪管上有准星/刺刀座、导气箍和下护木套箍,均用销子固定。导气孔位于枪管前上方,距枪管尾端面216毫米。枪口帽与枪口由螺纹连接,枪口有锥角。
Vz58的机匣、机框等均为机加件,在闭锁卡铁等关键部件上镀铬,耐磨损和易擦拭。枪托、握把及护木由木质纤维素塑料填充材料制成,因此枪的重量较轻。该枪配用的弹匣的托弹板上有空仓挂机突笋,因此不能与AK步枪的弹匣互换使用。
Vz58突击步枪的优点是重量轻、精度好,缺点是动作可靠性较差,恶劣环境下的故障率高,此外,个别部件结合时的勤务性也不好。
Vz58突击步枪的分解过程如下:
1)卸下弹匣,将机柄向后拉,检查膛内是否确实无弹。若击锤在后方,应扣压扳机使击锤复进至前方位置;
2)向右拉出机匣盖后部的连接销,将机匣盖稍向前推并抬起后端,卸下机匣盖,复进簧、击锤簧一并取下;
3)向后拉机柄,分解出机框、枪机、闭锁卡铁和击锤等;
4)拉击锤向后,待突棱缺口对准机框左侧凸笋时,将击锤反时针转动1/8转,向后抽出;
5)向右拉出表尺座前方的连接销,抬起上护木尾端,取下上护木;
6)拉活塞向后,当活塞头退出气室时,稍向上抬,取出活塞和活塞簧。
| 全枪长 | 枪托展开 | 845 mm |
| 枪托折叠 | 635 mm | |
| 枪管长 | 390 mm | |
| 枪重 | 不含弹匣 | 3.10 kg |
| 含实弹匣 | 3.60 kg | |
| 枪口初速 | 705 m/s | |
| 弹匣容量 | 30 rds | |
| 理论射速 | 750-850 rpm | |
| 战斗射速 | 单发 | 40 rpm |
| 连发 | 120 rpm | |
| 有效射程 | 400 m | |


Vz58可以打开枪机后,从抛壳口用桥夹装弹往弹匣内装填






在2005年法国国际警用设备展览会上展出的Vz58V的其中一种改进型


随枪的配件

捷克军队使用的VG70枪挂式榴弹发射器

VG70配用的26.5mm榴弹




印度军队装备的万国牌武器中也有一些Vz58,这是印度的空降突击队

这个伊拉克警察所用的Vz58使用DIY的镂空弹匣,可观察余弹量
|
资料来源:Sa vz.58 国防工业出版社出版《国外轻型步兵武器》下册 |
2007-05-27/2011-05-26 |