| >FN首页 | FAL的结构特点 |
|
||||||||||||
|
|




立体的FAL结构图,从左到右分别为公制式FAL标准型、英制式FAL标准型、公制式FAL轻机枪型、公制式FAL伞兵型。零件说明请对应下面的平面图说明
FAL采用活塞短行程导气系统,导气装置在枪管上方,其结构类似于美国的勃朗宁自动步枪。活塞筒的前端置于导气箍内,和气体调节器相连接。气体调节器通过改变排出气量的多少来控制作用于活塞头上气体能量,射手根据不同气候环境或枪的污染状况来调整合适的气量,也可关闭导气孔以便发射枪榴弹。
环绕在气室外的气体调节器上打上1~7的数字,代表不同的排气量。当标记为“1”时,气室上方的排气孔完全关闭,作用于导气活塞的气体压力增大;当标记为“2”时,排气孔打开,射击时从导气孔进入气室的部分会通过排气孔排出外面,从而减少气室内的气体压力;标记数字越大,排气孔的截面越大,排气量越大,气室内的气体压力就越小。用数字标记来表示排气量是很方便使用者的,不幸的是,为了降低成本,后来生产的FAL上的调节器取消了这些数字标记。气室前方还有一个气体调节头,旋转调节头,当见到字母“A”时,为自动装填,当见到字母“Gr”时,气体调节头会关闭活塞筒,此时只能手动单发。

导气装置和气体调节器结构:1-导气孔;2-导气箍顶塞;3-导气箍;4-排气孔;5-活塞头;6-气体调节器
![]() ![]() 调节器数字分别为“1”和“7”时,排气孔的大小对比 |
![]() ![]() 调节器用扳手来调节,如果没有合适的扳手,也可以用枪弹调节 |

闭锁机构取自SAFN-49的偏移式枪机,与前苏联SVT38/40托卡列夫自动步枪的枪机系统极为相似。机框位于枪机上方,机框连杆用铰链结合于机框后端。机框后座时,通过连杆压缩枪托中的复进簧,复进簧伸张,又通过连杆推机框复进。机框内有开、闭锁斜面,在自动循环过程中与枪机上对应的开、闭锁斜面相互作用,使枪机后端上抬或下落,完成开、闭锁。枪机后端下方有闭锁支承面,当它抵在机匣中的闭锁支承面上时,即实现闭锁。在机框底部有一个凸笋,当机框复进到位时,该凸笋便压下不到位保险阻铁。抛壳挺槽在的枪机侧下方。另外英制式FAL的机框两侧锻压有Z字形的排沙槽,而公制式则没有排沙槽。
FAL的机匣最初是锻压的,在1973年FN公司把机匣生产工艺改为包埋铸造法(investment-cast),目的是为了降低生产成本,但其他国家生产的FAL大多仍采用机加工艺。据说锻压机匣的寿命有8万发,而铸造机匣的寿命降低了一半。机匣前端和枪管相连接,上方装有可折叠的提把,下方为弹匣插座和弹匣卡笋,弹匣卡笋的后面是发射机座和机匣的连接销轴。闭锁镶块、抛壳挺及空仓挂机机构均置于机匣内。机匣左侧有机柄和拉杆,射击时不随枪机运动。在不同的型号上,拉机柄有折叠式和非折叠式两种。
发射机座位于机匣后下方、弹匣座后面,下面有扳机护圈和握把。发射机座内装有机匣卡笋、扳机、击发阻铁、击锤和不到位保险阻铁。发射机座在铰接在机匣底部,可撅开来维护。保险/快慢操作柄在扳机护圈上方。FAL的板机机构设计得很好,既简单又容易操作,很灵敏。扳机和击发阻铁共用一个轴,半自动或全自动模式时都共用一个阻铁。
枪管配有长形消焰器,也兼作枪榴弹发射器。不同国家采用不同设计的消焰器,前护木的设计也不尽相同,有木制也有塑料或金属制。轻机枪型配有独特的消焰/制退器而抑制全自动射击时的后坐力。
固定枪托型上的复进簧收容在枪托内,而折叠枪托型的复进簧则固定在机匣中,因此折叠枪托型的机框、机匣盖和复进簧都稍有不同。伞兵型上的管状铝制折叠枪托是一个复杂的装置,要打开或折叠时要用力向下压,操作不方便,相比之下伽利尔和AK-74S或中国的81-1上的折叠枪托要容易操作得多。
瞄准具通常是带护翼的准星和可调整的觇孔式照门,但不同枪型的射程标定不一样。大多数的FAL配有刺刀凸笋。有些伞兵型上采用翻转式的固定照门,两个射程位置分别装定为150米和250米。据说照门容易松动,但只要垫一张纸片就能解决问题,而且觇孔照门靠近眼睛,容易瞄准。
弹匣座内有前后两个卡笋,后卡笋是活动的,扳动后释放弹匣,而前卡笋只是在机匣内的一个凸出物,用于卡住弹匣体上冲出来的一个小孔。但容易磨损,所以要定期检查前卡笋。加拿大人解决这个问题的方法是改装一个可更换的前卡笋。结果所有的其他类型的FAL弹匣都能在加拿大的FAL上使用,而加拿大的FAL弹匣则不能用在其他FAL上。另外英国L4A2布伦机枪的30发弹匣也能用在FAL上。
FAL在射击和操作上还算舒适,而且枪管轴线对准枪托抵肩点,使武器能进行半自动速射。但是这种发射全威力步枪弹的轻型步枪在全自动射击时的操控能力是令人失望的,点射散布面非常大。英制式FAL就是基于这样的原因而干脆取消了全自动功能。
|
|
|
|
![]() 从抛壳口看进去能发现公制式FAL的枪机没有排沙槽
|
![]() 英制式FAL的枪机上有排沙槽
|
![]() FAL的照门 |
![]() FAL的准星和导气箍
|


枪托底部有附品室的活门,用于贮存维护工具
当枪弹击发,弹头通过导气孔时,部分火药气体进入活塞筒中,作用于活塞头,推活塞向后并带动工作部件(机框和枪机)完成后座和抛壳动作,多余的气体则由排气孔泄出。活塞P在向后运动过程中撞击机框B的前端,推动机框后座,活塞簧同时被压缩。当活塞的后座能量消失后,活塞簧就驱使活塞独自回到前方位置。

活塞后退,撞击机框
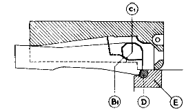
机框的自由后座行程为6.4mm,经过这段空载运动(通称“击发后的机械保险”),机框上的开锁斜面B1与枪机上对应的斜面C1贴合。于是,机框后座就使枪机后端上抬,枪机后下端的闭锁支承面与机匣E中的闭锁支承面D解脱,枪机开锁。
![]() 弹头出膛瞬间,机框上的开锁斜面与枪机开锁斜面贴合 |
![]() 枪机后端上抬,与机匣的闭锁支承面解脱,枪机开锁 |
此后,机框上的斜肩B2与枪机上斜肩C2衔合,机框带动枪机一起后座,并借助于铰链结合的机框连杆压缩位于枪托中的复进簧。在此过程中,拉壳钩将膛内弹壳抽出,并将其定位于枪机弹底窝中。击针簧则使击针复位。当枪机弹底窝平面后座至抛壳孔后端面时,弹壳碰及抛壳挺(抛壳挺伸入弹底窝中)面向右抛出。抛壳后,工作部件继续后座,当它们与发射机座相碰时,后座终止。
|
|
|
机框开始后座时,便解除对不到位保险阻铁的压力。保险阻铁在其弹簧作用下,前端稍向上抬,尾端则与向后旋转的击锤轴相摩擦。当击锤完全被压倒时,保险阻铁尾端就与击锤轴的前卡槽扣合。此时,保险阻铁的前端上抬至最上方位置,击锤则为保险阻铁限定在待发位置上。随后,复进簧伸张,通过机框连杆推机框向前复进,枪机上的斜面C3与机框上的斜面B3贴合,机框带动枪机向前。
在复进过程中,枪机前下端与弹匣中最上面一发弹的弹底的上端衔合,推弹向前。枪弹脱离弹匣的抱弹口并沿导弹斜面进入弹膛。枪机继续复进,拉壳钩卡入弹底环槽,当枪机抵住枪管尾端面时,复进停止,但并未闭锁。此时机框的闭锁斜面B4和枪机闭锁斜面C4贴合,迫使枪机后端下降(在枪机停止复进瞬间,由于斜面B3和C3的作用,枪机后端已开始下降),枪机的闭锁支承面最终抵在机匣的闭锁支承面上。于是,枪机再次闭锁。闭锁后,机框继续复进,走完闭锁后的自由行程。机框上的支撑面B5压住枪机上的支撑面C5,防止枪机上抬或误开锁。
![]() 枪机复进抵住枪管尾端面,机框继续复进,枪机后端下降,抵在机匣的闭锁支承面上 |
![]() 机框走完闭锁自由行程,支撑面B5和C5贴合,防止枪机上抬或误开锁 |
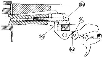
在上述过程中,保险阻铁的前端K1被机框底部的凸笋B6压下,使其尾端K2与击锤轴的前卡槽F2解脱。同时,由于机框复进到位,击针尾端得以露出。此时击锤方可打击到击针。

机框复进到位,保险阻铁解脱击锤,击针尾露出
当快慢机装定于“A(全自动)”位置时,快慢机轴上的大缺口对正扳机尾部,扳机可在最大范围内转动。当扣压扳机时,扳机尾部上抬同时顶起击发阻铁尾端,使击发阻铁前端下降,与击锤轴的后卡槽解脱。同时击锤向前转一小角度,被保险阻铁卡住,于是,击发阻铁在自身簧力作用下移至椭圆形轴孔的前端,其尾端从扳机顶面凸肩上滑下。枪机闭锁后,机框仍要向前继续复进一小段自由行程才到位。在此过程中,击针尾再次突出于机框之外。机框底部的凸笋将保险阻铁的前端压下,并且克服保险阻铁的簧力,推保险阻铁向前旋转,保险阻铁尾端与击锤轴的前卡槽解脱。这时,击锤向前回转,借击锤簧的簧力猛击击针,击针打击底火,枪弹击发。
松开扳机后,在扳机簧的作用下,扳机向前转动恢复原位。击发阻铁前端上抬并与击锤轴相摩擦。当扳机完全复位后,击发阻铁的尾端置于扳机后部顶面的凸肩上。由于工作部件后座,压倒击锤,击锤轴的前后卡槽分别为保险阻铁尾端和击发阻铁的前端所卡住,但保险阻铁的尾端卡合得稍迟一点。随后,机框和枪机向前复进到位,保险阻铁前端被压下,其尾端又与击锤轴前卡槽分离。此时,击锤仅被击发阻铁前端卡住。由于击锤轴前卡槽解脱,击锤轴便稍稍向前转动一点,于是迫使击发阻铁在其椭圆形轴孔中向后移动,并压缩阻铁簧。至此,击发阻铁尾端被扳机顶面的凸肩制约,击锤处于待发状态。
当快慢机装定于“R(半自动)”位置时,快慢机轴上的小缺口对正扳机尾部,由此限制扳机的行程。扣压扳机,扳机尾部上抬并压缩扳机簧,同时顶起击发阻铁尾端。击发阻铁旋转,其前端与击锤轴的后卡槽解脱。击锤向前回转,撞击击针,击针打击底火,击发枪弹。当击发阻铁前端脱离击锤轴的后卡槽时,它即在簧力作用下被推向前,其尾端从扳机顶面的凸肩上滑下。
在自动机的后座运动中,击锤被压倒,击发阻铁的前端与保险阻铁的尾端分别卡入击锤轴对应的卡槽中。此时,击发阻铁的尾端置于扳机顶面的凸肩上。处于待发状态的击锤的簧力则由保险阻铁所承受。当机框和枪机的复进运动结束时,保险阻铁的前端被压下,其尾端与击锤轴的前卡槽分离。此时,击锤会略微向前转动,但随即被击发阻铁抵住。击发阻铁向后的冲力由扳机上的凸肩承受。
在上述整个过程中,扳机一直处于被扣压的状态。要发射下一发枪弹则必须先松开扳机。因为当扳机上的压力解除时,扳机簧就迫使扳机向前复位。另一方面,由于击发阻铁的前端卡在击锤轴的后卡槽中,所以击发阻铁不能旋转。于是,扳机尾部顶上的凸肩脱离击发阻铁尾端,但由于击锤簧力大于击发阻铁簧力,故迫使击发阻铁在其椭圆轴孔中向后移动。击发阻铁尾端仍置于扳机凸肩上。此时再次扣压扳机,才能解脱击锤,发射出次一发枪弹。
当快慢机装定于“S(保险)”位置时,快慢机轴圆柱面压住扳机尾部顶面,扳机无法转动。



发射机构示意图,从左到右分别为“保险”、“全自动”和“半自动”。零件说明:1-快慢机轴;2-击锤;3-保险阻铁(不到位保险)

此图中显示了不同国家的FAL的保险/快慢机柄形状稍有区别

英制式FAL的快慢机,“A”为保险,“R”为单发,如果是公制式,还有一档“A”为连发



当弹匣中的最后一发弹发射出去之后,空仓挂机即开始动作。空仓挂机是一个与枪管轴线垂直的枪机阻铁,位于机匣中,其上有一个水平凸起向后伸入弹匣插座内。平时,枪机阻铁被一个小弹簧限定在下方。当弹匣中的弹打完之后,托弹板上抬至最高位置,将位于枪机下面的枪机阻铁向上抬起。于是,枪机在后座过程中一旦通过枪机阻铁,枪机阻铁便完全伸出,将枪机挂在后方位置。

空仓挂机原理示意图
FAL的分解过程如下:①使枪处于保险状态,卸下弹匣,检查膛内有无弹
| ②把枪尾连接销向后转动,用手握住护木并向下翻开发射机座 | |
| ③从上机匣内向后拉出枪机框 | |
| ④将机匣盖从机匣上向后拉出 | |
| ⑤用拇指按压击针尾部,把枪机体从枪机框内翻出 | |
| ⑥继续压按击发尾部,同时利用枪弹的弹尖从枪机体内推出固定销钉 | |
| ⑦把击针从枪机体内抽出 | |
| ⑧用弹尖推出气体调节头内的螺钉,再用弹底的凸缘将气体调节头顺时针方向旋转90° | |
|
⑨将调节头从导气装置上卸下
|
|
|
⑩从活塞筒里取出活塞杆和活塞簧,再将活塞簧取出
|
不过,以上只是简单的野战分解步骤,要分解成下面这个样子就要费一番功夫了。


FAL在发射枪榴弹时需要关闭导气孔和在导气箍上安插枪榴弹瞄准具

对于不能使用实弹发射的枪榴弹,发射前必须往膛内更换空包弹

瞄准直射目标枪榴弹的姿势示范

抛射枪榴弹时,枪是倒过来放的。估计是让枪膛轴线更接近地面的受力点

在FAL上安装M203PI榴弹发射器。不过由于现在已经没什么国家装备FAL,所以这个只是M203PI生产商的宣传照而矣
|
资料来源:国防工业出版社出版《国外轻型步兵武器》下册 《轻兵器》2005年第4期上、2006年第1期下 |
2001-10-02/2020-04-28 |