
HP手枪采用枪管短后坐式工作原理,枪管偏移式闭锁机构,这种原理与勃朗宁较早时设计的M1911式手枪相同,但结构上作了简化。M1911的枪管采用的是回转铰链式,枪管是在铰链的牵引下而下降开锁的,而HP手枪则采用简单的凸耳式结构,枪管的弹膛下方有一个凸耳,而在手枪底把上通过过盈配合安装有一个与枪管配合的开闭锁突起零件。枪管外表面在位于弹膛上前方处设有两道半环状闭锁突起,卡进套筒内部抛壳口前方的两道闭锁槽内形成闭锁状态,击发时或用手拉动套筒待击时,套筒与枪管一起向后运动约4.7mm自由行程后,弹膛下凸耳与底把开闭锁凸耳的开锁斜面相互作用使枪管尾部逐渐下降,直至枪管上的凸耳在脱离套筒内的闭锁槽从而开锁,然后套筒继续后坐抽出弹膛中的空弹壳并抛出。当套筒后坐到底后,在复进簧的作用下向前运动,套筒推弹上膛,继而推动枪管向前运动,而弹膛下凸耳与开闭锁凸耳的闭锁斜面相互作用,使枪管尾部逐渐抬起,并使枪管上的闭锁突起进入套筒上的闭锁槽内,随后枪管和套筒共同走完自由行程,底把上的闭锁突起抵在枪管下方突起的闭锁支撑面上,完成闭锁过程。

勃朗宁闭锁原理的示意图
这种结构的闭锁原理与其它结构的闭锁原理如铰链式、闭锁卡铁式等相比,主要特点是结构比较简单,零件比较少,在结构设计上容易实现。因此这种被称为“勃朗宁闭锁”的原理被现代手枪广为采用,例如SIG SAUER的P22x系列、格洛克手枪、USP手枪等等,但从SIG SAUER P220开始这种“勃朗宁闭锁”也更为优化。
HP手枪采用回转式击锤击发方式,单动式击发机构,带有手动保险机构。这种单动击发机构与M1911一样,扳机不能与击锤联动实现扣扳机待击,第一发射击前必须用手待击,如果在上膛后携行必须关上保险。而现代的双动手枪上膛后可以解脱击锤的待击状态后携行,即使不关上保险也是安全的。
HP手枪有一个遭受诟病的缺点,就是板机扣力很重,作为单动手枪来说这尤为重要。这个缺点是由于HP手枪的弹匣保险所导致的。这个弹匣保险最初是法国陆军的要求,当弹匣取出后,弹匣保险会在保险簧的作用下推动扳机连杆向前,使扳机连杆顶部与阻铁杠杆头部错开,这样即使膛内有弹也不能击发,可以防止因为弹匣取下后由于疏忽而发生意外。当插上弹匣后,弹匣会把弹匣保险向上顶,使扳机连杆重新与阻铁杠杆头部联接上,但结果却是增加了板机的扣力。有些射手为了解决扳机感生涩的问题,干脆自己DIY新的扳机连杆来取消弹匣保险的作用。其实如果用户平时注意安全,收枪时认真验过枪膛,是不需要弹匣保险的。所以弹匣保险的用途并不大,现在很少有手枪还采用弹匣保险这种多余的设计。

击发机构动作示意图:(a)击发后仍扣住扳机不放;(b)松开扳机;(c)再次扣压扳机
除此之外,还有些射手说击锤在压下时有时会“咬”射手的虎口,所以有些人会自动更换尺寸较小的击锤。
握把外形设计是HP手枪的另一个受到赞誉的优点,握持射击感觉很舒服,而且指向性好,拿起手枪来不用仔细瞄准,迅速一指就能打得八九不离十。
最初FN生产的HP手枪只有两个型号:一种是固定瞄具型的“普通型”,另一种是可调表尺型,且配有可安插在握把上的木制枪托,该枪托同时也是枪套。虽然枪托式枪套在二战期间停止生产,所以后来生产的HP手枪也取消了握把背部的枪托结合槽,但可调瞄具型大威力手枪仍然可从商业型获得。现在生产的HP手枪有更多种类的瞄具,而且还可以让用户更换三点式之类能够在夜间使用的战斗瞄具。
现在一些HP手枪也提供了.40 S&W和.357 SIG口径型。然而,作为最初只为发射9×19mm派拉贝鲁姆弹而设计和生产的手枪要勉强使用这些真正的大威力弹药的结果就是容易断壳或导致底把变形。

1-套筒座;2-枪管;3-套简;7-表尺(或照门);13-复进簧导杆;14-复进簧导杆帽;15-限位钢珠;16-复进簧导杆簧(空仓挂机簧);17-复进簧;18-击针;19-击针簧;20-击针限制板;21-拉壳钩;22-阻铁杠杆;23-阻铁杠杆铀;例-空仓挂机;25-扳机;26-扳机连杆;27-扳机轴;28一弹匣保险销;29-扳机簧;30-弹匣卡笋;31-弹匣卡笋簧;33-阻铁,34-阻铁轴;35-配铁簧;36-击锤;37-击锤轴;38-击锤顶杆;39-击铰簧;40-击锤簧座;41-击锤顶杆销;42-抛壳挺;43-保险;44-保险机卡销;45-保险机卡销;46-保险机簧;47-右握把盖;48-左握把盖;49-握把螺钉;50-弹匣体;51-弹匣底盖;52-托弹板;53-弹匣托弹簧;54-弹匣底盖固定片;55-扳机-弹匣保险;56一扳机-弹匣保险簧。

1-套筒;
2枪身扣;3-照门;4-拉壳钩;5-击针簧;6-击针;7-弹匣卡笋簧导轨;8-弹匣卡笋簧;9-弹匣卡笋;10-击锤;11-击锤轴;12-击锤压杆;13-击锤压杆销;14-击锤簧;15-击锤簧座;16-弹匣;17-阻铁簧;18-左握把;19-握把螺钉;20-空仓挂机;21-扳机簧;22-套筒座;23-复进簧;24-弹簧限位器;25-惯性缓冲簧;26-缓冲球;27-复进簧导杆;28-枪管;29-阻铁杠杆;30-击针固定拴;31-阻铁;32-抛壳机构;33-扳机轴;34-扳机轴簧;35-击发杠杆;36-击发阻铁轴;37-保险机卡笋;38-定位拴;39-销簧;40-销;41-扳机

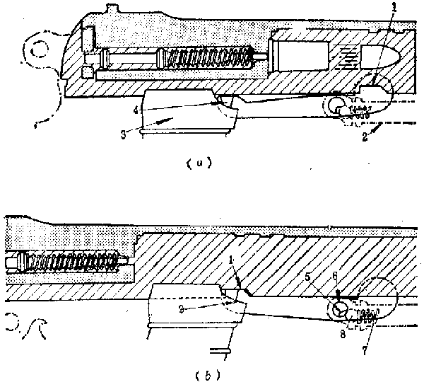
空仓挂机动作示意图
(a)最后一发弹击发;(b)套筒被挂在后方位置。
1-套筒缺口;2-复进簧导杆;3-托弹板;4-空仓挂机柄;5-空仓挂机柄销上的凹槽;6-空仓挂机柄销;7-空仓挂机柄簧;8-限位钢珠;9-托弹板突肩。
|
资料来源:国防工业出版社出版《国外轻型步兵武器》下册 |
2009-12-25 |