|
G36自动步枪系列简介 |
||
|
口径: 5.56×45mm NATO |
|
G36简介 ◆ G36 ◆ G36K ◆ MG36 ◆ G36C ◆ KSK专用型 ◆ 挪威型G36KV ◆ AG36 ◆ SL8 ◆ SL9SD ◆ 配件及附件 ◆ 图集1 ◆ 图集2 ◆ 图集3 |

G36已经装备了德国联邦国防军几年了,除德国联邦国防军外,西班牙军队也已经装备了这支步枪,另外一些西方国家也正在对将来采纳G36系列的可能性进行评估,而挪威可能会是第三个装备G36系列的国家。而G36K则成功地大举进攻特种部队和执法机构的武器市场,在美国,有一些特警队已经装备了G36K,而最近英国报章报道,英国警察在2000年中期已经携带G36K上街执行任务了。
背景 1990年,当时的西德国防军已决定采用G11无壳弹步枪来换装服役超过30年的G3步枪,但和平扼杀了G11方案,在G11投产前柏林墙倒塌,随着东西德统一,带来一系列经济问题,G11方案的资金被全部破掉了。随后,德国陆军开始参加联合国的维和行动。在世界上主要国家,特别是北约组织的主要国家的军队都使用5.56mm的步枪的情况下,德国的维和部队仍携带着1959年装备的7.62mm的G3步枪。德国感到必须尽快为陆军、尤其是快速反应部队换装新的步枪。
由于时间和经费的问题,并没有打算研制全新的步枪。德国军方最初的方案是和以色列的加利尔和芬兰的SAKO M92步枪类似,利用前东德所有的兵工设备及AK步枪的技术生产一种使用5.56mm NATO弹的AK型步枪。前东德VEB公司曾研制过一种Stg940系列突击步枪,基本上符合德国国防军的初步构想,因此技术可行性与降低成本都不成问题,但这个方案的俄国色彩过于强烈,在保守派的反对下取消。
于是,军方决定从市面上购买现货。他们提出了新枪的招标要求,除了总重、弹药、射击精度、枪管长度等各项外,还提出以下与G3步枪明显不同的特殊要求:
(一)配备光学瞄准具,此瞄准具则需能配合夜视仪器使用。
(二)自动方式必须为导气式。
(三)左右手都能直接操作的射击方式选择杆。
1993年9月,由海、陆、空军和联邦国防技术与采购署的专家组成的工作组,对市场上有售的10种步枪和7种轻机枪进行了预选,但其中有部分枪型只是作为性能参考。在试验过程中,军方提出班组支援武器必须与步枪使用相同的结构,立即就淘汰掉一批枪型,只剩下英国的L85A1、奥地利斯太尔-曼利彻尔(Steyr-mannlicher)公司的AUG步枪和H&K公司的HK50步枪进行对比试验。L85系列由于故障率偏高很快被淘汰,最后的比度就在AUG和HK50之间进行。
当时轻武器界的评论家们大多看好AUG。因为AUG早已名闻天下,而HK50则只是刚推出市面的“新兵”,直到此时,包括著名的英国《简氏步兵武器年鉴》在内的各种枪械刊物均未提到过这支枪,HK50可谓“无名无份”。
在经过短时间的对比试验评估,德国军方在1995年选择了HK50,要求HK公司进行改进,并同时将其命名为军方编号“36型步枪”(Gewehr 36),简称G36。就这样HK50出人意料地爆大冷胜出。究其原因,AUG失败的竟然是它那个独特的两段式控制单发和连发的扳机系统,尽管斯太尔公司专门符合德国军方要求,而将AUG的保险钮改为兼具快慢机功能,但使用起来却不容易准确判断出当前选择是保险还是单发或连发。



德国原计划从1995年开始装备第一批G36和MG36,但第一批枪支的交付时间却推迟到1996年第3季度,不过整个联邦国防军的换装过程比预定计划提前。1997年12月3日,在哈默堡举行了一个换装仪式,当哈默堡步兵学校司令员魏德将军将一支G36步枪和一支P8手枪授予一名陆海空三军代表的士兵后,德国士兵就正式告别了使用了35年之久的G3步枪。
除德国外,G36也被西班牙武装部队及世界上许多特种部队和执法部门所使用。该步枪也在科索沃和阿富汗中经历过实战。

G3与G36

1996年5月的《德国武器杂志》封面

HK公司没有公布G36的研制时间,多数人认为是在1990年。HK50的首次露面是在1996年5月的《德国武器杂志》上,在1997年8月,HK50实物第一次在公众展览会上被公开展示。HK50的研制标志着HK公司30多年来在武器设计理念上的一次重大转变,不是吃老本的G3系统变型枪,而是一支全新的突击步枪。
HK公司从创立以来,一直在生产滚柱闭锁原理的半自由枪机式的步枪、冲锋枪和机枪,虽然在武器市场上争得一席之地,但却也给人守旧的感觉。其实HK公司的工程师们一直没放弃过创新和变革的尝试,但并不是所有的变革和创新都能获得成功,有些甚至成为财政上的灾难。
在1960年代末至1970年代初,HK公司就着手开发两个创新项目,一个是VP70冲锋手枪,这是第一支采用聚合物底把的手枪,之后很多手枪群起效仿。另一个有趣的项目就是HK36了。这不是后来的G36,HK36是完全不同的武器,该项目是早期跨国先进战斗步枪(ACR)计划的一部分,不过,虽然与后来的G36没有血缘关系,但HK36还有两项设计被G36所继承,一是它的提把式光学瞄准镜,二是能左右转向的拉机柄。由于经济上的原因,HK公司在1976年决定只继续另外一项ACR的设计,而把HK36计划束之高阁,而把精力投放到另一个ACR的设计——发射无壳弹的G11步枪这条死胡同里。
在联邦国防军对新枪的招标要求中,除了总重、弹药、射击精度、枪管长度等各项外,还要求相对经济和采用传统设计,也许是吸取了美国ACR计划失败的教训,担心太过于强调技术超前会反而导致在现阶段的不适用。HK公司根据VP70、HK36和G11获得的经验教训,最终诞生了HK50。由于外形的相似,很容易让人怀疑HK50只是HK36计划的复苏,但实际上HK50是全新的设计,尽管它的一些设计明显是从HK36身上获得灵感,但是,它实际上具有阿玛莱特AR-18的血统。

从上到下分别为:MG36、G36、G36K
G36最初有4种主要型号,所有的型号都采用相同的机匣,仅仅是枪管长度和外形、护木的长度和枪托上有差异。枪托、护木和枪管都可以在野战部队方便地更换而变成其他的型号。
第一种是标准长度的突击步枪,只称为G36,该步枪已大量装备国防军。
第二种是是尺寸较短的卡宾步枪,名为G36K,装备战斗车辆成员、特种部队和执法部门。
第三种型号命名为MG36,定位为班用轻机枪。但由于缺少订单,MG36早已停产。
第四种型号G36C是在2000年5月才首次公开,这是G36枪族中最短的型号,其大小和MP5冲锋枪接近,主要适用于反恐部队和特警队的室内近战武器。
上述的G36、G36K和MG36均有专门的出口型,其区别仅在于标配的双瞄准镜提把改为单瞄准镜提把。另外还有民用型的SL8系列运动步枪。在早期曾有一段时间有网站流传种名叫G36/7或G36/7A3的武器,推测其为口径7.62×51mm的G36。但这种东西是不存在的,也没有看到任何迹象表明它正在开发中。它似乎是某些电脑游戏制作者想象中的创意产物。

从上到下分别是:G36突击步枪、G36KE短突击步枪、MG36E轻机枪、SL8运动步枪

1-枪管;2-导气室;3-活塞杆;4-拉机柄;5-瞄准具;6-枪尾;7-枪托;8-握把;9-弹匣;10-背带;11-护木;12-可拆卸两脚架
G36并非第一支大量采用合成材料的步枪。虽然HK公司在1960年代就已经尝试在轻武器上大量运用合成材料,而同时代研制的AUG步枪也是大量运用合成材料的成功例子。不过在AUG之后,没有其他量产的步枪能够如此成功地大量运用合成材料,多数只是在握把、枪托之类的部件上使用。在G36上,采用金属部件的是枪管、导气装置、枪机组件、复进簧、连接销、机匣导轨和一些击发机构内的小部件,而机匣、枪托、护木、提把和扳机座都是采由特殊的高强度注射成形的聚酰胺(尼龙66),并有碳纤维微料增强。这种材料集高防腐蚀、耐磨、防化学品、隔热、重量轻、高强度和空间稳定性各种优点于一身。
机匣完全由塑料注塑而成,内嵌有单独、并不相连的钢件,例如枪管节套等,并没有如早期传言中所说的那样有钢板骨架补强,就连枪机的运动导轨也是由凸出的条状塑料构成,而非钢制的枪机导轨。因此G36在装备数年后,受到一些牢固性的质疑就不奇怪了。冷锻的枪管由抗腐蚀的铬钢制成,膛内镀铬,外表作哑光的黑色氧化处理,并通过枪管节套连接在机匣上。除了枪管节套,枪管不与枪身的其他部位接触。
![]() 一支在跳伞时弄断的G36,具体时间地点不祥 |
![]() ![]() ![]() 切断的SL8机匣,就可以发现里面没有钢骨架 |
大量使用合成材料使步枪重量轻而且又耐用。G36虽然坚固但也非“永不磨损型”,尤其枪托因为容易损坏而在使用部队中招致了一些批评。虽然G36的枪托不是设计来砸人的,但不幸的是,当士兵们需要进行一次刺刀冲锋时,难免会用得上枪托。也许会有人说现代战争已经不需要刺刀了,但在现代战争中也发生过有数的几次刺刀冲锋的例子,最近的一例就发生在2007年的伊拉克,英国阿盖尔萨瑟兰高地团(Argyll & Sutherland Highlanders)的一支20人的巡逻队被什叶派游击队包围,在弹药即将用尽的情况下,小队指挥官下令发起刺刀冲锋(当然是用SA80),打得什叶派游击队如鸟兽散。稍远一点的例子发生在马岛冲突(福克兰战争)中,英军伞兵第3团3营在攻打朗顿山(Mount Longdon)时也是通过刺刀冲锋占领了一个坚固的阿根廷阵地。(注:刺刀冲锋不等于白刃战)
但是,有理由怀疑HK的工程师在减轻重量方面过于着迷了,这可能是最初他们没有在护木中加入铝制隔热罩的原因,这也就使得护木很容易过热,速射几个弹匣后就让人觉得赤手握持步枪会很难受。后来新生产的步枪在护木里增设了铝制隔热罩,然而由于最初的设计就没有考虑这个问题,所以受结构所限,隔热罩不能覆盖到护木的后部,因而迫使射手的手握持护木时不能太靠后。
过份减轻重量还对早期的G36有另一个负面影响。G36的塑料护木材料很轻薄,而且仅由上下两个销子固定在机匣前端,扛不住径向扭转,只要用力一掰护木前端就能贴到枪管上。在G36这样的护木上装战术灯问题不大,但安装激光指示器时就会因护木变形而偏离目标太远。所以KSK现在在他们使用的G36K上安装KAC公司的铝合金导轨护木,避免了这个问题。
而大概可能在2012年左右(或邻近的几年)HK公司推出的G36A4系列则干脆把整个护木都换成铝合金的,虽然外表看起来和原来的聚合物护木形状差不多,但实际上却换了材料。




整个换成铝合金材料生产的G36A4系列的护木,外形看起来虽然和旧的聚合物护木差不多
此外,在SL8的早期产品中据说生产得过于精致,结果枪的表面太过光滑,沾了水就很难握紧武器,但对于G36是否也有过于精致的外表并没有准确的证据,如果也有这个问题,那么对于雨天战斗显然是不利的因素。但这样的问题即使是存在过,也应该很容易能解决。
在2002年初,有一些关于SL8-1聚合物机匣破损的报告,但在G36或SL8的其它型号没有出现过此类情况。破损的位置是在扳机组的最前段,这一段笔直地沿着接线分布在空仓挂机下面,这是属于设计上的缺陷。由于SL8-1的单向供弹枪机仅击打空仓挂机的一侧,导致挂机柄扭转并撞击它前面的材料,长期下来就出现材料破裂的情况。在拖了一段时间之后,HK公司才推出了加大接触面积的空仓挂机。使用旧空仓挂机的步枪可以向HK公司索取这一部件以作替换,如果扳机组已经破损,可向HK公司要求更换整个枪托/下机匣组件。
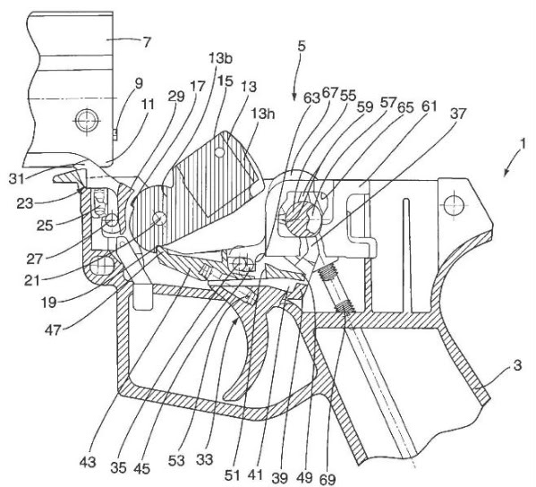
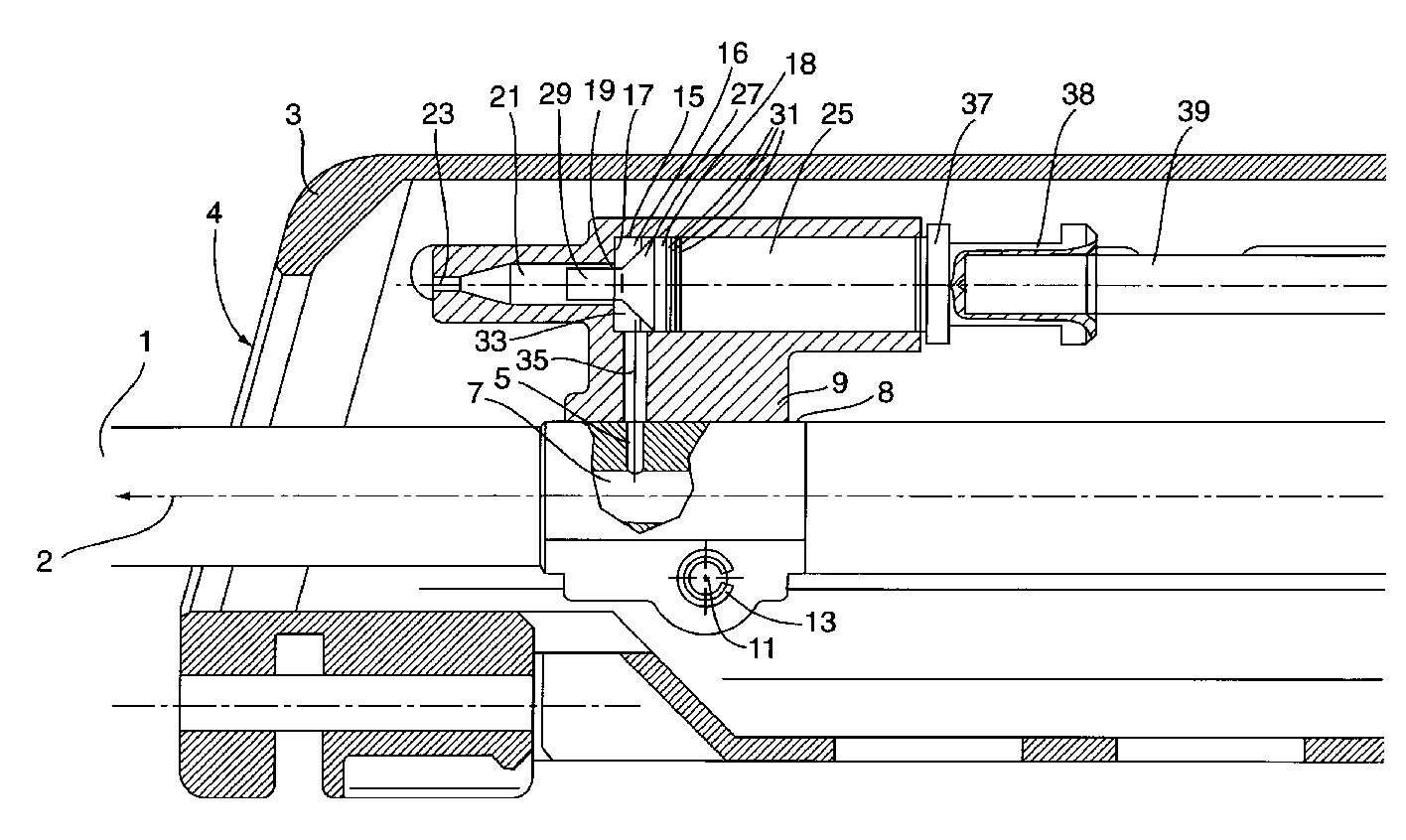
在G36上,HK公司不再采用已经沿用多年的滚柱闭锁延迟后坐系统,而是采用改良阿玛莱特AR-18的短行程导气活塞式操纵、回转式多突笋闭锁机头的系统,自由浮置式枪管和斯通纳型枪机一起保证了设计的极好的精度。火药燃气从枪管上的导气孔泄出,推动枪管上方的活塞;导气活塞在运动几毫米后,前方被活塞头部的密封杆堵住的泄气孔通道就会让开,多余的气体会通过导气箍前方的泄气孔排出,不会有过多的气体去推动活塞;活塞连杆推动枪机框运动;枪机框被向后推时,在凸轮的驱动下使机头旋转开锁而离开枪管尾部。由于G36的导气装置是一个封闭系统,火药燃气不会进入机匣。

导气系统
早期HK公司的延迟后坐系统虽然也很可靠,但也有其缺点。为了避免抽壳时出来断壳现象(延迟闭锁枪机在发射大威力弹时容易出现的故障),不得不在弹膛上作纵向开槽,但这样一来,射击时的火药气体残渣就很容易进入机匣内,污染机匣内的动作机构。为防止污垢积累太多导致出现故障,士兵们有必要适时清洁。在G36中,气体残渣的问题实际上已经不存在了,因为封闭的活塞系统只是使极少量的气体随着抛壳时的弹壳进入机匣。这样不仅能保持武器内的清洁,还能让武器有较好的可靠性和提高耐用性。
近来G36的一个设计特征受到争议。为了减少易损坏的零件,G36特意取消了击针簧,因此击针是在枪机中“浮动”,这会枪机在推弹进膛的同时使击针在惯性作用下撞击膛内枪弹的底火。尽管击针的重量轻、行程短,但却也有足够的动力在底火表面打出小面积的划痕或凹痕。按照HK公司的解释,这种程度的撞击还不足以击发底火,而且在跌落试验中,从两米高处掉落,保险未开,待发状态下也不会走火,可见这个设计还是很安全的。不过在SL8使用手册中,不建议同一发子弹多次推进弹膛,因为底火表面累积多次变形后还是有可能导致走火的。如果使用商用弹药时危险性可能更高,因为商用弹药的底火比军用弹药的软,所以这种设计在军用突击步枪中完全可以接受,但在民用枪支中就代表着严重的安全隐患了。事实上已经有一些关于SL8在闭膛时走火的报告,还有人宣称曾经目睹过一支SL8-4扣动一次扳机就打出一个两发点射的意外。然而,还不能确定这些意外究竟是否和浮动击针的设计有关,还是由于劣质弹药(过于敏感或向外突出的底火)所致,因为浮动式击针的可靠性早在AK、M14、M16等多种军用步枪上得到证明,这些武器即使在民间使用中也极少听说在上膛时出现走火的意外。在民间曾经有人做过一个小实验,在一支SL8-4上用同一发弹重复10次推进弹膛,但并没有走火。
G36枪机的闭锁装置采用的是M16系统的旋转式闭锁。从下面这张枪机的图片可以看到,白色的柱状部份就是旋转式的枪机闭锁装置了,闭锁装置上方的孔是活塞杆的入口。
![]() |
在枪机最上方的部分则是可以左右转动的拉机柄,这种拉机柄可以从左右方向拉动枪机。但G36并非首次采用这种特独的拉机柄的枪,早在20世纪70年代,HK公司半路腰斩的HK36研制项目就是采用这种拉机柄,不过HK36的拉机柄延伸至枪管上方,位置和G3一样。拉机柄向外折后向内推入便可锁定位置。由于拉机柄在射击过程中随机框一起运动的,因此一般不建议射击时让它伸在外面。拉机柄可以辅助闭膛,以便无声地关闭枪机或清除故障。 |

拉机柄位于机匣上方,提把的下方

G36的枪机(左)和M4的枪机(右)

![]() 左则为AR-18的机头,右侧为G36的机头 |
![]() 不同的AR-18式机头的枪机系统,从上到到下分别为斯通纳63/63A,AR-18,SA80,G36 |
该枪配有空仓挂机,当打完最后一发弹或者因插入空弹匣而拉动枪机时会让枪机留在后面。空仓挂机也可手动操作,只要拉后枪机并把扳机护圈前面突出的挂机按钮向上顶即可挂住枪机,在大量射击后可以前方式加速膛内散热。取下空弹匣或换上有弹的弹匣时,把拉机柄向后拉再松开,枪机即可复进。如果不需要空仓挂机的功能,只要改变扳机组内的挂机簧的位置即可使其无失效。不过一般人不会这样做。
由于用惯M16式步枪的美国人不大喜欢没有快速解脱枪机功能的空仓挂机装置,因此HK公司在研制XM8时把挂机零件向下延伸并弯曲成L形,这一个简单改进就使其具有快速释放枪机功能。后来有个在挪威人看到XM8的第一个公开视频后,马上就DIY了这一个零件用在他的SL8上。而后HK公司在参与竞争挪威陆军新步枪的G36V/G36KV上也使用了这个改进的挂机零件。


根据XM8项目经验而增加的空仓挂机解脱,可以说是专门为了美国人造的
G36的闭锁装置取自M16,但G36的导气装置却比M16那一根又细又长的导气管要好,因为导气管容易被外来异物堵塞或积炭,所以M16常常被抱怨在恶劣的使用条件下不可靠,而在HK公司的宣传中,G36的可靠性好像AK步枪一样好,在中途不对枪管和导气装置进行任何保养的情况下,连续发射25,000发以上的子弹,没有出现过一次卡壳之类的故障,比G3还要可靠。虽然G36本身不会被美国军队采用,但现在,在HK公司参与的OICW计划中,步枪部分就是取自G36系统。另外 ,有消息指美国的执法机构正在进行采用G36系列的可行性评估。
G36的保险/快慢机柄是传统的旋柄式,枪的两侧皆有。它位于手枪形握把上方稍靠前的位置,可用射击手的拇指操作。标准的扳机组是传统的SEF组合,即有单发和连发功能。其它可选扳机组包括SF(只能单发),NT(单发/连发,带形象标记),012(单发/两发点射)和2RB(单发、两发点射和连发带形象标记)。同样的,作为一个易更换的模块,用户只需数秒即可更换不同功能的扳机组。G36的扳机扣力比较僵硬,射手要好好练习才行。
弹匣卡笋是短板式,位于弹匣座后面,左右手均可操作,将其向弹匣方向压即能取出弹匣。同样是为了照顾用惯M16的美国人,HK公司在XM8上把弹匣卡笋在左右两侧向后延伸,能用扣扳机的食指轻松地释放弹匣。但这一配件目前没发现用在其他型号上使用,除了曾计划竞争挪威新步枪的样枪。
抛壳口在机匣右侧差不多一半高度的位置。这样,空弹壳就可以以稍微向下的角度抛出。在闭锁状态时,枪机会封住抛壳口,因而不需要抛壳口防尘盖。
G36的枪托由铰链连接并向右方折叠。原本的枪托镂空以避免遮挡抛壳口,因此枪托折叠后也能射击。枪托不论折叠与否都能牢牢地锁住,折叠卡扣在枪托左侧。后来在德国国防军的未来步兵(IDZ)计划中,HK公司设计了多种不同的枪托,最终确定了一种既可以伸缩,也可以折叠的新枪托。新定型的G36A4系列就安装了这种枪托。
![]() |
![]() |
| 扳叠的枪托 |
扳叠枪托的锁扣 |

分解时,销钉可以插进枪托上的小孔内,一个小的想法就可以减少遗失零件的机会

G36A4






G36A4、G36KA4和G36CA4共用的新枪托,可折叠、伸缩,贴腮板也能调节高度
尼龙背带无论左撇子还是右撇子都能方便地使用。除了传统的背带,射手也可以选用3点式背带或单点式背带,但后者只适合G36C这种短步枪。
G36的瞄准具是最受到争议的地方。整个瞄准系统安装在机匣上方是一个“桥”形装置,此“桥”兼作提把。标准的瞄具由上下两个瞄准镜组成,上面是红点镜,下面是3倍放大的瞄准镜。
G36的瞄准系统最初受到了众多好评,当时大多人都认为双光学瞄准镜既有利于快速瞄准,又能提高在有效射程内的命中率。然而时至今天,G36的瞄准系统却被认为是最失败的设计。首先,光学瞄准镜不如机械瞄具坚固,易损坏且不易修复。如果它们应用于警察使用的武器这可能并不是紧要的问题,在运动类武器中更不值一提,但如果用在军用突击步枪上就是大问题了。在军队呆过的人都会注意到士兵们不知为什么经常会把不易损坏的武器弄得不堪一击。当然,如果愿意花更大的成本,可以让瞄准镜变得更坚固,像ACOG或Aimpoint等一系列产品都是以坚固耐用著称,但这些优质瞄准镜比枪还要贵,通常只有特种部队或狙击手才会使用。而对于常规部队的装备数量来说,把这些昂贵而坚固的优质瞄准镜作为每枪一件的标准配备是难以承受的。由于整枪的价格就不高,可以想像G36上的瞄准镜成本不高。

第二,更重要的原因是光学瞄准镜极易受外界因素影响。一点点冰、水或者泥沾在目镜上即能遮挡视野,让瞄准镜暂时失效。例如,英国军队在挪威冬季训时,有些士兵会把L85A1步枪上的SUSAT瞄准镜卸下来,使用效果较差的机械瞄具。G36的光学瞄准镜也具有相同的缺陷,更糟糕的是,由于其瞄准镜的物镜和目镜的直径都很小,遇上雨天,镜片就会被雨水沾湿而导致视野模糊,完全无法使用。突击步枪应能在任何环境下工作,而这样要求在目前的技术条件下还不能由纯光学瞄准镜实现,这一点已被G36的军队用户反复证明。
第三,G36光学瞄准镜的实用性也受到了质疑。3倍瞄准镜的视场只有4°,而红点镜的视场也仅有5°。视场太小导致它寻找目标不容易,视场太小这也正是它的镜片直径太小的原因。所以G36的光学瞄准镜在睛天打靶时效果很好,但却不太适合在恶劣的战斗条件下使用。G36系列出口型配的简易机械瞄具/瞄准镜组合比双光学瞄准镜组合受外界因素影响小一些,简易机械瞄具在射程很近时相当有用,但射程远时仅可应急,极难精确瞄准。
另外,G36所有的型号都安装最初为G36C开发、现已可作为配件购买的机械瞄具。它由带护圈的梯形准星和翻转式的L形觇孔照门组成,实际上是把UMP冲锋枪上的机械瞄具移植到一个矮桥形聚合物导轨上,作为一个可替换提把/光学瞄准镜组件的模块。在聚合物导轨上能安装光学瞄准镜。这套机械瞄具组件在执法部门越来越受欢迎,尤其是用在G36K上。在导轨上安装一个艾姆波音特公司的Comp M红点镜绝对比G36标配的光学瞄准镜要实用得多。如果订单有要求,其他步枪也可配套G36C的瞄具一起出售。
不过虽然G36C的机械瞄具在G36C和G36K上表现很好,但它的瞄准基线太短,准星太宽和觇孔太大,只适合近距离使用,用来替换长枪管的G36瞄准镜则不太理想。而且它们由塑料而非金属制成,因此也经不起折磨。
针对这一系列的问题,现在HK公司在新的G36V和G36KV上开始推出新的瞄准装置。其类似于机械瞄具/瞄准镜组合的新装置,下面的瞄准镜是3倍放大,而一整段皮卡汀尼导轨从提把延伸至瞄准镜顶部,方便安装其他瞄准装置。我们可以看到有一些使用者在导轨上安装Eotech全息衍射瞄准镜或其他同样视场较宽的红点镜。
另外有一些用户干脆不使用G36的瞄准装置,比如挪威特种部队和德国KSK部队就用一个矮桥形导轨安装其他光学瞄准镜来代替原配的不实用的提把/瞄准镜组合。该导轨看起来与G36C的有点相似,但却是铝合金制成,更加坚固而且不像聚合物那样受压后易变形,最初这种铝合金导轨原本是设计用于在标准型上安装沉重巨大的热成像瞄准具的。
G36的模块由三个连接销连结,不需要工具便可在数秒内进行大部分解。G36分解步骤如下:
确认其处于空膛和待发解除状态;
卸下弹匣和背带;
把后、中连接销推向左侧并取出;
将扳机组向下拉并取出;
折叠枪托;
从枪尾拉出机匣尾盖,便可同时拉出复进簧及其导杆;
用拉机柄将枪机组件向后拉从后部取出;
展开枪托;
将前连接销推向左取出;
将护木推向前取出;
将活塞杆先推向后再推向旁边再推向前取出;
将导气活塞推向后取出。
重新组装则按照相反的顺序。
此外,模块化设计也简化了维护和野战维修。只需要更换枪管、护木或瞄准装置和很少的专门部件就可使一支枪变成其他型号。更换枪管也很容易,只要把导气箍快速地一击卸掉,再用特殊的转矩扳手和心轴将枪管固定螺母卸下。安装新枪管则按照相反的步骤。
G36E零件爆炸图
由于G36的枪托、机匣、护木都相对较轻,因此重心略为靠前,平衡性较好。所以虽然它的绝对重量与M16武器差不多,但由于重心位置好而使人感觉枪比实际重量要轻。而且重心略前也能让射手很好地感觉出枪口方向,这在狭窄空间作战和夜间战斗中是个优势,因为这时突然发现敌人的话射手更多会是迅速指向射击而不是先去瞄准。G36的人机工程设计也很卓越,所以不论以何种方式携带都很舒服,扛在肩上也觉得非常自然。不过由于G36的设计不够紧凑,所以看起来有一种“肥大”的感觉。明显的例子就是G36K的枪管比M4的短,但全枪长度却更长;G36的枪管也比M16A2的短,但全长却差不多一样。而且枪的侧面投影很“宽厚”,不像M16、SG550、FNC这些同类那么苗条。
G36采用直枪托设计,枪管中轴线延伸至枪托底板的抵肩位置,因此射击时枪口跳动小。再加上活动部件的重量轻,也有助于降低后坐感。这两个因素加起来让该枪的连发很好控制。
在同类之中,G36的射击精度不是最好的——以突击步枪来说,M16和SG550都是相当突出的,不过G36的精度是够用的。但G36的扳机设计被批评扣力太僵硬,需要更多的练习来适应。扳机扣力大是出于安全考虑,但应该看到,一个训练有素的士兵是不会在不射击时随便把手指搭到扳机上的,像SG550/551这种扳机平滑而受到特种部队欢迎的枪也不曾传出过因为扳机力轻而导致走火的事故。
可靠性和勤务性能是评价军用武器的两项重要指标,这一点G36比旧式的G3有很大的进步。由于结构材料和操作系统的原因,G36发射后残留的火药残渣极少,而且很少受外界因素如沙子、泥和冰的影响,其保养也极为简单,无需经常维护,只需每隔一段时间用浸有枪油的布擦拭即可。G36的可靠性有多高?有一些吹捧的文章说G36就像AK一样可靠,而另一些反对者则引用在阿富汗传出过G36在沙砾较多的地区出现故障的传言来反驳。目前由于缺乏准确的例证或统计数字,在此不作胡乱猜测。
另外,有意思的是,HK公司在最初的维护手册中提到G36每发射20,000发才需维护一次,然而在最新的手册中此数字已经减少到5,000发。显然,如果士兵们希望减少在战时出现故障的机会的话,最好平时就不要太懒。
|
| 资料来源:HK PRO H&K公司50周年纪念多媒体CD |
创建1999 / 更新2026-03-29 |