<<返回总图

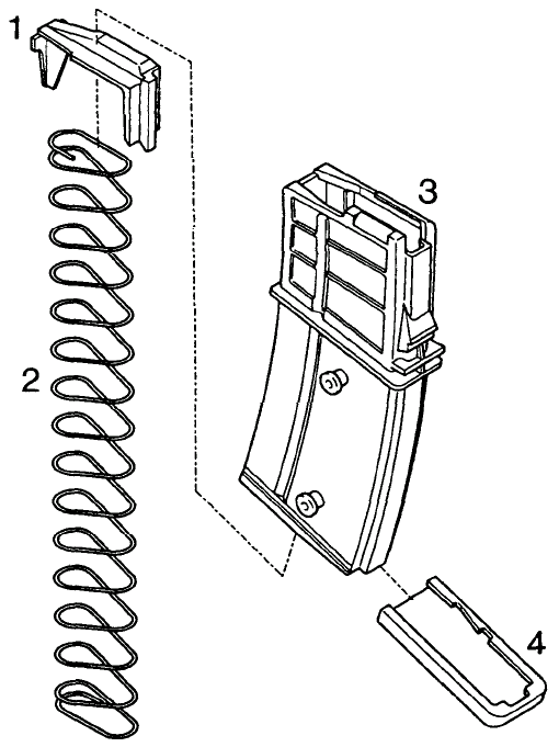
弹匣组件

 

 

1 托弹板 / Follower 4 塑料弹匣体 / Magazine housing
2 输弹簧 / Follower spring 5 弹匣底板 / Magazine floor plate
<<返回总图