| <<·µ»Ø×Üͼ |
ǹ»ú×é¼þ |
¡¡ |
¡¡
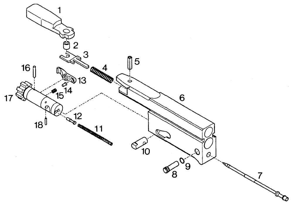
| 1 | À»ú±ú / Cocking handle | 10 | ǹ»úËø / Locking bolt |
| 2 | תÖáÌ× / Bushing | 11 | Å׿Çͦµ¯»É / Ejector spring |
| 3 | ²æÌú / Fork | 12 | Å׿Çͦ / Ejector |
| 4 | À»ú±úµ¯»É / Cocking handle spring | 13 | ³é¿Ç¹³ / Extractor |
| 5 | À»ú±úתÖá / Roll pin for cocking handle | 14 | ³é¿Ç¹³Ïð½ºÖù / Rubber pin for extractor |
| 6 | »ú¿ò / Bolt head carrier | 15 | ³é¿Ç¹³»É / Extractor spring |
| 7 | »÷Õë / Firing pin | 16 | ³é¿Ç¹³Öá / Extractor axle |
| 8 | »÷Õë±£ÏÕ / Firing pin bolt | 17 | »úÍ· / Bolt head |
| 9 | »÷Õë±£ÏÕµæÈ¦ / O-ring for firing pin bolt | 18 | ¹öÖù / Roll pin |
| <<·µ»Ø×Üͼ | ¡¡ | ¡¡ |