|
G3 ◆ G3/SG1 ◆ MC51 ◆ PSG-1 ◆ MSG3 ◆ MSG90 ◆ HK11(G8) ◆ HK21 ◆ HK41 ◆ HK91 ◆ SR9 |

| 视频下载内容 | 下载链接及预览图 | 格式 | 时间长度 | 容量 | 来源 |
| HK21E轻机枪射击演示 | ![]() |
AVI | 13秒 | 2.08MB | HK公司50周年纪念光盘 |
HK21是G3步枪的机枪型号,其自动方式、闭锁方式都和G3步枪相同,而且48%的零件可与G3的互换。
在1961年,当时HK公司正在按照德国国防军的第一批采购合同生产和交付G3步枪,公司高层决定自行研制一种在使用上与G3步枪接近的通用机枪并尝试推销给德国国防军,但德国国防军已经选择了同口径的MG1机枪(后改进为MG3),对HK的新机枪并没有采购意愿。因此HK21便主打外销,其外国用户包括希腊、葡萄牙、墨西哥、瑞典等多个国家,而三角洲突击队创始人查理-贝克韦斯在其自传中也提到过参与营救驻伊朗大使馆人质的“鹰爪行动”中的三角洲队员有装备HK21。而在德国本土,但除了个别单位少量购买外,德国国内装备不多。后来有一种改进了供弹机的HK21A1。大概在1981年开始,HK公司将出口的产品型号都加为E为后缀,因此出口的HK21A1都改称为HK21E。在2000年代初期,HK逐渐停产滚柱式枪机的机枪,HK21/HK23系列则被MG4和MG5系列所取代。
HK21系列可半自动、全自动射击,该枪采用闭膛待击。由于主要是出口,因此通常采用可散弹链供弹。但必要时,可提供使用德国的不可散弹链的改装。HK21采用的是单程输弹、单程进弹的弹链供弹机构,其供弹过程如下:
将可散弹链的导片从左至右推入导弹板中,直至首发弹为阻弹齿限定。由于枪机是在弹链上方作往复运动,所以在把弹链导片插入受弹器之前,必须使弹链开口朝上。这一点与MG3或英国的L7A2机枪都不相同,后两种机枪的枪机都在弹链下方运动,因此弹链开口应朝下。 然后,将机柄后拉到位并松开,枪弹随之被推入弹膛。
曾有资料中提到,如果弹链上没有导片,先使枪待发,将机柄后拉到位并卡入机柄导槽后端的环槽中,再按压受弹器卡笋,把受弹器向左拉出,再把弹链中的首发弹置放于输弹链轮上。但事实上这样做是不行的,因为受弹器向左拉出就会整个拆下来。
机体底部有一曲线槽,与供弹机构电的导桂扣合。击发后,当枪机后座时,导柱便带动两个链轮转动,使次一发弹置于枪机的运动路线上,而将容纳前发弹的空弹链推出枪外。枪机复进时,导柱被推向左侧。此时链轮只能向右转,除非用前面所述的手动卡笋使其解脱。
另外, 如果把HK21的供弹机拆卸下来,然后装上弹匣座,还可配用G3步枪或HK11轻机枪所使用的弹匣或弹鼓。比如G3步枪的20发弹匣,或HK公司研制的80发双弹鼓和50发单弹鼓。比如三角洲突击队所装备的HK21就被发现同时有弹链供弹和弹匣供弹两种状态,三角洲队员经常把HK21配上低倍瞄准镜作为通用支援武器使用:既可以使用单发功能当作狙击手的精确支援武器,也可以使用全自动提供火力压制。以HK21的精度虽然比不上正式的狙击武器,但也不会太糟糕,而且7.62mm NATO弹在有效射程和毁伤能力方面也比卡宾枪发射的5.56mm NATO要强。

早期的HK21原型枪,外观上和G3有相似之处

HK21
![]() ![]() ![]() ![]() ![]() ![]() HK21的弹链供弹机构 |
![]() ![]() ![]() HK21的弹匣适配器 |


弹链的导片




早期HK21的弹链箱并不是挂面枪身下面的方形弹箱,而是这种挂在机匣左侧的FMP鼓形弹链盒,可装100发弹链
HK21A1改进的最大特点是折叠的供弹机,这种新的供弹机构装取弹链均很容易,而且排除故障也比较方便。这种供弹机的受弹器盖是向下打开的,而其他链式供弹机枪(如M60、PKM、MAG等)则一般是向上打开受弹器盖。HK21A1供弹机的工作方式如下图所示:
![]() HK21A1的装弹方式既可以将导片直接插入受弹器盖,也可把受弹器向下打开放入弹链 |
1)枪机复进,带动控制滑板和导柱向右运动(导柱在机体曲线槽中运动);
2)控制滑板使控制环转动,后者又带动输弹链轮轴和链轮反时针旋转;
3)在弹链运动停止之前,卡笋与链轮轴扣合,阻止链轮轴及链轮反时针旋转;
4)枪机后座过程中,枪机通过机体上曲线槽的作用,使控制滑板向左,后者在压紧螺栓及其弹簧的作用下,回到原先开始运动的位置。与此同时,控制环的控制滑板在不受棘轮阻挡的情况下使链轮轴转动1个齿,于是链轮轴恰好在控制滑板停止运动之前被扣合;
5)控制滑板此时位于开始装填下一发弹的位置。
另外HK21A1的供弹机不能换成弹匣供弹。
HK21系列的枪管都可以迅速更换,而且不需要戴石棉手套。枪管护筒的右侧有一个类似于MG42的长形开槽,用于拆卸和安装枪管。在枪管右侧尾部有一个握持枪管用的塑料把手,在把手的后部有一个枪管锁定按钮,按下这个按钮便可把枪管向前移,退出机匣,然后就可向后抽出。

拆卸枪管的方法
除装有两脚架之外,该枪同样可配用三脚架当作重机枪使用,另外还可用作车载机枪。轻型两脚架有两个安装位置:一是直接装于供弹机前方(枪管护筒后端),这样可以增大方向射界,但会让连发时较难控制;另一种方法是将两脚架安装在枪管护筒的前端,它的优点是可以提高连发射击的精度,但缩小了方向射界。
HK21系列的机械瞄具为弧形表尺、觇孔式照门,表尺分划为200~1200米,每100米转动一齿,有风偏修正归零校正功能。而柱形准星可作高低校正。


HK21的表尺
HK21系列所配用的枪架有几种类型。
1100型三脚架是一种弹簧缓冲式三脚架,可以折叠,行军时一人可背在肩上。其火线高能在350毫米至750毫米之间调整,因此可架设在低矮的掩体内射击,也可以在没有掩体可利用的地方实施射击。由于枪比较低,所以目标小,而且能避免枪在射击时发生翻倒。将后面两条架腿折叠起来后,还可以在空间狭小的掩体中使用。两条后架腿之间有43°的方向弧形板,机枪的后部通过高低机支柱连接于方向弧形板上,高低射界为14°。必要时,可迅速将高低机支柱与方向弧形板解脱,枪的水平射界即可达360°。高低机支柱上装有潜望镜式的瞄准镜,因此射手可以在不暴露自己的情况下进行瞄准射击。用这种瞄准镜,还可在方向弧形板止销间进行水平射击,或实施纵深射击。 1100型三脚架折叠起来后的长、宽、高分别为770、570和230毫米,重量为9.2公斤。
2400型圆柱枪架主要是在轻型车辆上使用。采用弹簧平衡的结构安排,将枪托取下,换以机匣后盖,枪即可迅速实施平射、高射或俯射。高低射界为-15°~+75°,水平射界随车辆类型的不同而改变。例如对吉普车或越野车而言,行进间射击左右两侧的水平射界各为90°,车停下来后,射手可离开座位,枪架此时能360°回转。 2400型圆柱枪架还可用于固定防空系统。
2700型高射/地面枪架主要用于装甲车,安装在车顶的舱口上,水平射界为360°,高低射界为-10°~+75°。也可将枪固定于枪架上的某一位置,对地面目标射击。 HK21机枪安装于该枪架上时,枪托也需卸下。
圆形轨道枪架 主要用于载重卡车等非装甲车辆,安装在驾驶室的上方,用以对地面或空中目标射击。 当机枪固定于该枪架上时,水平射界为180°,高低射界为-15°~+75°。安装时,须卸下枪托。 圆形轨道枪架外径为762毫米,内径647毫米,重量33.5公斤,离驾驶室顶篷的高度310毫米,装上机枪后的高度是325毫米。
| 全长 | 1138 mm |
| 枪管长 | 560 mm |
| 枪宽 | 133 mm |
| 枪高 | 210 mm |
| 瞄准基线 | 685 mm |
| 空枪重 | 9.3 kg |
| 理论射速 | 800 RPM |
| 发射方式 | 单发、3发点射、连发 |

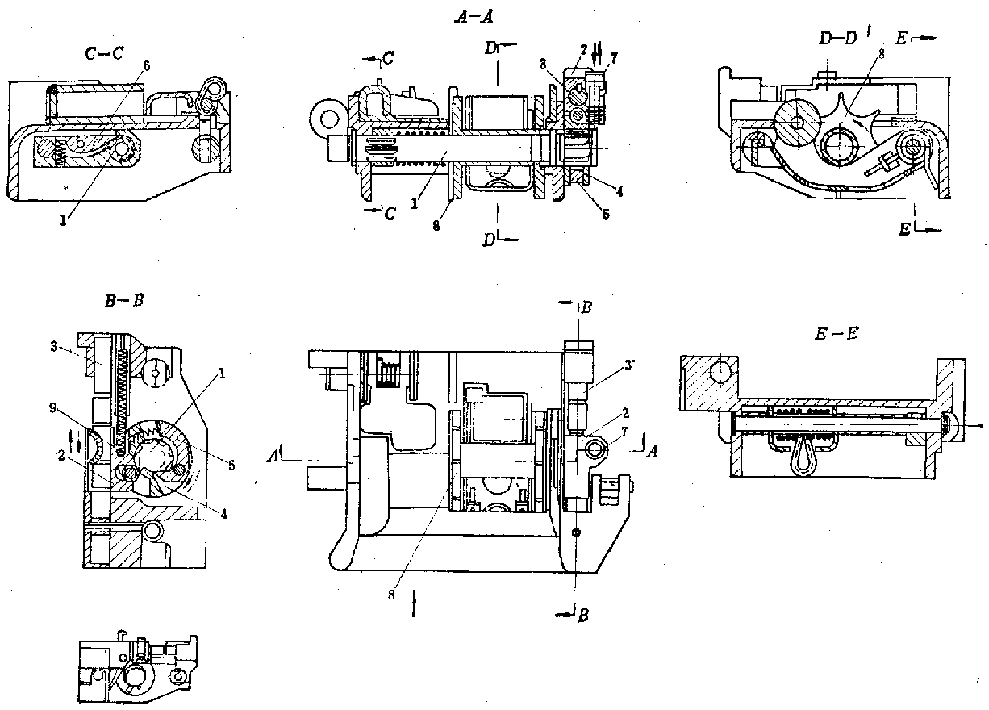
HK21的结构:1-消焰制退器;2-紧定套筒;3-准星套箍;4-准星;5-准星座;6-机柄;7-机柄到位缓冲垫;8-机柄导管;9-复进簧导环;10-复进簧止动销;11-复进簧导杆和复进簧;12-枪管节套;13-闭锁滚柱座夹套;14-机头;15-楔铁;16-机体;17-击针和击针簧;18-(拨动输弹链轮的)滑板及滑板轴;19-导柱;20-单发杆;21-扳机簧;22-击锤;23-抛壳挺及簧;24-表尺压簧;25-表尺座;26-片簧;27-表尺杆;28-调整螺; 29-弧形表尺;30-固定螺栓和有齿垫圈;32-后挡板;33-缓冲簧;34-缓冲器套;35-缓冲器固定螺;36-缓冲器螺栓;37—卡板和有齿垫圈;38-缓冲器套支座;39-枪托;40-托底板;41-带铆钉的片簧;42-枪管;43-止销;44-枪架连接座;45-输弹口导板;46-受弹器座固定卡笋;47-卡笋连杆;48-输弹链轮轴;49-压力滚柱;50-带肘簧的弹簧轴承;60-握把;61-握把组装件;62-带压簧的压轴;63-自锁埋头螺钉; 64-枪管固定栓;65-枪管提把;66-隔板;67-枪管提把座;68-销;69-机头固定杆;70-表尺分划转鼓;71-环;72-两脚架连接座;73-两脚架头;74-紧定销;75-架腿卡笋连杆;76-弹簧销;77-弹簧;78-夹套;80-背带扣;81-导弹板;82-输弹导槽;83-护盖;84-导衬;85-固定栓;86-弹匣扣;87-按钮;88-握把固定销;80-快慢机柄;90-枪托连接销;9l-枪架固定轴销;92-弹簧钩;93-双环扣;94-背带;95-背带活扣;96-背带扣。

安装在三脚架上的HK21A1




另一种类型的三脚架

这是发射空包弹专用的枪管

HK21E的一些通用配件,注意看有背带的圆筒,那是装后备枪管用的。


HK21E(上)与它的弹匣供弹型HK11(下)





美国一家网上枪店上所卖的HK21,虽然安装G3枪托的造型有些像原型,但下机匣却是后期型的




比较有趣的短管型改装,改装者称之为HK21K,因为太短所以在HKPRO上有人称其为HK21E-PDW

这是葡萄牙FMP生产的HK21






1960年代西德联邦国防军正在对HK21和MG1(第4张图)进行对比测试

这不是德军装备的HK21E,而是HK公司的宣传照

在美国,HK21E虽然不是制式装备,但也是曾被一些特种部队少量试装备,不过此图只是一张HK公司的模特拍摄的宣传照。

2002年,
NASA的安全人员在直升机上使用HK21E为航天飞机执行保安任务


这并不是标准的操枪姿势,有条件玩HK21的朋友千万不要在家里模仿啊
注意图中的可散弹链,这是试图向美军推销的采用M13弹链的短枪管HK21E



挪威军队是HK21E的其中之一个用户,注意看右图中这把HK21E的枪口装上了消声器

厄瓜多尔军队装备的HK21E

墨西哥军队也装备了HK21E



2023年3月马来西亚第216届警察节上的公众表演,其中有警察使用了HK21机枪


2005年在阿富汗塔拉博拉山区(Tora Bora)追捕本拉登的三角洲队员,注意后面一位队员的枪是弹匣供弹的HK21E,在文献中将这种弹匣供弹的HK21e称之为“步枪”而不是机枪

三角洲的HK21E看起来是不具有三发点射功能的

三角洲部队的弹链供弹HK21E机枪,从枪上安装的AN/PEQ-15来看,是比较近期的照片

2001年底三角洲部队在阿富汗的照片,地上除了一挺M240B之外,还有一支拆卸了枪管的HK21E步枪
| 资料来源:HK PRO |
创建2000-03-28 / 更新2026-03-31 |