| <IMI首页 |
Uzi冲锋枪枪族 |
|
|||||||||
|
口径: 9×19mm Para ,.45 ACP |

在1948年的阿以战争(第一次中东战争)结束后,一位名叫乌齐·盖尔(Uziel GAL)的以色列军官认为当时以军装备的很多冲锋枪都不适合沙漠战争的需要,便萌生了设计一种新型冲锋枪的念头。乌齐·盖尔本人在以色列建国前就参加了复国组织的地下军队,主要负责武器维修之类的工作,因此有一定的枪械制造经验。经过一番准备后,他在1949年动工,以捷克Sa 23系列冲锋的结构为基础,结合了沙漠环境下作战的需要,用很短的时间就研制出一种结构简单、容易生产的冲锋枪。他提出的设计受到上司的重视,便把他和他的样枪一起送到IMI。在IMI经过两年的修改和改进,并通过了以色列军队的测试,在1951年完成设计定型。据说乌齐·盖尔曾提出不要用他的名字来命名这种武器,但这种新枪还是在1951年被正式命名为Uzi冲锋枪(国内有两种译名,“乌兹”或“乌齐”)。

1963年,乌齐·盖尔正在向德国国防部长讲解他的设计

Uzi冲锋枪由IMI生产,在1954年首先装备以色列国防军的特种部队,两年后开始陆续装备常规部队,后来连非一线步兵的部队也把Uzi作为单兵自卫武器使用,例如机械化部队的车组成员、炮兵、后勤部队等等。早期的Uzi配一个木质枪托,这种型号在1956年的苏伊士运河战争(第二次中东战争)中很常见。后来为了方便机械化部队使用,又出现了折叠式金属枪托的型号,但在1967年的六日战争中,木质枪托的Uzi在非一线部队中仍然很常见。根据不同的市场需求,后来IMI又推出了两种更短的型号Mini-Uzi和Micro-Uzi,以及一种长枪管的半自动卡宾枪和一种半自动手枪。
Uzi的结构紧凑,可靠性高,在历经几次中东战争中,被证明该枪对于机械化步兵来说相当适用,而在进入步兵掩体、战壕的清剿行动中也相当灵活。但由于是发射手枪弹,尽管标尺射程比较远,但实际上在50米射程范围内最为有效。但在比较远的距离上交火时,精度和毁伤效果都不足。正是这些原因,所以以色列国防军最终决定用突击步枪来淘汰Uzi。在1980年代,以色列国防军开始逐步撤装Uzi,但仍然有几个单位少量装备着这种武器,直到2003年12月,以色列国防军才正式宣布,所有的Uzi冲锋枪都从军中退役,但实际上这项退役计划主要是常规部队中的标准型,一些用作高级军官、二级人员的自卫武器或特种部队的近战武器的迷你型和微型冲锋枪仍在服役。






当以军的制式步枪还是FAL的时候,Uzi冲锋枪是很有效的近战火力补充,但当5.56突击步枪大量装备后,Uzi冲锋枪的地位就降低了
Uzi不仅装备以色列军队,还出口到90多个国家作为军队或警察的制式武器,比如德国联邦国防军在1959年把Uzi命名为MP2,作为制式冲锋枪使用(事实上MP5从来不是德军的制式武器,它只装备特种部队和警察),直到最近几年才开始换装成H&K MP7。而葡萄牙在非洲的殖民战争期间,葡萄牙的骑兵、警察和安全部队也大量使用Uzi。爱尔兰军队也是装备Uzi。美国特勤局从1960年代也把Uzi作为标准武器,直到1990年代初才开始逐步用H&K MP5和FN P90代替。斯里兰卡在1990年代还新装备了几千支Mini-Uzi和Uzi卡宾枪,目前部署在陆军、海军特种部队和斯里兰卡警方。
除了在IMI生产外,也有其他国家仿制,例如比利时FN公司就特许生产Uzi,而罗得西亚在1970年代末期也获得生产许可证,罗得西亚的Uzi被命名为“Rhuzi”。另外在中国、克罗地亚和其他一些国家也有未经许可的生产。有些国家还生产有.22 LR、.41 AE或.45 ACP等不同口径的型号(IMI也生产过.45 ACP的型号),而且还有些厂商推出.40 S&W和10mm AUTO的转换套件。
迄今为止世界各国生产的Uzi系列已经超过1千万支。其中绝大部分是IMI出产。但乌齐·盖尔并没有收到Uzi冲锋枪的专用使用费,乌齐认为他作为一名职业军官是在为国家安全作出贡献,不应该接受这笔费用。乌齐·盖尔服役了27年,他在服役期间因为设计过Uzi冲锋枪而获得了多项奖励,在1975年以中校军衔退役后就移民到了美国。在以前国内有文章提到乌齐·盖尔终身在改进Uzi冲锋枪,其实这并不完全正确。乌齐·盖尔在完成Uzi标准型的生产定型后就没推出其他新的设计,后来的Mini-Uzi和Micro-Uzi的研制都与他无关,甚至根本没过问过他,不过他在1980年代初期确实设计过一种Uzi冲锋枪的改进型,原本打算在加拿大生产,但并没有成功,后来设计卖给了美国斯特姆-鲁格公司,后者对该枪稍作改进并在1994年推出了MP9冲锋枪,但仍然没有取得商业上的成功。乌齐·盖尔于2002年去世,据说去世前还在从事与轻武器有关的工作,但除了Uzi冲锋枪,他再无其他成功的作品。
从结构设计上看,尤其是枪机的设计特点表明,Uzi的起源主要是捷克的Sa 23型冲锋枪和ZK476冲锋枪,另外,英国军队在1944年设计的几种冲锋枪的原型也和Uzi有相近之处,乌齐·盖尔的设计可能是博采众长的成果。

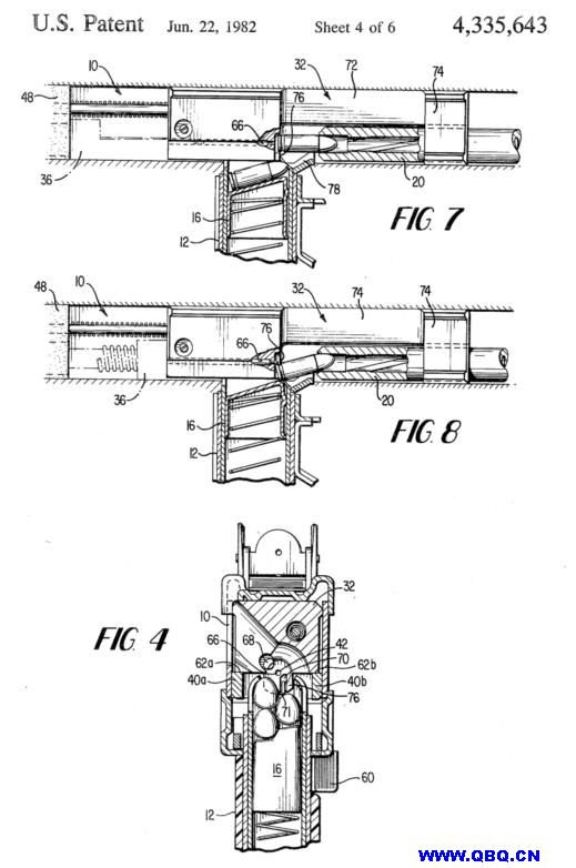
Uzi采用自由式枪机(惯性闭锁),枪机结构为包络式(也称为套入式),这种结构的优点是结构紧凑。其弹底窝平面离枪机前端面有101mm。在枪机闭锁、击发瞬间的时候,枪机的前部有很长一段套在枪管尾部。这样既可以缩短全枪长度,又可以在万一发生早发火或迟发火等故障的情况下避免损坏枪的工作机构或伤害射手。而且由于该枪采用前冲击发,可以抵消一部分火药气体压力冲量,因此在同等效果下,其枪机重量能比采用闭膛待击的自由式枪机的重量减轻一半。
由于采用前冲击发,因此当枪弹还未进入弹膛时,击针与枪弹底火是不对正的,并以此形成击发前的机械保险。此外,机柄槽中还有一个棘齿保险,当机柄因某种原因向后移动超过48mm之后(枪机弹底窝平面刚好后退到弹匣口的后方),即使机柄滑脱,枪机也不能复进推弹入膛,因为此时棘齿保险会将枪机挂住。当机柄后退到位后,卡环移到最前方,枪机方能复进。这样就可避免发生枪跌落“走火”。

快慢机位于握把左侧上方,为滑动式,有三个装定位置:装定于“A”为全自动射击,装定于“R”为半自动, 装定于“S”为保险。扳机连杆前端连接有单发杆。阻铁为双叉形,单发杆位于两叉之间。
当快慢机柄装定于全自动位置时,扣压扳机,扳机连杆向下并带动单发杆下降,单发杆将阻铁压在下位。所以,只要不松开扳机,阻铁就一直不能上抬,枪机便可无阻地进行往复运动,直至弹匣中的枪弹打完为止。若在射击过程中松开扳机,单发杆随扳机连杆上抬,阻铁在其簧力作用下上升,卡入枪机的待发卡槽之中,枪机被挂于后方位置。
当装定于半自动位置时,扣压扳机后,单发杆不仅被扳机连杆拉向下而且绕快慢机轴延伸段转动。这样,单发杆便从阻铁两叉之间滑出,阻铁随之上抬卡入枪机底面的待发卡槽。 若要再次击发,必须松开扳机使单发杆向后转入阻铁两叉之间以重新与阻铁扣合。此后扣压扳机可发射另一发枪弹。
除了快慢机上的保险装置外,Uzi上还有一握把保险,位置在握把后方。握把保险卡笋位于扳机的右侧(单发杆旁)、阻铁下方,它可以阻止阻铁下降,如果不压下握把保险,枪就既不能成待发也不能击发。握把保险的动作原理如下图所示。当射手紧握握把时,使握把保险向前压到位,握把保险杆会前移,其上面的卡笋也向前面离开阻铁。此时便可扣压扳机使阻铁下降,让枪机复进,完成推弹入膛、击发等动作。

握把保险动作示意图:
1-阻铁;2-枪机后卡槽;3-枪机;4-枪机待发卡槽;5-握把保险卡笋;
6-握把保险及弹簧。
(a)阻铁卡入枪机底面的后卡槽,握把保险未被压下,枪机无法向后,枪不能成待发状态;(b)阻铁卡入枪机底面的待发卡槽,枪成待发状态,由于握把保险未被压下,无法扣动扳机;(c)压下握把保险,扣压扳机,阻铁下降,解脱枪机,枪机复进击发枪弹。
对于使用开膛待击、前冲击发的武器来说,握把保险的意义在于即使枪不小心跌落也不会意外击发。但也有个别射手不喜欢Uzi的这个设计,他们认为这个保险装置的用处不大,而且不习惯的人可能因为握不到正确的位置,或者因为紧张而出汗的手掌会滑出握把保险的下方,使保险不能压到底。因此有些人干脆用电工胶布缠紧握把保险,使其长期处于打开保险状态。
准星为一个锥形柱,偏心地安装在带螺纹的圆柱形准星座上。松开其上的紧定螺,可以作高低和水平归零校正。照门为“L”形翻转式表尺,两个觇孔照门对应的射程分别为100和200米。由于拉机柄位于机匣盖的顶部,因此在拉机柄中间有一个大的“U”形开孔,作为瞄准线的通道。
Uzi的弹匣插在握把内,这个位置便于快速更换弹匣,尤其是夜间视线不良的条件下。而弹匣则是直接使用伯莱塔冲锋枪的双排双进弹匣,弹匣壁上有观察孔,能看到剩余弹量。双双进弹匣的优点是枪机推弹时只需要较小的枪机能量,而如MP40、司登,M3A1等双单进弹匣在推弹时需要的枪机能量较大,这样出现故障的机会更大一些。而且双排单进弹匣如果没有工具辅助的话装填会比较困难。
最初的弹匣容量为25发,以色列军队也曾试用过40发弹匣,然而40发伯莱塔弹匣比较容易出现供弹故障,于是这种弹匣很快就停产和退役。最终Uzi的标配弹匣定为32发。但IMI也为客户提供有20发、25发、40发和50发等不同容量的弹匣。此外,IMI还生产有10发的.41 AE和.22 LR弹匣,和16发的.45 ACP弹匣。其他的生产商也生产有50发的弹匣或100发的弹鼓,如美国的Vector Arms公司。Uzi有一种专门的弹匣并联器,可以把两个弹匣呈“L”型联结在一起。据说使用这种方式并联弹匣时,由于在枪管下方增加了重心,有助于降低枪口上跳。
![]() IMI生产的.45 ACP型Uzi,图中的枪就使用了弹匣并联器 |
![]() 使用弹匣并联器的Mini Uzi |

这把Micro Uzi用3个弹匣并联器把4个弹匣联结在一起

装有100发
弹鼓的Mini Uzi
Uzi大量采用冲压和焊接工艺,以降低成本和减轻重量。机匣由重规钢板制造,其两侧冲压有加强筋,一方面可以提高强度,另一方面可容留泥沙、油垢等污物,有助于使枪在遇上风沙和泥水等恶劣的条件下可靠动作。机匣前端焊有96mm长的枪管定位套筒,套筒前端外表面有螺纹,和枪管固定螺帽相连接,而使枪管在机匣中可靠定位。导弹板焊接在机匣上弹匣口的前方,抛壳挺铆在其后方。前托为高强度塑料件,前托与机匣之间有间隙以便于散热。
该枪的标准附件有刺刀、背带、枪榴弹发射插座、夜间射击的照明装置、空包弹发射器、 通条和瞄准具归零校正用的扳手等。
分解步骤如下:
取下弹匣,将机柄向后拉,检查膛内有无枪弹,然后将枪机放回前方;
压下表尺座前的卡笋,取下机匣盖;
将枪机后拉64毫米,分解出枪机、复进簧、复进簧导杆和后挡板;
拧下枪管固定螺帽,向前抽出枪管;
推出发射机座固定销,卸下发射机组件。



标准型的刺刀

早期IMI自己生产过的一种战术灯,比SURE-FIRE还早得多,现在也早已经停产


供保镖携带Uzi的专用公文箱



在1981年3月30日美国里根总统被行刺时,特勤局特工Robert Wanko就是从这种公文箱里拿出一把Uzi冲锋枪的,地上放着一个打开的提箱就是这种箱

可以直接在箱子里射击的Uzi提箱枪
|
资料来源:国防工业出版社出版《国外轻型步兵武器》下册 |
2012-04-06 |