首页/更新列表轻武器主题相关装备相关内容敝站说明友情链接

俄罗斯轻武器

AK-74俄文手册

 

 ←卡拉什尼科夫专辑首页

 

第1页 整枪 第2页 枪管和节套 第3页 表尺座 第4页 准星座 第5页 护木箍
第6页 上护木/导气管 第7页 表尺 第8页 机框和枪机 第9页 机框组件 第10页 枪机组件
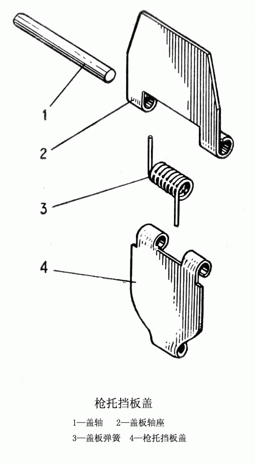
第11页 复进簧组件 第12页 枪托组件 第13页 枪托挡板 第14页 下护木 第15页 握把
第16页 击发机构 第17页 击发组件 第18页 击锤延迟器 第19页 零散零件 第20页 弹匣
第21页 刺刀 第22页 刺刀结构 第23页 刀体 第24页 刀鞘 第25页 固定带
第26页 挂带 第27页 刀鞘体 第28页 刀鞘剪切口 第29页 附品和附品筒 第30页 附品筒
第31页 桥夹 第32页 桥夹结构 第33页 压弹接口 第34页 通条 第35页 油壶
第36页 背带 第37页 弹匣袋 由于我不懂俄文,感谢BMW_325提供的翻译

 

参考资料:

←卡拉什尼科夫专辑首页

2003-05-23

首页/更新列表轻武器主题相关装备相关内容敝站说明友情链接