| 俄罗斯轻武器 | PP-90M1冲锋枪 |
|
|
口径: 9×19mm 7N21 / 7N31 |


| 视频下载内容 | 下载链接及预览图 | 格式 | 时间长度 | 容量 | 来源 |
| PP90和PP90M1介绍 | ![]() |
WMV | 2分30秒 | 6.29MB | RUSSIAN MILITARY ANALYSIS |
PP-90M1冲锋枪是KBP设计局最新研制的,尽管它的名称听起来很容易令人误解成它是PP-90折叠式冲锋枪的改进型,但实际上PP-90M1完全是一种全新设计的武器。由于PP-90M1采用一种大容量的螺旋弹筒供弹,因此看起来与PP-19“野牛”冲锋枪相近。然而,PP-90M1最特别的地方是,它可以通过一个适配器而使用普通的盒形弹匣,这样比起螺旋弹筒的携弹能力会减少一半,但重量会比较轻,外形也相对比较小。
PP-90M1采用传统的自由式枪机工作原理,枪身主体由塑料制成,向上折叠的枪托由钢板冲压而成。保险/快慢机柄位于枪的左侧,在板机上方的位置。机械瞄准具很“紧凑”很低矮,因此不方便快速瞄准。螺旋弹筒由塑料制成,而盒形弹匣是用金属制成的。PP-90M1发射俄制的7N21或7N31型9×19mm穿甲弹而不是9×18mm PM手枪弹,这两种弹的膛压相当于9×19mm的+P+或+P++级手枪弹,但也可以发射任何军用或商业型的9×19mm北约标准弹。
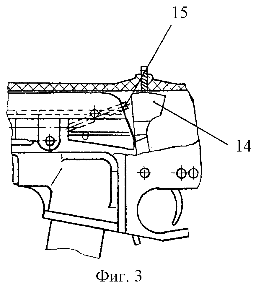
PP-90M1最特别的地方在于装填拉柄是“按钮”,位于枪口上方,要用一根手指来压(还不容易做得到)枪机,而且也不安全,在装上消声器后还会影响上膛动作,真是怪异的设计。另一个奇怪的地方,就是分解的方法。如果要分解PP-90M1,先要把弹匣上方的分解旋钮旋出来,当旋出这个旋钮后,就能从枪的前方依次取出枪管、枪机和复进簧。虽然分解过程需要任何辅助工具,但光是旋出分解旋钮就得花大约20-30秒。由于这个怪异的上膛系统,麻烦的分解和组合过程,使用困难的瞄准具,这些奇怪而失败的设计,除了好奇心外,没什么能让买家再多看一眼。因此PP-90M1目前还没有被获得采用。
| 全长 | 枪托折叠 | 424 mm |
| 枪托展开 | 620 mm | |
| 空枪重(不含弹匣) | 1.7 kg | |
| 射速 | 500 RPM | |
| 弹匣容量 | 盒形 | 32 rds |
| 螺旋形 | 64 rds | |
| 有效射程 | 200 m | |

注意看扳机上方的快慢机/保险柄和弹匣上方的分解旋钮

PP90M1奇特的上膛方式,把枪口上的“推机钮”向后压





PP90M1奇特的击发机构:14是击锤,15是斜向下的击针

|
2004-07-08/2014-03-13 |