| <南非轻武器 | Neostead霰弹枪 |
|
|
口径: 12Ga - 2¾" 或 3" |

| 视频下载内容 | 下载链接及预览图 | 格式 | 时间长度 | 容量 | 来源 |
| Neostead霰弹枪射击 |
![]() |
MP4 | 56秒 | 3.75MB | YouTube.com |
Neostead(音译“尼奥斯泰德”)霰弹枪是由两个南非工程师在1990年代初期共同设计的,一个叫托尼·尼奥菲图(Tony Neophytou),另一个叫威尔摩尔·斯特德(Wilmore Stead)。他们在1991年申请了一种枪管滑动式供弹的泵动霰弹枪专利,然后在1993年又申请了一项双管弹仓的设计专利,并在这两项专利的基础上开始设计一种新式霰弹枪。新霰弹枪的工程样机在1990年代末推出,并于2001年以Neostead(把Neophytou和Stead合起来)的名称正式公布第一个生产型(也称为NS2000霰弹枪)。南非的特维洛公司(Truvelo)在2002年开始试产Neostead霰弹枪,在2003年正式量产,目前特维洛公司仍然是Neostead霰弹枪的生产和销售商。
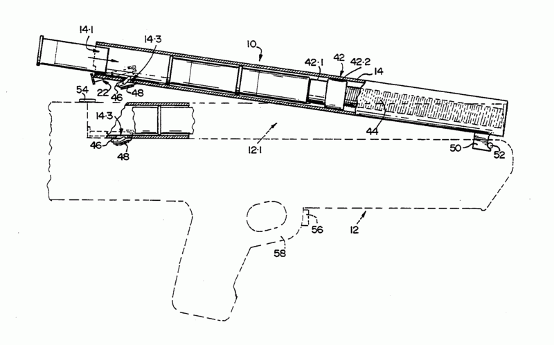
Neostead霰弹枪最大的特别就是它的动作原理,枪机是固定的,枪管前后移动来实现上膛、抛壳的动作。类似的结构其实不是只有Neostead霰弹枪一种,例如在第二次世界大战末期,德国韦茨拉尔的黑斯工业公司就试验过采用枪机刚性闭锁、装弹时枪管向前运动的半自动步枪,不过Neostead霰弹枪在具体实现的技术上有所不同。另一个相似就是俄罗斯的RMB-93霰弹枪,同样是枪机固定、枪管移动,而且弹仓位于枪管上方。不过RMB-93霰弹枪是有托布局,而Neostead霰弹枪是无托布局,所以其枪管长有570mm,而全枪长只有690mm。
操作时,向前推护木,枪机开锁,枪管组件向前运动,如果膛内有弹壳则会被抽出并被向下抛出;然后向后拉护木时,供弹机构从弹仓中取一发弹,送到托弹板上,当枪管向后运动时,枪弹先被顶入弹底窝,枪管再将枪弹从前面带到后面。在枪管运动到待击位置时,机匣底部的闭锁凸笋被强制抬起,卡入枪管中的凹槽,使枪管与机匣闭锁在一起。扳机护圈前面的制动销将枪管锁住,下护木前面的制动销也强制性地锁住下护木。射击完毕,下护木上的制动销自动抬起,以便重新装弹。如果未击发而要退出膛内的实弹,必把护木制动销压向前方,使枪管开锁,才能拉动护木退膛。该枪还有不到位保险,如果枪管与机匣没有完全闭锁,则不能击发。
![]() 枪管处于闭锁状态 |
![]() 枪管处于开锁后前推状态 |
Neostead霰弹枪的第二个特点是它的双供弹系统,在枪管上方并列有两个管状弹仓。弹仓前端铰接在枪身上,装填的时候,按下提把后端的弹仓固定按钮,把弹仓后端向上抬起,然后直接往弹仓内装弹。在弹仓尾部位于两个弹仓之间有一个供弹选择杆,射手可选择用左边或右边的弹仓供弹,或两侧交替地供弹。这样的设计比起传统的只有一个管状弹仓的设计,优点是容弹量大而长度短,每个弹仓容弹6发,合并12发。而传统的管状弹仓霰弹枪若容弹超过7、8发,枪就会显得特别长。由于采用双管弹仓的设计,再加上无托结构,因此Neostead霰弹枪的外形就特别紧凑。
另外这样的设计也在战术上有一定的灵活性,例如,可以在一个弹仓中装大威力的鹿弹,另一个弹仓中装非致命的橡皮弹;或一个弹仓中装鹿弹,另一个弹仓装独头弹等等,让射手因应具体情况进行选择,不过如何避免选错倒是个问题。虽然每个管形弹仓的上方有6个纵向槽,可以方便射手观察存弹数,不过如果装填两种弹药,最好要用不同颜色的弹壳。
![]() 供弹选择杆摆在中间位置是交替供弹 |
![]() 供弹选择杆摆在左边位置是右侧供弹 |
不过据说双管弹仓的供弹可靠性低于传统霰弹枪。例如使用比较长的3英寸弹(76mm)时,有时会卡在管形弹仓里。幸好在弹仓上面的6个纵向观察槽也可用于排除故障——用适当的工具如瑞士军刀伸进去拨弹。
Neostead霰弹枪外壳为高强度聚合物一次注模成型,小握把、提把与枪托为一体式结构。枪管、闭锁机构和机匣由钢制成,管状弹仓及大部分部件由轻质合金制成。机匣后部用玻璃纤维增强塑料制成,表面氧化处理。
击发机构位于机匣下面抛壳口部位,扳机作用于由钢板冲压而成的长扳机尾上,扳机力约35N。手动保险装置有2个,一个是扳机尾前面的小保险片,它直接作用于扳机尾,将保险片向前推,即解脱保险,反之则为保险状态。另一个是下护木制动销。小握把左侧有一个分解按钮,按压分解钮,可在数秒钟内将机匣后部分解开来。在枪身前端、双管弹仓之间焊接有一块连接枪背带的背带环,另一背带环在枪托后面。
顶部有一个提把,提把上装有“鬼环”式瞄具,瞄准孔直径4.5mm,准星宽3.2mm,瞄准基线长120mm。用内六角扳手可以对瞄准具进行方向和高低调整。此外还有附件导轨可安装各种辅助瞄准装置,如激光指示器、白光瞄准镜或夜视瞄准仪等。
据说Neostead霰弹枪的击发机构存在问题。有记者试射时出现了2次走火。他估计可能性是击针被粘在击发机构上,也可能是由两部分构成的长扳机尾造成的——由于惯性,扳机尾在与击针式击发机构啮合之前,击针自动突出而打击枪弹底火。不过这样的问题应该可以通过设计更改来解决。
据说Neostead霰弹枪正在一些部队里试验,例如英国SAS,但目前还没有大规模装备的订单。Neostead霰弹枪也正在一些国家的民用市场上销售,只要它能符合那个国家的法律,据说有可能出现一种容弹量为5+5的缩短型。
| 全枪长 | 690 mm |
| 枪管长 | 570 mm |
| 空枪质量 | 4.1 kg |
| 弹仓容弹量 | 2×6 rds |
| 瞄准基线长 | 120 mm |


![]() 抛壳的动作 |
![]() 装填新弹的动作 |






|
资料来源:Truvelo |
2009-12-24 |