| →SIG专辑首页 |
SG550 Sniper |
|
||||||||||||
|
口径: 5.56×45mm NATO |

1988年,SIG公司在SG550突击步枪的基础上研制出SG550狙击步枪。SG550狙击步枪实际上是使用重型枪管的单发型SG550突击步枪,但SIG公司强调SG550狙击步枪是在警察和特种部队的密切合作下研制成功的,并经过严格的测试。这是一种适合在近程和中程使用的狙击步枪,射速快但精确,而且有持续射击能力,而且也通过了瑞士军队进行的严格的恶劣环境可靠性测试。但由于在当时的观点认为军用狙击步枪应该能够进行远距离精确射击的7.62mm口径手动步枪,还未像现在这样流行起小口径的中近距离狙击步枪(即那些所谓的精确射击步枪),所以在当时SG550狙击步枪被认为不适合军队使用。
但由于警方狙击手或反恐作战的狙击距离通常都在100米以内,而且不需要像军事行动中的狙击手那样需要经常转移,即使呆在同一个位置上连续射击也不用担心会有炮火反击,因此SG550狙击步枪被认为是极适合警察使用的武器。该枪在1989年推出市场后,瑞士联邦警察部队和约旦王宫卫队都订购了不少SG550狙击步枪,但除此之外再没有其他大宗订单(所谓大宗也只是针对于狙击步枪这种装备数量本来就不多的武器而言),所以SG550狙击步枪的产量很少,目前也不清楚还有没有其他国家装备此枪。不过在2010年印度尼西亚的反恐怖部队Aceh手中发现过一支SG550狙击步枪。
由于该枪是基于SG550突击步枪改进而来,因此SG550狙击步枪的结构原理与SG550突击步枪甚至一致,也是采用长行程导气活塞的自动方式,复进簧缠绕在活塞杆上而位于枪管上方,这样的设计是为了提高连发精度,虽然SG550狙击步枪没有连发功能,但这样的设计只是为了减少设计新枪的工作量。
![]() 正常使用时的气体调节器位置 |
![]() 增大导气量的气体调节器位置 |
和SG550突击步枪一样,SG550狙击步枪的导气箍上也有气体调节器,但因为狙击步枪没有发射枪榴弹的需求,所以其气体调节器就取消了关闭导气孔的功能。
和突击步枪不同,SG550狙击步枪的机匣表面有哑光的灰色粉末涂层。握把、护木、枪托等塑料部件的表面均为黑色,而在1994年之前其他SG550系列突击步枪的塑料部件均为绿色。
SG550狙击步枪的高精度主要是来自于精密的重型枪管+敏感的两道火板机。击发机座从外表看起来和突击步枪一样,但在内部结构上,SG550狙击步枪和标准的SG550突击步枪的击发机构相比扳机簧少了三圈,再加上重新设计的阻铁,使其扳机扣力35N(7.9磅)减少到15N(3.4磅),而扳机行程约4.1mm,扳机动作顺畅。这种扳机力不能由射手自由调整,在其用户手册上也说明这个击发机构已经优化过,没有调整扳机的必要,如果射手随意改变击发机构,很可能导致保险装置失效。许多试射过的人都赞扬SG550狙击步枪的扳机感。
在击发机座两侧都有手动保险柄,因此无论右撇子还是左撇子射手都能方便操作。但由于只需要单发射击,因此虽然SG550狙击步枪的保险柄和突击步枪的快慢机柄外形相同,但只有保险和射击两档。和突击步枪一样,SG550狙击步枪的扳机护圈也可以向左或向右掰开,以便射手戴上厚厚的防寒手套后也能扣扳机。
SG550狙击步枪的枪管比SG550突击步枪要长,为650mm;枪管壁很厚,枪口处的外直径有19mm;枪管内有6条右旋膛线,缠距为254mm(1/10英寸),这样的设计是为了适合多种弹药,包括了瑞士军队自己装备的GP90钢芯弹,也可以使用北约SS109标准弹,而早期M16A1所使用的M193弹也能直接使用。出于精确射击的需要,枪膛内没有镀铬,而且枪口也没有安装消焰器。又厚又长的枪管使SG550狙击步枪减少了射击时的振动,不过比起突击步枪则大大地增加了重量。枪管的冶金性能并没有公布,但和突击步枪一样都是锻造的,并螺接到机匣上,表面有磨砂黑色不反光涂层。
SG550狙击步枪有很多方便用户自行调节的人机结合面,以适应不同射手的身体特征和使用习惯,让射手能更快速地捕捉和瞄准目标,这些调节的功能包括:
托底板上下移动(抵肩位置的高低)
托底板旋转
托底板伸缩(枪托长度)
贴腮板高低移动(贴腮位置的高低)
握把前后(倾斜角)
握把底座高低(与手掌底部的贴合)
瞄准镜座左右(轴向)
瞄准镜座前后(出瞳距离)
两脚架伸缩(高低)
两脚架左右旋转
两脚架倾斜角

握把的倾斜角度可调,握把下面托手掌的底座板的高低也可调

枪托上的可调部件:1为调节贴腮板高低,2为调节托底板长度,3为调节托底板高低,4为固定托底板安装环的内六角螺杆,5为固定托底板左右旋转角度的内六角螺杆,6是一条带磁力的槽,收藏了一个内六角扳手。
在枪托底部有一个带磁力的凹槽,收藏了一个六角扳手,其中有几个功能调节要使用这个工具来旋转内六角螺杆。此外,整个聚合物枪托在不使用时可以折叠到机匣右侧,缩短步枪的存放或携带尺寸。
SG550突击步枪原本就在下护木安装有一个两脚架,并且可以收容在下护木底部的两道凹槽内。虽然SG550狙击步枪的下护木仍然维持原来的设计,不过简单的两脚架改为派克-哈尔的可调式两脚架,如前所述,它可以调节高度和倾斜角度,又能平稳地左右转向,每根腿架底部都有一个可旋转的橡胶垫。不过由于这个两脚架的尺寸和外形偏大,所以下护木的脚架收容槽对于狙击型来说是多余的,SIG估计只是出于节省成本的做法而直接使用突击步枪的下护木。
SG550狙击步枪没有机械瞄具,只能使用光学瞄准镜进行瞄准。瞄准镜座为固定在机匣顶部,采用北约2324标准导轨,可使用欧洲式的瞄准镜固定环和夜视装置。SIG公司提供了固定倍率或可变倍的蔡司(Carl Zeiss)、亨索尔特(Hensoldt)和克恩(Kern)的瞄准镜供用户选择,不过由于没有枪口消焰器,使用夜视瞄准镜射击时可能会有些影响。在护木上面有一根黑色的弹性布带,是防止因为暴晒或射击后发热的枪管在瞄准镜前方产生歪曲图像的热浪。
SG550狙击步枪的弹匣是直接使用原突击步枪的弹匣,和SG550突击步枪一样,狙击步枪标配的弹匣容量为20发,不过SIG公司也另外提供有5发的小容量弹匣单独销售,而30发的大容量弹匣也可使用。
每支SG550狙击步枪配套的附件还包括一套维护工具包、背带、弹匣快速装弹器、扳手,此外还有一个专用枪箱,可放入折叠枪托后的SG550狙击步枪、几个弹匣和上述附件。
曾经有人用多种弹药测试过这把步枪,在100码距离上射击5发一组,使用包括突击步枪使用的SS109普通弹、量产的比赛弹和自己的手装弹,每种弹药都射击多组。当使用军用的SS109普通弹时精度不稳定,最好的一组散布小于1英寸,最大一组也超过2英寸。但使用比赛弹和手装弹时精度相当稳定,每组之间的差异很小,平均能在1英寸左右。
| 枪长 | 枪托展开 | 1130mm |
| 枪托折叠 | 905mm | |
| 枪管长 | 650 mm(25.6") | |
| 全枪高 | 285 mm | |
| 膛线 | 6条,右旋,缠距254mm(1/10) | |
| 空枪重 |
5.4 kg |
|
| 含亨索尔特1.5-6x42mm瞄准镜重 |
6.2 kg |
|
| 瞄准基线长 | 540 mm | |
| 发射方式 | 单发 | |
| 弹匣容量 | 5,20,30 rds | |



狙击型只有单发功能

和SG550突击步枪一样,SG550狙击型的扳机护圈也可以向上翻起,方便戴上防寒手套后射击


全可调枪托可向右折叠

由于枪托为全可调,所以部件较多

配套的微光夜视镜

枪箱
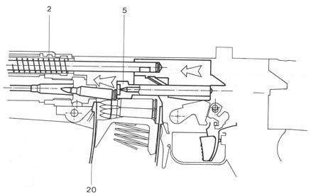
| 上膛后,击锤处于待发位置 |
|
| 击锤打击击针,击针撞击底火 |
|
| 弹头经过导气孔后,火药气体进入导气室,推动活塞进行自由后坐,活塞杆推动机框开始后坐 |
|
| 机框带动机体回转,机头的闭锁凸笋转动开锁 |
|
| 枪机开锁后,枪机组开始在膛内气体压力下后坐,同时抽出弹壳并抛出 |
|
| 枪机组在复进簧的作用下复进,同时推弹上膛 |
|
| 枪机旋转闭锁 |
|



瑞士反恐怖部队Kantonspolizei Zürich的狙击手



印尼反恐部队Aceh

| 资料来源:Swiss Arms公司网站 |
创建2001-01-18 / 更新2023-11-28 |