| →SIG专辑首页 | Stgw.57/SIG 510步枪 |
|
口径: 7.5×55mm GP11 / 7.62x51mm NATO |
||

| 视频下载内容 | 下载链接及预览图 | 格式 | 时间长度 | 容量 | 来源 |
| Stgw57步枪射击 | ![]() |
RMVB | 44秒 | 2.48MB | YouTube.com |
Stgw.57自动步枪是SIG公司在1954-1957年间研制,该枪参考了德国的毛瑟StG.45突击步枪和西班牙CETME步枪的原理,但采用瑞士的7.5×55mm口径步枪弹。该枪在1957年被瑞士军方采用,此外还有一些出口型和民用型,这些型号包括有:
SIG510-1,与Stgw.57基本相同,只是发射7.62×51mm NATO弹,该枪仅为样品。
SIG510-2,是减轻重量的SIG510-1,口径相同只是枪管较薄和不带两脚架,因此后座也较大,该枪仅为样品。
SIG510-3,发射苏联7.62×39mm M43弹,长度较短,该枪仅为样品。
SIG510-4,口径为7.62×51mm NATO,该系列中唯一批量生产的型号。
PE-57,口径为7.5×55mm的半自动型,在瑞士作为训练和娱乐及运动射击。
SIG AMT(美国比赛靶枪),是SIG510-4的半自动出口型,取消了刺刀座和枪榴弹发射器,折叠瞄具被比较传统结构代替。
除军用型Stgw.57外,只有PE-57、SIG AMT和SIG510-4被大量生产。有快慢机的SIG510-4被智利和玻利维亚军队采用,口径为7.5x55mm的半自动PE-57则在瑞士民间市场出售,而SIG AMT和SIG510-4半自动步枪是出口民用市场的主要产品。现在,瑞士军中的Stgw.57早已退役并被Stgw.90/SG550突击步枪所代替。
Stgw.57/SIG510-4的自动方式采用滚柱闭锁的枪机延迟后座原理,是西班牙CETME步枪的闭锁机构的进一步改进。该枪以射击精度高而闻名,虽然外形古怪,但该枪在北欧一些国家的地位有如M14在美国的地位一般,至今仍能在一些射击比赛上看到它的身影。
![]() Stgw57的原型AM55 |
![]() 从AM55至Stgw57 |
![]() SIG510系列 |
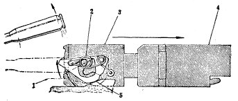
如所示,机匣是用1.5mm厚的薄钢板冲压而成,两端各插入一个钢颈环,并用铜焊固定,分别作为枪管节套环和固定枪托的连接部。机匣前后两部分的强度都比较高,后部装枪托和复进簧,前部容纳枪机和滚柱座。滚柱座是用螺纹固定的,这样,当它磨损时(用塞规插入闭锁状态的机头和机体之间进行测量),即可拧下予以更换。
枪机呈长方体状,由机头和机体两部分构成,两者用一横销连在一起。闭锁滚柱的直径比赛特迈和HK步枪上的闭锁滚柱大得多。由于滚柱外表装有小衬块,所以其几何形状也有所改变。这样做的好处是,加大滚柱和机头内侧的接触面,减小衬块和机头之间接触线上的表面应力。
该枪采用冷煅枪管。如同其它采用枪机后座原理的武器一样,为便于抽壳,弹膛内壁有16条纵槽,从弹膛口部向后延伸30mm。枪管上装有发射枪榴弹用的密封环,枪口有消焰制退器。枪管后部套有带孔的护筒,两脚架装在准星后面,可以折叠。必要时,可折拢架腿,转动两脚架,将其置于枪管上方。刺刀装于准星环座下面的刺刀座上。
![]() 上刺刀的Stgw57 |
![]() 发射枪榴弹的姿势 |

上刺刀的PE57与AMT,枪口装置的不同也显示出Stgw57与SIG510-4的不同


准星和照门
击锤、阻铁、枪托卡笋和准星座均为精密铸造件。
准星为柱形,准星装在护圈内,由弹簧固定。准星上的瞄准点是亮点。准星座可在燕尾槽中横向移动,进行水平归零校正。高低归零校正时,用专用扳手将准星拧入或拧出。
表尺装在表尺框上,有一大的觇孔照门。表尺上有压扣,借助于该压扣,表尺框能在表尺座中上、下移动,以调整射程装定。射程装定从100米至640米,其中100~200米处以50米为一个增量,从200~300米处以30米为一个增量,从300~640米处以20米为一个增量。
该枪可配用Kern 4x24瞄准镜,该瞄准镜重730克,通过夹座固定于机匣上,放大倍率为4,射程调节从100米至600米,夜间使用时可照亮分划。另外还可装红外瞄具或图象增强瞄具。
Stgw.57/SIG510-4步枪固定装有一个较长的冬用扳机,同时兼作发射枪榴弹的扳机。不使用时,可向上折起,平放于机匣下面。当往下推时,其上的短臂伸出,以带动通常的扳机。
枪托内可容纳附品筒,装具、塞规、准星扳手以及擦拭工具平时均装在附品筒内。
该枪用空包弹可发射埃内加榴弹。空包弹通常是装在专用弹匣中,以避免误用普通弹发射榴弹。
把实弹匣插入弹匣插座中,直至扳机护圈前的卡笋扣合为止。将T形机柄向后拉到位,然后松开,装填动作即完成。枪机在向后运动的过程中压倒击锤,击锤被阻铁挂住。枪机复进时,推弹入膛,拉壳。钩卡入弹底槽中,枪处于待发状态。
如前所述,枪机由两部分构成,机头较轻,机体较重。机头上有两个很轻的滚柱,其几何形状与通常所见的闭锁滚柱不一样,它们不是简单的圆柱形,而是带有一些小的滚动件(衬块)。枪弹入膛后,机头停止复进,而机体仍然强制复进,并穿过两滚柱之间的空隙。由于机体前端为楔形,所以它复进时便将滚柱挤出。于是,滚柱边转动边被挤入机匣的闭锁槽中。该枪停射时,枪机呈闭锁状态。
扣压扳机后,偏心击锤打击L形击发杆(322)的短臂端(击发杆的轴销置于机体中),进而打击击针(323),枪弹击发。
击发后,膛压上升,驱使弹丸沿枪膛向前,同时弹壳后座。由于弹膛开槽,故弹壳在气体薄层中浮动,以减小弹壳和弹膛壁之间的摩擦力,避免在弹壳膨胀后贴膛的情况下火药气体压力迫使弹壳底部后座所造成的弹壳拉伸而出现弹壳断裂。
![]() SIG510-4的结构图 |
![]() SIG AMT的结构图 |

枪机开闭锁动作示意图:1-枪管;2-滚柱座;3-机头;4-机体;5-复进簧及复进簧导杆;6-滚柱;7-击发杆;8-机匣;9-击针。

抛壳动作示意图:1-击发前的抛壳挺位置;2-抛壳挺和抛壳挺回复簧;3-机头;4-机体;5-机匣上的抛壳斜面



该枪采用闭锁机构需在其弹底窝平面承受的压力为110kg时才能开锁。此时,复进簧力为7.3kg,压倒击锤需8.6kg的力,阻止枪机开锁的合力为15.9kg。由此可知,该系统的静态机械损失与总能量之比是0.145。枪机一开锁,就从静摩擦变成动摩擦。在滚柱从55°的闭锁槽中被挤出并重新进入机头的过程中,两种摩擦系数之比不断下降。与此同时,闭锁滚柱在通过机体前端19°的斜面时,将枪机分成两部分。显然,采用这种改进的半自由式枪机,既不需要把枪机重量加大到实际上行不通的程度,也无须把复进簧的刚度取得相当大,就可以发射大威力枪弹。否则,要发射大威力枪弹,就必须采用重枪机和刚度大的复进簧。
滚柱离开闭锁槽后,后效期压力推动整个枪机后座。由于机体的楔形前端有19°的角度,所以机体加速后座,机体和机头之间便产生相对位移。分离后的机头和机体一起后座,将第一复进簧压入枪托之中。
该枪的抛壳挺也比较特殊,它是一种摇臂式结构,附着在机头上方。当枪机后座86mm后,抛壳挺撞击机匣内壁的抛壳斜面,并摆向机头的另一侧,将空弹壳自抛壳口向右抛出。这种抛壳方式比一般固定式抛壳挺的震动要小。
第二复进簧和人造橡胶制成的缓冲器吸收枪机在后座终了时所具有的动能。然后,复进簧伸张,驱使枪机向前复进,并推弹入膛,拉壳钩随即卡入弹壳上的退壳槽。枪再次处于待发状态。
SIG枪机延迟后座的滚柱闭锁凸轮槽机构中最新颖之处是它采用了两个可以更换的闭锁槽,而且每个闭锁槽又靠碰珠和开口环牢固定位。该机构的另一特点是没有使用HK G3那种靠强力弹簧带动的机头卡扣。由于滚柱直径大,表面光洁度高,机匣闭锁槽的接触面又小,这都减小了枪机在取弹和推弹入膛时的摩擦力,所以手拉装填比较省力,机柄亦可做得简单一些。
该枪可进行半自动或全自动射击,击发和发射机构很简单。其击发阻铁上有一个长槽,阻铁轴穿过该槽。阻铁簧则总是迫使阻铁向前。扳机是冲压件,后端有一凸肩。扣压扳机后,该凸肩将阻铁尾抬起,阻铁头便向下转,与击锤缺口解脱。于是,击锤向前旋转,通过L形击发杆打击击针,枪弹击发。
快慢机装定于“半自动”位置时, 扣压扳机,击锤向前旋转,阻铁簧推阻铁向前,阻铁脱离扳机上的凸肩,并置于凸肩前的平面部分。击锤被压倒后,阻铁头卡入击锤缺口。击锤簧刚度较大,迫使阻铁向后抵在扳机凸肩的前端面上。只有松开扳机才能发射另一发枪弹。因为松开扳机后,扳机凸肩下降,阻铁即越过凸肩顶部向后,回到扳机凸肩上。当枪机完全复进到位并确实闭锁,而且机体和机头重新紧密结合成一整体时,即可再次发射。
快慢机装定于“自动”位置时,扳机后端的凸肩可抬得相当高。这样,当阻铁头与击锤缺口解脱时,由于扳机凸肩上抬的幅度大,阻铁头便降得很低。于是,击锤被压倒后,它就不会与阻铁接触,而只受不到位保险阻铁的控制。在枪机确实闭锁之前,击锤一直被不到位保险阻铁挂在后方。等到机体复进终了时,保险阻铁即被压下,解脱击锤。由此可见,该枪全自动射击的击发动作是由枪机闭锁位置控制的,由此还起到击发前的机械保险作用。一旦松开扳机,阻铁头便上抬,将被枪机后座所压倒的击锤挂住,使击锤停留于后方。
快慢机装定于“保险”位置时,快慢机轴转到扳机后上方,扳机后端无法上抬。
由于击锤重量较大,装于机匣左侧,紧靠机匣壁,因此它不可能在枪膛轴线下运动,也就打击不到击针。为此,该枪采用了L形击发杆,击发杆横穿过枪机,其转轴在远离击锤的一侧。用击锤打击L形击发杆的短臂端,击发杆的中心撞击击针,击针再打击底火,击发枪弹。
该枪还装有“连发保险”(534)。连发保险仅在半自动射击时显示出来,即黑槽在里,白槽在外。若在分解后重新组装的过程中将其位置颠倒,则快慢机柄(520)指向E时为半 自动,S位置表示全自动。
由于该枪没有挂机装置,所以当弹匣中的弹打完之后,枪机呈闭锁状态。为识别武器是否空膛,必须检查空膛指示器。
分解过程如下:
向里压弹匣后面的弹匣卡笋,取下弹匣。向后拉机柄,检查弹膛和进弹口是否确实没有枪弹;
推起位于机匣下面、握把后方的卡笋,将枪托反时针转动90°,自后方取下枪托;
将机柄向后拉,分解出枪机;
拔出发射机座固定销,卸下发射机座和握把;
进一步分解枪机,卸下机体和机头。

组装步骤则相反。
在外观上,Stgw.57与大多数型号的共同特点是直枪托、折叠式准星,微调表尺照门、瞄准线较高。而SIG510-4和SIG AMT的瞄准线较低、准星不能折叠、表尺照门为滑动式,枪托位置也较低。其内部构造的主要变化是,复进簧由活络联接的第一复进簧和第二复进簧构成,两者之间有一角度。
|
Stgw.57 |
SIG510-3 |
SIG510-4 |
||
| 口径 | 7.5×55mm GP11 | 7.62×39mm M43 | 7.62×51mm NATO | |
| 全枪长 | 1105 mm | 887 mm | 1016 mm | |
| 枪管长 | 583 mm | 420 mm | 505 mm | |
| 空枪重 | 5.56 kg | 3.75 kg | 4.25 kg | |
| 枪口初速 | 750 m/s | 700 m/s | 790 m/s | |
| 理论射速 | 475~500 RPM | 525 RPM | 600 RPM | |
| 实际射速 | 全自动 | 80 RPM | 90 RPM | |
| 半自动 | 40 RPM | 40 RPM | ||
| 有效射程 | 640 m | 600 m | 400 m | |
| 弹匣容量 | 24 rds | 30 rds | 20 rds | |





PE57的运动型
![]() SIG510-1 |
![]() SIG510-2标准型及短枪管型 |




缩短型的Stgw57/PE57

| 资料来源:国防工业出版社出版《国外轻型步兵武器》下册 |
创建2007-10-31 / 更新2023-11-28 |