| >>STK首页 | Ultimax 100轻机枪 |
|
|
口径: 5.56×45mm NATO |
恒定后坐原理

| 视频下载内容 | 下载链接及预览图 | 格式 | 时间长度 | 容量 | 来源 |
| Ultimax 100轻机枪演示 | ![]() |
AVI | 36秒 | 9.62MB | Defense Review |
Ultimax 100式轻机枪最著名特点就是与同类轻机枪相比,它的重量最轻,但后坐力却最低,在连发射击时很容易控制,因此射弹散布密集,命中率较高。而如此突出的性能是得益于是詹姆斯·沙利文所采用的“恒定后坐”(Constant Recoil)原理。在他推出Ultimax 100机枪之前,没人相信同口径武器中重量较轻的枪却比较重的枪有更高的点射命中率。
那么,究竟什么是“恒定后坐”呢?简单地说,就是把枪机的后坐行程加到特别的长。
对于内能源自动武器而言,射手所感受到轻武器射击时的后坐力,主要由两部分组成:一是弹头飞出膛口时,由膛口高速喷出的火药燃气对枪管施加的反作用力;二是弹壳底部的压力通过枪机和身管作用于整个武器,因为这些武器的枪机组后坐运动都是在撞击机匣尾部(如AK等)或缓冲器(如M16等)时停止的,这时枪机组后坐的剩余能量就会传递到机匣上,使武器产生与弹头运动方向相反的后坐运动。
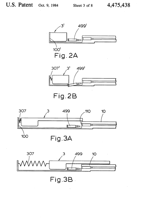
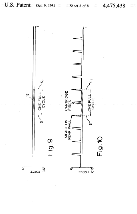
采用恒定后坐原理时,枪机组是在复进簧的作用下逐渐减速,直到枪机组的加速度为0而停止运动,此时复进簧并没有压缩到最底部,因此枪机组的后坐能量完全被复进簧所吸收,也不撞击任何物体,因而恒定后坐缓和了武器发射时大部分的后坐冲量,射手所承受的后坐力并不是突然产生的撞击力,而是缓慢、恒量的推力。
Ultimax机枪采用较长的机匣和复进簧,并采用开膛待击(前冲击发)。当射手扣下扳机时,枪机开始向前运动并推弹进膛,在机头进入枪管节套闭锁的同时,枪机组向前运动的能量通过枪管端面传递到枪管上,使武器产生向前和向下运动的力。在枪弹击发后,枪机组向机匣后方进行长距离运动,通过复进簧的形变而全部吸收了枪机组的后坐能量,只要射手仍在扣压扳机,那么枪机组则重新开始复进并再次推弹上膛和击发。因此Ultimax机枪在射击时产生的后坐力有相当一部分被复进簧完全吸收,另一部分则必须克服前冲击发时所产生的武器向前和枪管向下运动的力。这样,其连发射击时就非常稳定,后坐力极低。
国产的81式自动步枪也是采用长行程后坐来提高点射时的武器稳定性,但81式自动步枪的枪机组运动能量仍然会传递到枪上,射击时枪托仍然会撞击射手肩部,而Ultimax机枪在射击时枪托却不会向后“撞”,而只是缓慢、轻柔地向后“推”。所以恒定后坐并并不是简单地延长枪机组的后坐距离,其关键是要使枪机组在后坐过程中不撞击任何物体而停下来。
其实恒定后坐原理最初是由德国人在二战期间发明的,沙利文只是重新发现而矣。Stg44的前期型号——具有现代突击步枪雏形的MKb-42“冲锋卡宾枪”就已经是采用开膛待击和长行程后坐,该枪可以对远距离点目标进行很准确的短点射。在1942年冬季,曾有一批MKb-42空投给一支被苏联人包围的武装党卫军突击队,他们凭借这种火力凶猛的新武器冲出了包围圈。然而,德国武器局里面的那些抱传统主义的官员却强令设计师在其后续型号中改用闭膛待击,目的是为了提高单发命中精度。不过恒定后坐用在闭膛待击上也仅仅是连发射击时首发的后坐力比较大,从第二发开始效果是相同的。当沙利文通过调整摄影发现了这个设计的优点,而且还发现德国人并没有给这种设计起名字也没有专利保护,于是他就把这个设计应用到Ultimax机枪,并起名叫“Constant Recoil”,还申请了相关的专利。
二战结束后,苏联进行了一次轻武器选型并最终选中了AK-47突击步枪,在当时的对比试验中,卡拉什尼科夫的竞争对手之一布尔金所提供的样枪其实就是Stg44的翻版(但抄袭的骂名却一直被卡拉什尼科夫背负着),但布尔金的样枪并没有抄得彻底,因为当时他和其他人一样,根本不知道何为恒定后坐。而此后的30多年里,也一直没有人知道恒定后坐,直到1970年代詹姆斯·沙利文在研究Stg44的时候才重新发现了这种后坐系统的妙用,取名为“恒定后坐”,并在设计Ultimax机枪时采用了与MkB-42突击步枪相同的射击系统——开膛待击和长行程后坐。开膛待击的主要缺点是发射时枪机的移动改变了武器的质心,从理论上说闭膛待击应该更准确,但轻机枪在战斗中主要以连发射击方式为主,不需要对远距离点目标进行精确的单发射击,假如采用闭膛待击,射手不得不利用战斗间隙手动挂机来加速枪膛的散热和防止枪弹自燃。而采用开膛待击系统则可以在射击停顿期间就能自动打开枪机散热,也降低了枪管过热导致枪弹自燃的机会。事实上,MKb-42的设计目的是优先考虑以点射形式进行战斗的,尽管是突击步枪的鼻组,但这确实是按冲锋枪的使用要求来设计的减威力步枪。
Ultimax机枪极低的后坐力使射手无论是抵肩射击还是腰际射击都不需要花大的力气去控制枪支的后坐或上跳,甚至在行进中用单手射击也轻而易举。在全自动模式下对多个目标(包括移动目标)进行反应射击时,Ultimax机枪的命中率高达8:1,即平均每打出8发子弹就有1发命中目标,高于M16;而当使用两脚架进行有依托射击时,Ultimax的命中率更是高达2.5:1,远胜于M16。
不过恒定后坐的另一个特点是射速很慢,Stg44的理论射速约为550发/分,而Ultimax 100式轻机枪的理论射速最多也只有600发/分。这样低的射速对于徒步战斗的步兵来说问题不大,因为现代战场上已经缺少密集的步兵队形方便MG42这类高射速武器屠杀了,较低的射速能完全满足压制敌火力的要求,而且火力持续的时间可以更长。但如果要安装在车辆或直升机上使用时,低射速武器的效果则比较低。因为在快速移动的载具上很难瞄准射击固定目标或移动目标,射击机会稍纵即逝,这也是为什么美军喜欢在直升机上使用M134 Minigun机枪,因为越南战场上发现低射速的M60机枪在直升机上的效果并不理想。所以Ultimax 100式轻机枪虽然是一支很好的步兵机枪,但却不太适合在载具上使用。

恒定后坐的始祖——MKb-42H冲锋卡宾枪

落败于卡拉什尼科夫的布尔金样枪,但抄袭Stg44的骂名却一直被结构、原理完全不相同的AK-47所承受。

许多有机会打乌蒂马斯机枪的人都喜欢做这个著名的试验:用嘴巴顶住枪托单手射击。由于该枪射击时枪托不会向后撞击,因此这样的射击姿势也不用担心牙齿。我在射击81式轻机枪时,虽然也感到它的后坐力明显比56式冲锋枪和56式半自动步枪低,但也绝不敢抵在下巴上射击。

以下是詹姆斯·沙利文关于恒定后坐原理的专利论文,其中涉及到专业的物理学术语,我没本事译出来,有兴趣的人可以试试,如果我在上面的理解有错误的地方请不必客气地给我指出来。谢谢
| 资料来源:Ultimaxsaw.COM |
创建2007-07-12 / 更新 |