| >Colt公司 |
柯尔特CMG-1 / CMG-2机枪 |
|
|
口径: 5.56×45mm |

由于斯通纳63武器系统的轻机枪型在越南试用,柯尔特公司担心美军会采购这种轻机枪作为班用机枪,于是急匆匆地设计了一种5.56mm口径的链式供弹机枪,并在1965年推出,命名为CMG-1,意思是第1型柯尔特机枪(Colt Machine Gun-1)。
CMG-1采用导气活塞式自动原理,但部分零件是与CAR-15枪族通用的,例如枪机、导气管、握把、准星座、消焰器和一些操作部件,机匣则采用冲压钢件制成。CMG-1的理论射速约为每分钟650发,设计中一共有4种型号:两脚架型、三脚架型、车载型和固定型。
两脚架型就是轻机枪,重11.5磅(5.2公斤),只有这个型号安装有枪托。三脚架型重12.5磅(5.7公斤),是作为中型机枪使用。车载型和三脚架型一样,只不过是安装在车辆的枢轴上使用。而固定型则通过一个电动扳机装置遥控,安装在直升机或其他航空器上使用。
CMG-1的推销并不成功(可能是研制得太匆忙,试验时发现问题较多),一共只制造了两挺或三挺样枪(4种型号都没有全做出来)。所以他们产品册子上的4种型号的配图有部分其实是修图修出来的,手册上的性能诸元有部分也是计算出来的,毕竟实物都没有。
![]() CMG-1 |
![]() CMG-2 |

CMG-1三脚架中型机枪

CMG-1两脚架轻机枪

CMG-1车载机枪

CMG-1航向机枪

CMG-1

柯尔特介绍CAR-15枪族和CMG-1的5.56mm武器系统的宣传小册子

CMG-2在外观上和CMG-1完全不同,事实上就是全新的设计
在1967年,柯尔特放弃了CMG-1,而设计出新的CMG-2。CMG-2仍然采用导气活塞式自动原理,且仍然使用M16的枪机。但放弃了大部分与M16通用的部件,而且只设计了轻机枪型。
CMG-2在设计中大量吸取了捷克Zb50、Vz52和Vz59的许多特点,同时还采用了M60和刘易斯机枪上的一些结构。
该枪有两根复进簧,各缠在一根导杆上,分别装在机匣两侧。机框的后端靠机匣支撑和导向,前端则与活塞相连。枪机上没有通常那种带弹簧的拉壳钩,枪机前端面上铣有一凹槽,其上有定弹凸起,供弹过程中,等待进膛的枪弹即滑入该凹槽中。随之,带弹簧的压弹杆下压并置于弹底部上方,以防止枪弹重新上抬。

CMG-2的枪机、击针和抛壳挺
击针固定在机框上,两端都是尖的,因此组装时无论那一端朝前都可以正常使用。这样不但方便了更换击针,而且如果一头损坏还可以换另一头继续使用。发射机构取自捷克机枪。
枪的待发过程比较独特,握把(包括击发机座)是可以前后滑动的。把握把向前推,卡笋解脱,阻铁上抬而与机框底部的突出部扣合,然后再向后拉握把,枪即成待发。然后便可以扣压扳机发射枪支。

握把向前推的位置

握把向后拉的位置
CMG-2轻机枪的导气装置和M60机枪的相同,为闭塞膨胀式。枪上没有气体调节器。导气箍与固定的准星构成一个整体,永久地装配在枪管上。
供弹机构则是在捷克Vz52轻机枪的基础上改进而成。机框左侧有两条导槽,当机框后座时,拨弹杆底部的滚轮沿着下导槽运动,使拨弹齿向内拨弹,而当机框复进时,滚轮上方的凸起则沿着上导槽运动,使拨弹齿向外空回。因此,在机框后座过程中,弹链被拨入枪中并定位;复进时,拨弹齿空回到弹链下方,抓取下一发枪弹,准备再次拨弹。该枪使用M13型可散弹链,枪体下挂着一个鼓形弹链盒,可随枪携带150发弹链。

CMG-2的供弹机构
抛壳挺仿制于英国刘易斯机枪,它是一个弹簧支臂,位于枪弹上方。击发后,当机框向后运动至弹壳完全出膛后,机框上的一个凸起便将支臂下压,支臂又下压弹壳,使弹壳脱离枪机前端面,经由机框和机匣底部的抛壳口抛出。

CMG-2的抛壳动作示意图
CMG-2的动作过程如下:
扣压扳机后,阻铁头下降,与机框解脱。在两根复进簧的簧力作用下,机框向前,并借助刚性连接销(枪机导柱)带动枪机一起向前。枪机从弹链中推出一发枪弹,该弹沿枪机前端面的槽向下滑动。枪弹入膛后即为弹簧压弹杆和上述槽中的定弹凸起所限定。与此同时,拨弹齿空回到弹链下方,准备拨动下一发枪弹。 枪弹入膛后,枪机与机框之间的连接销(枪机导柱)被机匣导轨压下。由于机框继续复进,于是,连接销(枪机导柱)与枪机螺旋槽相互作用,使枪机回转,枪机上的闭锁凸笋进入枪管节套的闭锁卡槽中。闭锁后,机框继续向前,走完9.52mm的自由行程,击针打击底火,击发枪弹。
发射药燃烧后,所产生的火药气体推动弹头在膛内运动。当弹头通过导气孔后,一部分火药气体经由凹形活塞顶部的气孔进入活塞,并在凹形活塞和导气箍的气室中膨胀,推动活塞向后。活塞后退,导气孔自动被关闭,气体便不再流入气室中。当活塞后退15mm时,火药气体开始自排气孔向外泄出,同时将气室内的火药残渣吹出。
机框随同活塞一起后座,当机框走完9.52mm的自由行程之后,枪机开始回转与后座。随后,机框上的连接销(枪机导柱)在弹簧的作用下上抬,将枪机与机框牢固地结合在一起,推动枪机开锁。枪机完全开锁后,机框带动枪机一起后座。抛壳挺(弹簧支臂)受机框侧面的突起的撞击而向下,进而下压弹壳,将弹壳自下方抛出。然后,抛壳挺在其扭簧的作用下恢复到正常位置。
在机框后座的过程中,拨弹杆底部的滚轮沿着下导槽运动,拨弹杆向内旋转30°,拨弹齿将下一发弹拨至准备进膛的位置。在液压缓冲器的作用下,机框的后座速度逐渐减慢。当液压缓冲器撞杆压缩19mm时,后座部件的能量全部被吸收。 随后,机框等又开始向前复进,重复上述自动循环。
该枪的枪管可以迅速更换,并增加了一个手柄,当枪管过热时可以直接更换。
柯尔特还为CMG-2配了一个150发弹链的鼓形全封闭弹箱,确保在供弹过程中弹链不会被树枝、衣物卡住。
CMG-2一个重要的变化是枪管缠距改为1:9,这是为了发射实验中的68格令(4.4克)弹,比当时标准的M193弹(55格令)有更远的有效射程。在紧急时,也可以发射制式的M193弹,但由于弹头的自旋转速过大,会出现过稳定的情况,导致杀伤效果下降。所以如果装备CMG-2的话,步兵班中就同时配用两种5.56mm弹,这是前线部队所不能接受的。也许正是因为这个原因,所以CMG-2也无法让陆军产生兴趣。
柯尔特公司还为海豹突击队研制了一种没有枪托的短枪管型CMG-2,被海军命名为EX 27 MOD 0进行试用,但他们最终还是选择斯通纳63突击队员型,并定型为MK23 MOD 0。柯尔特公司在1969年停止了CMG-2的研制,该枪也没有脱离原型枪阶段。

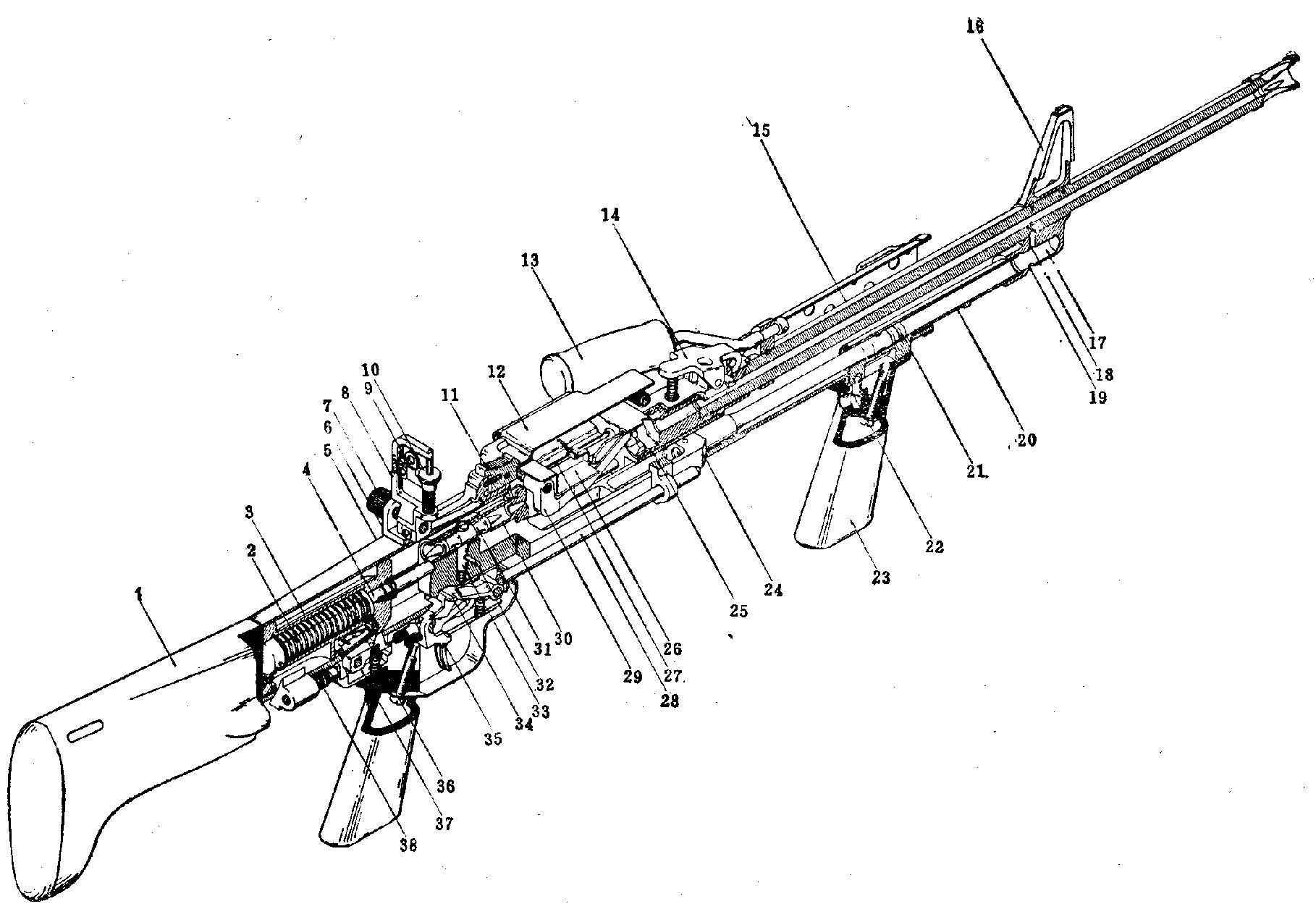
CMG-2轻机枪的剖视图:1-枪托;2-液压缓冲器油;3-缓冲器筒;4-缓冲器撞杆;5-机匣;6-表尺座;7-方向调整螺;8-立框式表尺板; 9-觇孔照门;10-高低调整螺;11-受弹器盖卡笋;12-受弹器盖;13-提把;14-枪管固定栓;15-枪管;16-准星;17-气室;18-导气孔;1q-排气孔;20-活塞筒;21-活塞;22- 前握把定位销;23-前握把;24-机框;25-枪管节套;2S-受弹器座;27-导弹板;28-复进簧导杆(左右各-根);29-抛壳挺;30-枪机组件;31-击针;32-枪机导柱(枪机与机框的连接销)的定位销;33-枪机导柱;34-阻铁;36-扳机;36-机匣解脱卡笋;37-发射机构固定卡笋;38-复进簧(两根)。
|
CMG-2 |
||
| 枪全长 | 1065 mm | |
| 枪全重(不带两脚架) | 5.9 kg | |
| 两脚架重 | 0.71 kg | |
| 枪管重 | 1.875 kg | |
| 空弹鼓重 | 0.71 kg | |
| 膛线 | 6条、右旋,缠距225.2mm | |
| 理论射速 | 650 rpm | |
| 初速 | 重弹 | 884 m/s |
| M193弹 | 991 m/s | |
| 有效射程 | 重弹 | 800 m |
| M193弹 | 600 m | |

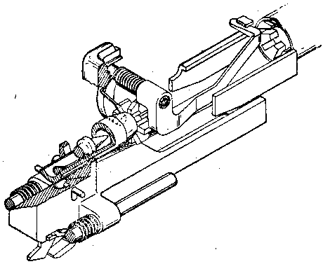
CMG-2的分解

为海豹研制的短枪管、无枪托的突击型CMG-2

博物馆里的CMG-2
| 资料来源:国防工业出版社出版《国外轻型步兵武器》下册 |
创建2012-04-23 / 更新2026-03-22 |