| 美国轻武器 |
勃朗宁BDM手枪 |
|
|
口径: 9×19mm Para |

勃朗宁BDM型手枪有时会被人错误地归类到勃朗宁HP手枪中去,实际上,BDM手枪只是外型类似HP手枪,但实际上是不同的设计。虽然有一种说法是BDM手枪由FN的美国分公司构思和设计,但该手枪只在美国犹他州的勃朗宁轻武器公司生产,而且只在北美销售,在FN公司的产品目录也没有这把枪。
BDM手枪在1991年推出市场,首批客户之一,就是美FBI,但他们很快发现,当使用强装弹时很快就会出现部件断裂的现象。于是这批产品被立即召回,强化了相关的部件,用了近一年时间后BDM再次上市,但FBI此时对.40 S&W手枪更感兴趣,不再订购BDM手枪,该枪最后只在民用市场销售。因为销量一直不佳,所以到了1998年时就停了产。
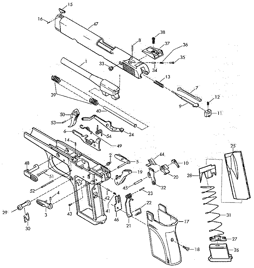
BDM这个名字其实是“勃朗宁双模式”(Browning Dual Mode或Browning Double Mode)的缩写,勃朗宁BDM手枪的外形虽然很像FN BDA手枪,但BDM手枪有两种击发方式:普通的单/双动(DA/SA)和纯双动模式(DAO),而用户只需要旋转套筒上的一个发射模式转换开关就能改变击发方式。这个转换开关位于套筒左侧,是一个圆形的旋转开关,标记“P”就是单/双动,标记“R”就是纯双动。

转换击发方式的开关
此有还有两种变形枪,分别是只能像转轮手枪一样纯双动的BRM型(Browning Revolver Mode勃朗宁转轮手枪型),和只能单/双动的BPM-D型(Browning Pistol Mode Decocker勃朗宁待击解脱型),这两种型号在套筒上都没有击发方式转换开关,前者也没有手动保险和待击解脱杆,后者则和BDM型一样有一个手动保险/待击解脱杆,除了有保险作用,还可释放待击状态下的击锤。释放击锤后,第一发为双动,然后就变成单动形式。
BDM手枪采用轻型合金钢生产,重量较轻。握把是单件式的聚合物,枪管长4.73英寸,三点式机械瞄具类似S&W半自动手枪的Novak战斗瞄具,照门外侧有护耳。弹匣插入口有倾斜角,便于快速装填。与同时代的手枪不同的是,在BDM的握把底部有一个绳环。
BDM手枪表面处理最初只有磨砂黑,在1997年推出了镀铬的型号。在同一年还推出了BDM的实用射击比赛型,和标准型相差无几,只是改用橡胶握把和可调式照门。
BDM手枪采用双排15发弹匣,后来因为1994年的突击武器法,又生产了民用的10发弹匣,而15发弹匣只供执法机构使用。直到2004年因为突击武器法到期失效,民间才能合法购买15发弹匣。
| 枪长 | |
| 枪管长 | 120 mm |
| 枪重 | 870 g |
| 弹匣容量 | 15 rds |


BDM并没有出过紧凑型,这种是枪匠改短的
|
2010-10-04 |