| →AR-15/M16专辑首页 |
M16超简明手册 |
|
弹药

M193和M855(SS109)弹在进入软组织后通常会破碎。当从小于100米距离时,弹头对身体软组织的穿深约4英寸(约10cm),然后偏转90°到180°。当弹头侧面受到阻力时,就开始碎裂。但产生碎裂的保障速度约在2700fps(823m/s)左右,因此如果射击距离较远,杀伤力就会因为存速不够高而降低。
|
M16系列不同枪管长度的效果 |
||||
|
枪管长 |
初速(55格令) |
动能(55格令) |
初速(62格令) |
动能(62格令) |
|
10 in |
2,739 ft/s |
916 ft/lb |
2,627 ft/s |
950 ft/lb |
|
11.5 in |
2,872 ft/s |
1,107 ft/lb |
2,738 ft/s |
1,032 ft/lb |
|
14.5 in |
3,064 ft/s |
1,146 ft/lb |
2,907 ft/s |
1,163 ft/lb |
|
16 in |
3,132 ft/s |
1,198 ft/lb |
3,989 ft/s |
1,230 ft/lb |
|
20 in |
3,259 ft/s |
1,297 ft/lb |
3,095 ft/s |
1,318 ft/lb |
|
M16系列在不同距离上的存速 |
||
|
射程 |
存速(55格令M193) |
存速(62格令SS109) |
|
0 m |
3,200 ft/s |
3,100 ft/s |
|
100 m |
2,774 ft/s |
2,751 ft/s |
|
200 m |
2,374 ft/s |
2,420 ft/s |
|
300 m |
2,012 ft/s |
2,115 ft/s |
|
400 m |
1,680 ft/s |
1,833 ft/s |
|
500 m |
1,373 ft/s |
1,569 ft/s |
|
600 m |
1,106 ft/s |
1,323 ft/s |
|
No |
名称 |
M16A1 | M16A2 | |
| 1 | M193普通弹 |
○ |
全被甲,铅合金弹芯,弹头长19mm,重55格令。M16/M16A1配用。 | |
| 2 | M196曳光弹 | ○ | 以红色弹尖为识别标记,用于弹道观测、产生纵火效果或打信号。 | |
| 3 | M199教练弹 | ○ | ○ |
没有发射药和底火,弹壳上有7条沟槽作为识别标记,底火部没有填充物,以免练习时损坏击针。 |
| 4 | M200空包弹 | ○ | ○ | 现役弹药中只可以使用紫色弹头的M200空包弹。 |
| 5 | M855普通弹 | ○ | 全被甲,铅合金弹芯带钢芯穿透体,弹头长23mm,重62格令。M16A2/M4/M4A1配用的NATO标准弹。 | |
| 6 | M856曳光弹 | ○ | 与M196曳光弹基本相同,以橙色弹尖为识别标记,但发光剂燃烧时间稍长,重63.7格令。 | |
| 7 | M862练习弹 | ○ | ○ | 蓝色塑料练习弹,专门设计用于室内场景下或其他不适宜使用其他现役弹药的狭窄射程条件下的射击练习,例如MOUT训练。25米射程内的弹道特性与其他现役弹药一致,使用时需要配用M2练习枪机。 |

M193和M855分别适合不同的枪管缠距,如果混用,就会出现图中的情况,M16A1发射M855弹时精度极差,而M16A2发射M193弹时,虽然散布还比较集中,但弹道会变得比较弯曲(直射距离会大幅减少,有效射程也可能会降低)






士兵们应该避免过多使用曳光弹,避免在击中易燃物时产生不必要的纵火后果,并减少对枪管的损耗,而且曳光弹致伤效能也比普通弹低。建议与普通弹混合使用,每个弹匣装10发曳光弹和20发普通弹,装填顺序为:先在弹匣底部装4发曳光弹,然后隔5发普通弹装1发曳光弹,最后3发曳光弹都装在顶部。
M3双功能两脚架
M3双功能两脚架安装在准星座下方的枪管上,不但可以提高射击时的稳定,而且还可以充当铁丝剪。


M3两用途两脚架在M16A1时就已经开始提供
空包弹适配器
在发射空包弹时,为提供足够的膛压以确保自动机构可靠地运作,需要在枪口上安装空包弹适配器。M15A2空包弹适配器为整体涂红色标识,用于M16A1、M16A2、M16A4等标准长度的步枪。M23空包弹适配器上有“M4 Carbine Only”的印记,而且整体涂黄色标识,只能在M4和M4A1等卡宾枪上使用。
每发射50发空包弹就会检查一次是否紧密连接。
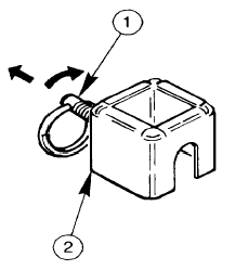
安装空包弹适配器的步骤

1. 顺时针方向旋转拉环,从空包弹适配器⑵里旋出固定杆⑴

2. 把空包弹适配器⑵按图例所示,扣在枪口消焰器⑶的第一段凹槽上

3. 逆时针方向旋转固定杆⑴,使固定标旋进空包弹适配器⑵内,直至适配器⑵与消焰器⑶紧密结合
拆卸空包弹适合器的步骤则反其道而行之


附品
M16A1、M16A2、M16A4等维护用的附品都装在一个附品袋中,并贮存在枪托内。M4和M4A1卡宾枪的附品必须另外携带。

M16A1使用手册第6页中关于清洁附品及新枪托的说明


M16A2的附品与M16A1大同小异,主要包括:
1.枪膛刷
2.弹膛刷
3.清洁刷(称主牙刷)
4.附品袋
5.油壶
6.通条的把手
7.弹匣
8.通条
9.背带
10.通条的膛刷连接段

| 结构和原理 基本操作 射击基础 射击姿势 弹药和附件 |
2004-06-11 |