| →AR-15/M16专辑首页 |
OLYMPIC公司的AR-15 |
|

奥林匹克(OLYMPIC)军火公司创立于1956年,最初只是生产枪管,1982年开始为AR-15/M16加工零部件,到了20世纪90年代开始生产自己的AR-15变型枪,供应给执法部门或民间市场,其中在1993年推出的OA93系列及其后的OA96系列相当有特色,它仍然是采用原来的直接导气式原理,但把复进簧装置挪到枪管上方,而取消了M16传统的复进簧尾管,因此这个系列由于没有复进簧尾管而变得相当短,还可以使用折叠枪托。
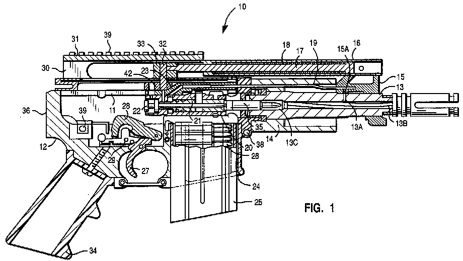
OA-93的机构特点


1-护木;2-消焰器;3-抛壳口防尘盖;4-弹匣;5-弹匣释放钮;6-机匣;7-拉机柄;8-快慢机;9-扳机;10-空仓挂机;11-枪机体。

OA-93手枪


OA-93手枪第一个款式在1993年推出,全长408mm,当时推出有民用型的OA-93OSS和执法型OA-93两种型号,刚推出时销量可观,尤其是执法型被美国一些地方的SWAT所购买。但这种武器只是适用于特定的战术环境,所以不常见到。

电影《燃眉追击》中使用OA93的约翰·克拉克,比起《恐怖的总和》中的肥版克拉克,我更喜欢本片中的克拉克






OA-93卡宾枪

OA-93卡宾枪是基于OA-93手枪的设计,但采用折叠枪托和较长的枪管。全长在711/965mm。

OA-96手枪

之后的第一个发展型OA-96手枪是OA-93手枪的第一个衍生型,这是由于美国在1994年通过的Crime bill法案而限制了OA-93手枪的销售,为了符合该法案,OA-96手枪采用不可拆卸的30发弹匣,虽然在外观看起来好像跟普通的可拆卸弹匣一样,但仔细看会发现OA-96的弹匣座上取消了弹匣卡笋。OA-96手枪装填时需要撅开上机匣来装弹。
OA-98手枪

第二个符合Crime bill法案的是OA-98手枪是OA-93系列中第二个符合Crime bill法案的衍生型,它的弹匣可拆卸,但枪身上开了许多通孔,使重量减轻了50盎司,这个混身通孔的造型是它的最大特征。


OA-93 TG手枪

OA-93TG手枪在1998年推出,是另一种符合Crime Bill法案而代替OA-93手枪的设计,但它被美国BATF和NFA定义为AOW武器(Any Other Weapon)级别,因此必须当成三级武器销售。

OA-93 TCP

OA-93 TCP 是基于OA-93手枪的改型,采用折叠枪托,而枪管则比OA-93卡宾枪要短得多,并采用开叉式消焰器。枪托折叠时长470mm,枪托展开时长724mm

OA-93 PT

传统原理的奥林匹克AR式步枪
奥林匹克M4

MIL-4 Carbine 16英寸轻型战术步枪

CAR-15
LE卡宾枪,是奥林匹克公司生产的XM177E2



AK-310突击步枪,发射7.62×39mm口径弹

PCR-1

PCR-2(上)和PCR-3(下)

PCR-4

PCR-6,发射7.62×39mm口径弹

PCR-7

UM(Ultramatch Rifle)高级比赛步枪,20英寸(508mm)枪管

ML 是UM步枪的短枪管型,枪管长406mm

PCL系列是发射9×19mm Para、.40S&W、.45ACP三种手枪弹的步枪




直接使用GLOCK手枪弹匣的9mm型K9GL,此外还有40S&W型的K40-GL


|
资料来源:OLYMPIC军火公司 |
2000-08-02/2020-05-06 |