| >美国轻武器 |
M14型步枪—— |
|
|||||||||||||||
|
M14 / M14A1 |
|||||||||||||||||
|
口径: 7.62×51mm NATO |

M14基本上是一种改进的M1伽兰德步枪,发射7.62×51mm NATO弹,容弹量比M1伽兰德大,调整快慢机可实施半自动或全自动射击。不过事实上在美国军队中的M14大多数都把快慢机柄换成快慢机锁,限制其只能进行半自动射击。M14是作为制式的战斗步枪设计的,还发展出班用自动武器、比赛步枪、枪榴弹发射器、狙击步枪和礼仪枪等。作为一把战斗步枪,M14从1963年古巴导弹危机到2002年的阿富汗都有使用。
在1960年代初期的美国陆军步兵班中M14步枪是标准配备。每个十人步兵班中有两个自动步枪手(美国人对班用轻机枪手的称呼)和两个榴弹手。榴弹手的M14配有枪榴弹发射装置,而分配到自动步枪手的M14步枪则装有M14E2枪托和M2两脚架,他的步枪装有快慢机柄,而不是快慢机锁。这种配置的M14在1963年被定名为M14E2并在1966年4月定型为M14A1。M14E2/M14A1的枪口装有膛口防跳器,连发射击时可有效地控制枪口上跳,M2两脚架安装在导气箍上。
![]() M14 |
![]() M14E2 |


导气装置

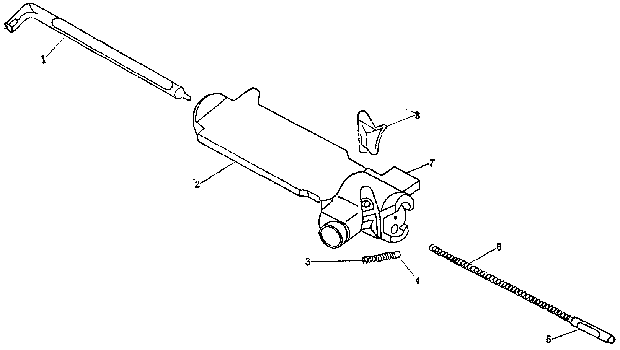
M14主要零部件:1-枪机;2-上护木;3-枪管和机匣组件;4-消焰器;5-连发杆;6-导气箍;7-复进簧;8-活塞;9-导气箍顶塞;10-复进簧导杆;11-枪托;12-机匣;13-背带;14-击发机构。

枪管和机匣结构图:1-觇孔照门;2-表尺座;3-表尺盖;4-高低调整螺;5-照门轮轴;6-空仓挂机解脱片;7-空仓挂机簧;8-机匣;9-枪管;10-螺栓;11-准星;12-固定螺钉;13-消焰器;14-紧定环螺塞;15-销;16-导气箍紧定环;17-活塞筒;18-闭气阀弹簧;19-闭气阀;20-前箍;21-活塞—机框导向箍;22-销;23-销;24-固定销;S5-空仓挂机;26-销;27-快慢机;28-快慢机簧;29-风偏修正螺。

枪机结构:1-击针;2-枪机;3-拉壳钩簧;4-顶杆;5-抛壳挺;6-抛壳挺簧;7-枪机闭锁卡笋;8-拉壳钩。


M14采用导气式工作原理,伽兰德在M14上首创了气体关闭和膨胀式导气装置并获专利,这种导气系统的特点是可以自动关闭导气孔,限制进入导气筒内的火药燃气。导气装置位于在枪管下方,由导气箍、导气箍顶塞、活塞筒、活塞、枪机框和复进簧等组成。活塞行程短(约37mm),活塞后半部为长方体,抵在枪机框上;前半部呈圆柱形,表面有环槽。机框中空,内装复进簧。导气箍右后方有闭气阀,可将导气孔关闭,以发射枪榴弹。
枪机呈扁圆柱形,右前端有一导轮,导轮卡入枪机框上的导槽之中,机框通过导轮带动枪机在机匣中前后运动。枪机前端有拉壳钩和抛壳挺。击针位于枪机内。拉机柄在机匣右前方,通过一个连杆与枪机联接。当最后一发弹发射后,枪机会被机匣左侧的空仓挂机扣住。
M14的击发机构是从M1伽兰德步枪演变来的,大部分零件都相似,包括双钩击锤,扳机和扳机连杆(第一阻铁)以及位于第一阻铁后面的带阻铁簧的第二阻铁等。整个发射机构一起装在机匣后部,由保险机固定栓固定。保险开关与M1伽兰德类似,位于扳机护圈前方。
机匣两侧壁上有导引枪机运动的导轨。机匣内还有一横梁,中间开有缺口。这样,当枪机复进尚未到达旋转闭锁位置时,即使击锤意外解脱而打击击针,也不会出现走火的危险。因为击针后端曲拐突出部被机匣横梁挡住,虽然受到撞击,却不能向前。只有当枪机确实闭锁后,击针后曲拐部才恰好位于机匣横梁中央的缺口处,此时击针才能打击底火。

![]() 枪机未复进到位时,击针尾部曲拐被机匣横梁挡住 |
![]() 枪机确实闭锁后,击针尾部曲拐恰好位于缺口处, |
机匣右侧有拉机柄导槽,前下方是弹匣槽,后下方是扳机座固定槽,上方还有一个桥夹导槽,可以通过抛壳口上方用桥夹直接向弹匣压弹。USGI机匣在右侧下方有一个安装快慢机操作柄的开孔,M14的快慢机在不需要时可以拆出,用一个快慢机锁代替。M14的快慢机锁(selector lock)是一个用于代替快慢机柄的小零件,当M14装上了这个快慢机锁后,快慢机就被固定在半自动位置上,不能转换自动射击。不过,只要卸下快慢机锁重新装上快慢机操作柄,M14仍然可以选择射击方式。商业的半自动型M14机匣上没有快慢机,因此也取消了快慢机柄的安装孔,这是区别USGI机匣与商业机匣的一个方法。
关于M14的快慢机在国内有一个传说:美军在越南战场上配发的M14在快慢机上加了锁,钥匙由连长掌握,士兵只能半自动射击,如果要全自动射击则需要向连长申请开锁。但我搜索过一些英文的资料,没有发现有关于M14的快慢机锁需要用钥匙打开的相关资料,因此我怀疑这实际上是对“selector lock”的误解,其实快慢机锁只不过是一个代替快慢机操作柄的塞子状圆柱体,这个塞子比快慢机柄旋转部分的圆栓部分要粗,但加工了一个小缺口,当安装快慢机锁时这个小缺口正好卡在机匣边上的一个凸出部分上,这样就无法旋转快慢机调节射击模式,从而将击发机构锁定在半自动状态。



快慢机柄置于连发位置时,其上字母“A”指向上方;置于单发位置时,字母“A”指向下方。

快慢机锁上的小孔并不钥匙孔
导气系统和枪机的工作过程是:
当弹头通过导气孔后,部分火药燃气经由枪管下方的导气孔,并经过与导气孔对正的闭气阀和活塞侧壁上的孔进入活塞头中。由于导气箍前端为顶塞所封闭,气体只得在活塞头内膨胀从而推动活塞向后运动。活塞向后运动4mm时,原本与导气孔对正的孔就会错开,阻止了火药燃气继续进入活塞头中,所以这种闭塞膨胀式的导气装置不需要用气体调节器。
活塞和机框相连。活塞后座时带动机框向后运动。机框的自由行程约为9.5mm,使膛压下降至安全值,然后机框导槽上的开锁斜面迫使枪机导轮向上旋转,枪机前端的闭锁凸笋便从机匣内的闭锁槽中解脱出来。枪机旋转开锁的过程还起到预备抽壳的作用,使弹膛中的弹壳得以松动并略向后退。随后,枪机后座,抽出弹壳,弹壳被限定于弹底窝上。枪机继续后座,当弹壳口部脱离弹膛后,位于枪机内的抛壳挺簧伸张,推抛壳挺向前,使弹壳绕拉壳钩转动,然后从枪的右侧抛出。弹壳在抛出的过程中还会撞及机框突起的前端面,这将起到加速抛壳的作用。
当活塞的后座行程将要结束时,导气箍下方的排气孔开启,火药燃气由这些孔中泄出。气体泄出后,驱使活塞头向后的压力就消失。此时被压缩的复进簧伸张,推机框向前,带动枪机复进,枪机推弹入膛。由于枪机导轮和闭锁凸笋分别与机框导槽上的闭锁斜面及机匣中的闭锁槽相互作用,枪机遂向右旋转实现闭锁。枪再次成待发状态。

导气装置和复进装置工作原理:(a)枪弹击发;(b)活塞-机框后座;(c)活塞-机框复进。
1-机框;2-活塞;3-复进簧;4-排气孔;5-导气箍。


导气阀的开闭:上为发射普通枪弹状态,下为发射枪榴弹状态。

枪机的自动循环示意图:(a)枪机取弹;(b)推弹入膛;(c)闭锁;(d)开锁;(e)枪机后坐;(f)抽壳。

机框带动枪机旋转,枪机开锁:1一机框;2一枪机前方开锁位置;3一枪机前方闭锁位置;4一击锤。
|
开锁、空仓挂机动作示意图
|
击发机构的工作过程是:
扣压扳机后,第一阻铁向前,与击锤钩解脱,击锤簧推击锤向前。击锤打击击针而击发枪弹。击发后,枪机后座,压倒击锤。第一阻铁仍然在前方,但挂不住击锤的钩,此时击锤钩由第二阻铁挂住。
半自动射击时,只有松开扳机,才能再次发射。因为只有松开扳机,第二阻铁才能向后。于是,击锤便与第二阻铁解脱,并开始向前回转,但随即又被第一阻铁挂住,使枪成待发状态。
全自动射击时,击锤挂在第二阻铁上,枪机闭锁后击锤即被解脱。全自动射击的关键在于,机框快复进到位时,其上的凸起挂住连发杆的钩,并带动连发杆向前,从而使快慢机轴上的阻铁卡板转动。卡板下端的凸起推动第二阻铁向后,解脱击锤。击锤打击击针,击发枪弹。

击发机构零件图:1-扳机;2-阻铁(第二阻铁);3-击锤簧套管;4-击锤簧;5-击锤顶杆;6-击锤;7-弹匣卡笋;8-保险;9-发射机座;10-弹匣卡笋簧;11-弹匣卡笋销;12-击锤轴销;13-扳机护圈;14-扳机轴;15-保险机簧。

击发机构在半自动射击时的工作原理:1-击发位置;2-待发状态。

击发机构在待发状态:1-枪机;2-枪机导轮;3-机框;4-击锤簧;5-阻铁(第二阻铁);6-击锤;7-扳机。

击发机构在全自动射击时的工作原理:1-机框;2-快慢机柄(装定于全自动射击位置);3-连发杆;4-击锤;5-第-阻铁;6-阻铁卡铁;7-扳机;8-击锤钩;9-阻铁。

M14步枪保险机构工作原理和M1伽兰德步枪无异
![]() 击发状态 |
![]() 待发状态 |
![]() 保险状态 |
有三个重要的因素决定了M14型步枪的机匣质量。分别是材料、热处理和三维几何学。美国的机匣是用8620钢制成的,而中国机匣是用5100钢制造。8620钢含钼、锰、镍和铬的成份较高,5100钢是铬合金钢,两者都适用淬水热处理。USGI、中国大陆和台湾的机匣都是铸造的。美国海军陆战队通过射击比赛发现H&R、春田兵工厂和温彻斯特的机匣能够发射400,000发弹,TRW的机匣更好,能够达到450,000发弹。安特普斯武器和史密斯企业的商业机匣是在新型机床上通过电脑数控生产的,但也曾经铸造过一小批(260个)机匣,春田武器公司和其他公司制造的机匣采用熔模铸造的工艺,联邦军火制造过两种类型的M14机匣,一种全为USGI零件,另一种全为中国零件。还有其他一些公司也是用其他公司的零件焊接USGI机匣并合法销售。
拉机柄在机匣右前方,柆机柄通过一个连杆与枪机连接。枪机呈扁圆柱形,右前端有一导轮,枪机框通过导轮带动枪机在机匣中前后运动。当最后一发弹发射后,枪机会被机匣左侧的空仓挂机扣住。击发和发射机构的大部分零件与加兰德步枪相似,包括双钩击锤、扳机和扳机连杆(第一阻铁)以及位于第一阻铁后面的带阻铁簧的第二阻铁等。整个发射机构一起装在机匣后部,由保险机固定栓固定。保险开关与M1伽兰德类似,位于扳机护圈前方。
枪管是用铬钼合金钢或不锈钢制造,缠距有1:10(254mm)、1:11(279mm)或1:12(305mm)三种,USGI枪管和中国枪管均为1:12,而1:10的枪管适合168至175格令的重弹头,适用于射击比赛。USGI M14枪管的承包商有很多,如H&R、TRW、温彻斯特、春田兵工厂、通用动力、Saco-Lowell等等,商业型和比赛级枪管的制造商包括Douglas、Barnett、Hart、Krieger、Obermyer、Wilson等等。政府承包商的生产质量控制标准非常严格,例如:每100根镀铬枪管会挑选其中9根出来进来检查,如果这9根枪管通过不过质检,那么这一整批100根枪管会全部回炉。
M14型步枪枪管有22英寸(559mm)和18英寸(457mm)两种长度,分标准型(即轻型)、中型和重型三种。USGI普通级别和中国枪管都是镀铬的,比赛级和商业枪管没有镀铬。大部份USGI比赛枪管都是轻型规格,其他都是中型,重型的USGI比赛级枪管据说只生产过一支。比赛级M14型步枪枪管的比赛精度寿命为5000至9000发弹,USGI M14枪管设计的服役寿命为不少于15,000发弹。
拉机柄、枪机、瞄准具、击锤、弹匣等等M14型步枪的零配件有许多生产商,都各自打上了生产商的厂标。NM级的零件如枪管、前后瞄具都会有“NM”记号。USGI和商业零件是可互换的,还有一些零配件可以与中国生产零件互换。
一些M21和M25配备有Brookfield公司或OPS公司的消声器。在越战期间,XM-21有时会装上Sionics的SS-1型M14消声器,这种消声器内部由一系列的逆时针和顺时针方向的金属螺旋形隔板组成。AWC公司(AWC Systems Technology)过去生产M30消声器,现在他们提供一种更小但更有效的Thundertrap型消声器。南部中心研究公司(South Central Research Corporation)也生产有一种名为Mk23的M14消声器,而且能够拆开清洗。民间合法拥有消声器需要符合联邦和地方性法规。
USGI、中国(大陆和台湾)的M14型步枪都发射7.62×51mm NATO弹,美国的商业M14型步枪有不同缠距的枪管发射各种类型的.308温彻斯特弹,也能使用标准的7.62×51mm NATO弹。美国政府生产的7.62×51mm NATO弹包括以下型号:
| 型号 | 弹头特点 | 特征 |
| M59普通弹 | 150.5格令 |
- |
| M60高压试验弹 | 171.5格令 | 银壳 |
| M61穿甲弹 | 150.5格令 | 黑色弹尖 |
| M62曳光弹 | 142格令 | 橙色弹尖 |
| M62曳光弹(头顶射击用) | 146格令 | 红色弹尖 |
| M63教练弹 | - | 弹壳有凹槽 |
| M64枪榴弹空包弹 | - | 弹壳收口 |
| M80普通弹 | 146格令 | - |
| M80普通弹(头顶射击用) | 149格令 | - |
| M82空包弹 |
- |
双锥形收口 |
| M118特种普通弹 | 172格令 | - |
| M118 LR特种普通弹 | 175格令HPBT弹头 | - |
| M160训练弹 | 108.5格令脆性弹头 | 绿色和白色弹尖 |
| M172教练弹 |
- |
黑色弹壳和弹头 |
| M198双头弹 | 两个84格令弹头 | - |
| M276暗光曳光弹(夜视仪用) | 140到150格令 | 粉红和绿色弹尖 |
| M852比赛弹 | 168格令HPBT弹头 | 有凸边的弹壳 |
| M948次口径脱壳穿甲弹 | - | |
| M973训练弹 | - | |
| M974训练曳光弹 | - | |
| M993穿甲弹 | 126.6格令弹头 | 黑色斑纹弹尖 |

从左到右:M61、M60、M62、M63、M82、M198(外形)、M198(剖面)、M64
商业型.308温彻斯特弹药有多种类型,由于非军用的枪弹不受海牙国际公约的限制,因此包括有全被甲弹(FMJ)和软尖弹(SP)和空尖弹(HP)。M14型步枪既可以使用可拆卸的弹匣,也可以把一个10发的弹夹插在抛壳口的弹夹导槽上,直接把枪弹装入弹匣。另外春田武器公司还生产有一些.243温彻斯特和7mm-08口径的M1A,还有一些厂商提供把M14改装成.300温彻斯特-马格南口径的服务。
| M14 | M14A1 | M1伽兰德 | ||
| 口径 | 7.62×51mm | 7.62×51mm | 7.62×63mm | |
| 全枪长 | 1125 mm (44.3") | 1125 mm (44.3") | 1107 mm | |
| 枪管长 | 559mm (22") | 559mm (22") | 605 mm | |
| 空枪重(不含弹匣) | 3.64 kg (8.0 lbs) | 5.27 kg (11.62 lbs) | ||
| 战斗全重 | 含实弹匣和维护工具 | 4.59 kg (10.1 lbs) | 6.22 kg (13.72 lbs) | |
| 含实弹匣和背带 | 5.0 kg (11.0 lbs) | 6.6 kg (14.55 lbs) | 4.75 kg带刺刀 | |
| 含实弹匣、快慢机、两脚架和维护工具 | 5.38 kg (11.85 lbs) | |||
| 膛线 | 4条,右旋,缠距305mm | 4条,右旋,缠距305mm | 254 mm | |
| 枪口初速 | 853 m/s (2,800 FPS) | 853 m/s (2,800 FPS) | 865 m/s | |
| 枪口动能 | 3567 J | 3567 J | 3595 J | |
| 有效射程 | 半自动,无依托 | 460 m (1,509.26 feet) | 730 m | |
| 半自动,两脚架 | 700 m | |||
| 全自动,两脚架 | 460 m | |||
| 最大射程 | 3275 m | 3275 m | ||
| 理论射速 | 700~750 rpm | 700~750 rpm | ||
| 发射方式 | 单发、连发 | 单发、连发 | 单发 | |
| 瞄准基线长 | 678 mm | 678 mm | ||
| 后坐能 | 17.3 J | 17.3 J | 16.2 J | |
| 最大膛压 | 346.5 MPa | 346.5 MPa | 337.4 MPa | |
| 弹匣容量 | 20发 | 20发 | 8发漏夹 | |
| 空弹匣重 | 0.23 kg (0.5 lbs) | 0.23 kg (0.5 lbs) | ||
| 实弹匣重 | 0.68 kg (1.5 lbs) | 0.68 kg (1.5 lbs) | ||
| 维护工具 | 0.27 kg (0.6 lbs) | 0.27 kg (0.6 lbs) | ||
| M2两脚架 | 0.8 kg (1.75 lbs) | 0.8 kg (1.75 lbs) | ||
| 扳机扣力 | 2.0~3.4 kg (4.5~7.5 lbs) | 2.0~3.4 kg (4.5~7.5 lbs) | ||
安装有快慢机锁的M14

安装有快慢机柄的M14A1


这一墙壁全是越战中的装备,图中最下面是一种截缩短枪管、加装前握把、带快慢机柄的DIY的M14

同样是在越南战争中被截短枪管的M14E2

越战中一把截走了枪托的M14,机匣上还有快慢机,显示该枪可以连发

粗略一看似乎是一把改装成无托的M14,但其实它原来的扳机和枪托还在,这只是把一个没用的握把固定在下护手上充当前握把,这样在全自动射击时更容易控枪,而且这把M14使用了焊接加长的大容量弹匣,所以推测这把M14保留了连发功能。

在一个网上枪店销售的温彻斯特M14A1,图中比较清楚看到快慢机柄的外形








TRW生产的机匣上面的标记,底部的生产序号已经被拍照的人用电脑抹去,许多网上枪店都会对商品照片的生产序号作类似处理,防止不法之徒利用

海豹突击队2001年在巴尔干半岛使用过的一种采用E2型枪托的M14,导轨上为AIMPOINT瞄准镜




这一把也是上了快慢机锁的USGI M14,进行了类似IDF的M14 SWS的改进,但枪托和瞄准镜都不是M14 SWS的。


![]()
这把不知道哪个厂生产的M14型步枪的护木看来像是USGI的,但机匣却是非USGI


丁丁同志最近买的一支PRE-BAN86的M14,是SMITH ENTERPRISE的产品,配Krieger的比赛级不锈钢枪管,到手后他自己动手把枪托重新打磨、整平、上色、上光。



这也是一支SMITH的USGI机匣M14,图中看到有快慢机,但换上了春田M1A SCOUT的枪管
| 资料来源:M14 Type Rifles |
创建2003-12-05 / 更新2023-09-25 |