| »ØIMIÊ×Ò³ |
Desert Eagle¼ò½é |
|

ÌáÆð´óÍþÁ¦µÄ°ë×Ô¶¯ÊÖǹɳĮ֮ӥ£¨Desert Eagle£©£¬ºÜ¶àÈ˶¼ÖªµÀÊÇÒÔÉ«Áоüʹ¤Òµ¹«Ë¾£¨IMI£©µÄ²úÆ·£¬µ«Êµ¼ÊÉÏËüÊÇÃ÷ÄáÑDz¨Äá˹ÊеÄÂí¸ñÄÏÑо¿¹«Ë¾£¨Magnum Research Inc.£©ÑÐÖÆµÄ¡£
1979Ä꣬ÔÚÂí¸ñÄÏÑо¿¹«Ë¾ÓÐÈý¸öÈËÏëÒªÑÐÖÆ³öÒ»ÖÖ·¢Éä.357Âí¸ñÄÏ×óÂÖÊÖǹµ¯µÄ°ë×Ô¶¯ÊÖǹ£¬µ±Ê±ËûÃǵÄÑÐÖÆ¼Æ»®Ãû³ÆÎª¡°Âí¸ñÄÏÖ®Ó¥¡±£¨Magnum Eagle£©¡£ÕâÈý¸öÈËÊÇJ. Lindig¡¢J. SkildamºÍH. Z. Skildam£¬¶øÂí¸ñÄÏÑо¿¹«Ë¾µÄ´´°ìÈË¡ª¡ªB. White¸ºÔð¼¼ÊõµÄϸ½ÚºÍ¿ª·¢¡£Âí¸ñÄÏÖ®Ó¥µÄÉè¼ÆÄ¿µÄÊÇ×÷Ϊ°ÐǹºÍá÷ÁÔÊÖǹ¡£µÚÒ»°ÑÔÐÍǹÔÚ1981ÄêÍê³É£¬²¢ÔÚ1982Ä깫²¼£¬µ±Ê±ÒýÆðÁ˺ܴóµÄ»ØÏ죬ÕâÖÖ.357Âí¸ñÄϿھ¶µÄ°ë×Ô¶¯ÊÖǹ¾Þ´óµÄÍþÁ¦ºÍƯÁÁµÄÍâÐÎÒýÆðºÜ¶àÉäÊֵļ«´óÐËȤ¡£È»ºó£¬Âí¸ñÄÏÑо¿¹«Ë¾ÐèҪѰÕÒÒ»¼Ò´ó¹«Ë¾À´Éú²úÕâÖÖÊÖǹ£¬²»¾Ã¾ÍÕÒÉÏÁËIMI¡£ÎªÊ²Ã´ÊÇIMI£¿Ä¿Ç°»¹È±·¦Õâ·½ÃæµÄ×ÊÁÏ¡£×ÜÖ®£¬ÕâÖÖÊÖǹÔÚ1983Ä꿪ʼÒÔIMIÉú²úµÄ¡°É³Ä®Ö®Ó¥¡±µÄÐÎʽ¿ªÊ¼Éú²úºÍÏúÊÛ£¬²»¹ýÖ±µ½1985Ä꣬.357¿Ú¾¶µÄɳĮ֮ӥ²ÅÕýÕýʽʽ³öÏÖÔÚÃÀ¹úÊÖǹÊг¡µÄÊÛ»õ¼ÜÉÏ¡£ÎªÁË×·Çó±È.357Âí¸ñÄϸü´óµÄÍþÁ¦£¬Òò´ËÔÚ1987ÄêÍÆ³ö.41Âí¸ñÄÏÐÍ£¬²»¾ÃÓÖÍÆ³öÁË.44Âí¸ñÄÏÐÍ£¬ÔÚ1994ÄêÓÖÍÆ³öÁË.50AE¿Ú¾¶£¬¶øÔÚ1998ÄêÓÖÍÆ³öÁ˲»Ì«ÓÐǰ;µÄ.440 Cor-Bon¿Ú¾¶¡£
1992Ä꣬ÓÉÓÚÃÀ¹úÕþ¸®¶Ô½ø¿Úǹ֧½øÐÐÏÞÖÆ£¬Òò´ËÏúÍùÃÀ¹úµÄɳĮ֮ӥ¾ÍÓÉIMIÉú²úÁ㲿¼þ£¬ÔËÍùÃÀ¹úºóÓÉÂí¸ñÄϹ«Ë¾½øÐÐ×é×°ºÍ×îºóµÄ¼Ó¹¤¡£ÓÚÊÇIMI½«Î´¾´¦ÀíµÄ°ë³ÉÆ·ÔËÍùÃÀ¹ú£¬ÓÉÂí¸ñÄÏÑо¿¹«Ë¾½øÐжƸõ¡¢¶ÆÄø¡¢¶Æ½ð¼°Å×¹âµÈ±íÃæ´¦Àí£¬²¢¶Ôǹ¹Ü¼°ÆäËû×é¼þ½øÐо«¼Ó¹¤ºóÖØÐÂ×é×°£¬ÕâÑù¾ÍÒÔ¡°Made in USA¡±µÄÐÎʽ¼ÌÐøÔÚÃÀ¹úÊг¡ÉÏÏúÊÛ¡£
ɳĮ֮ӥ±ëº·µÄÍâÐΣ¬²»ÊÇÈκÎÈ˶¼ÄÜ¿ØÖƵķ¢ÉäÁ¦Á¿£¬ÕâÊÇÈκÎСÇÉÁáççµÄÕ½¶·ÊÖǹËù²»ÄÜÌæ´úµÄ£¬ÕâÖÖÌØµãʹËüÊܵ½ºÃÀ³ÎëµÄ×¢Ò⣬ÔÚ1984ÄêÓÉMickey RourkeÖ÷ÑݵÄÒ»²¿¶¯×÷Ƭ¡¶ÁúÄê¡·£¨The Year of the Dragon£©ÖУ¬É³Ä®Ö®Ó¥µÚÒ»´ÎÔÚµçÓ°Öеdz¡£¬´Ó´ËÒÔºó£¬É³Ä®Ö®Ó¥ÔÚ½ü500²¿µçÓ°¡¢µçÊÓÖÐÁÁÏ࣬ÕâÀïµÄͳ¼Æ»¹²»°üÀ¨ÃÀ¹úÒÔÍâµÄÓ°ÊÓ×÷Æ·£¬µ±¾ç±¾ÖÐÌáµ½¡°ÓÐÇ¿´óÍþÉåÁ¦µÄÊÖǹ¡±Ê±£¬¼¸ºõ¶¼ÊÇÑ¡ÔñɳĮ֮ӥ×÷ΪµÀ¾ß¡£¹úÄڵĵçÓ°¹ÛÖÚÓ¡Ïó×îÉî¿ÌµÄ¿ÖÅÂÊǰ¢ÅµµÂ¡¤Ë¹ÍßÐÁ¸ñµÄµçÓ°¡¶×îºóµÄ¶¯×÷Ó¢ÐÛ¡·£¨The Last Action Hero£©ÀïÃæÄǸöÒ»±ß¼ÝÊ»³¨Åî³µÒ»±ßµ¥ÊÖÓÃɳĮ֮ӥ½«´õͽ´òµÃÂ仨Á÷Ë®µÄÐÎÏó¡£
ÓÉÓÚÊܵçÓ°ºÍµÚÒ»È˳ÆÉä»÷ÓÎÏ·£¨ÓÈÆäÊÇCS£©µÄÓ°Ï죬ɳĮ֮ӥÔÚ¹úÄÚËÆºõÓкܸߵÄÍþÍû£¬µ«¾Ý¹úÍâµÄǹÃÔ˵£¬¾¡¹Ü¹úÍâÒ²ÓÐЩÈËÊܵçÓ°µÄÓ°Ïì¶øÈ¥¹ºÂò£¬µ«É³Ä®Ö®Ó¥ÊµÔÚÌ«´ó¡¢Ì«ÖØ£¬¶øÇÒºÜÈÝÒ׳ö¹ÊÕÏ£¨·¢ÉäʱÊÖÍó²»ÎÈ¿ÉÄܵ¼ÖÂÅ׿Çʧ°Ü£©£¬ÓÖÌô×Óµ¯£¨¹ºÂòÊ±ËæÇ¹¸½ÓÐÒ»ÕÅÃû¼¸æËßÄãÓ¦¸ÃÓÃÊ²Ã´ÅÆ×ÓµÄ×Óµ¯£©£¬Òò´ËºÜ¶àÈËÓÖÂíÉÏÂôµô£¬ÔÚǹµêÖÐÓÐÐí¶à¶þÊֵģ¬600ÃÀÔª×óÓÒ¡£
ʵ¼ÊÉÏ£¬É³Ä®Ö®Ó¥²¢²»ÊǺÏÊʵÄ×ÔÎÀ»òÕ½¶·ÊÖǹ¡£ÎªÊ²Ã´ÕâÑùËµÄØ£¿ËäȻɳĮ֮ӥÉîÊܺÃÀ³ÎëµÄµçÓ°ÖÆ×÷È˵Äϲ°®£¬ÒÔÖÁ¼¸ºõÿ¸öÃÍÄУ¨»¹°üÀ¨ÏñÄá»ùËþÄÇÑùµÄÃÍÅ®£©ÔÚ´ò.50 AEɳĮ֮ӥʱÁ¬ÑÛ¶¼²»Õ££¬Óɴ˲úÉúµÄÎóµ¼ÊÇʹÈËÈÏΪÂí¸ñÄϿھ¶ÊÖǹÊÇºÜÆÕͨµÄÍæÒâ¶ù¡£µ«ÊÇ£¬µçÓ°ºÍÓÎÏ·¶¼²»ÊǺÏÊʵIJο¼×ÊÁÏ¡£
Ê×ÏÈ£¬É³Ä®Ö®Ó¥µÄÉè¼ÆÄ¿µÄ¾Í²»ÊÇΪÁËÕ½¶·»ò×ÔÎÀ¡£ÈçÎÄÕÂÖпªÍ·Ìáµ½£¬É³Ä®Ö®Ó¥ÊÖǹµÄ×î³õÉè¼ÆÄ¿µÄ½ö½öÊÇΪÁË´òÈËÏñ°ÐºÍ´òÁÔ£¬¾ÍÕâÒ»µã¶øÑÔ£¬É³Ä®Ö®Ó¥µÄÐÔÄܵÄÈ·±È´ó¶àÊýÊÖǹÓÅÔ½¡£µ«ÊÇÎÒÃÇÏÈ¿´¿´£¬ÔÚµäÐ͵Ä×ÔÎÀÉä»÷µÄÇé¾°ÖÐɳĮ֮ӥµÄ±íÏÖ»áÔõÑù¡£Ò»°ãÀ´ËµÕâЩÇé¾°´ó¶àÊý¶¼·¢ÉúÔÚÊÒÄڵ쬶øÇÒÄܼû¶ÈµÍ£¬ÓÐʱÉõÖÁÊÇÆáºÚһƬ£¬²î¶à²»ÄÇÑù×ÓÀ²¡£ÔÚ×ÔÎÀÇéÐÎÖд󲿷ݵÄÉä»÷¾àÀë¶¼ÊÇÔÚ10Ã×ÄÚ£¬»òÕ߸ü½ü¡£
׼ȷÐÔ¡ª¡ª10Ã×ÊÇÒ»¸öÏ൱½üµÄ¾àÀ룬ɳĮ֮ӥ×îÓÅÔ½µÄÒ»µã¾ÍÊÇËü·Ç³£¾«È·£¬µ«ÊÇÔÚÕâ¸ö¾àÀëÀïÉä»÷Ò»¸öÈËÌå´óСµÄÄ¿±ê¶ø²»ÊÇÒ»¸öÓ²±Ò£¬Õâ¸öÓŵãÄÜÆðµ½Ê²Ã´ÖØÒª×÷ÓÃÄØ¡£µ±È»ÄãÒ²ÐíÏëÒªÒ»°Ñ¸ü¾«È·µÄÊÖǹ£¬µ«ÕâÑùµÄÊÖǹȴ²»ÄÜÌṩ¸ü¾«È·µÄÉ˺¦³Ì¶È£¬¶øÇÒ¼Û¸ñºÜ¹ó¡£ÔÚÕâ¸ö¾àÀëÄÚ£¬Ò»°ÑÆÕͨµÄ±ãÒ˵ÄÊÖǹ¾ÍÄÜ´ïµ½ËùÐèÒªµÄ¾«¶È¡£
ÖØÁ¿¡ª¡ªÈç¹ûÄã²é¿´É³Ä®Ö®Ó¥µÄÊý¾ÝÄã»á·¢ÏÖɳĮ֮ӥµÄ.50 AE¿Ú¾¶ÖØ´ï2¹«½ï£¬ÕâÖÖÖØÁ¿Ôڰг¡Éä»÷ʱÊÇÓÐÖúÓÚ¿ØÖƺó×ùÁ¦µÄ£¬µ«½Ï´óµÄÖØÁ¿Òâζ׎ÏÄѵIJÙ×÷£¬¼´Ê¹Ë«ÊÖÎÕǹҲºÜÄѳ¤Ê±¼äÃé×¼ÓëÉä»÷£¬¶øÇÒ»¹Óгöǹ¶¯×÷ÄØ¡£ÏÔÈ»ÕâÖÖÊÖǹµÄÖØÁ¿Èç¹û¼õµôÒ»°ë»á±È½ÏÈÝÒײÙ×÷£¬ÓÈÆäÊÇÔÚ×ÔÎÀÇé¾°µÄÐÄÀíѹÁ¦Ö®Ï¡£
³ß´ç¡ª¡ªÉ³Ä®Ö®Ó¥±ÈÆÕͨÊÖǹҪ´óµÃ¶à£¬¿ÉÒÔ˵ÊÇÒ»°Ñ·Ç³£´óµÄÊÖǹ£¬ÄÑÓÚÒþ±ÎЯ´ø£¬ËäÈ»ÔÚ¼Ò¾Ó×ÔÎÀÇéÐÎÖÐÕâµã²¢²»ÖØÒª£¬µ«ÊÇ´ó³ß´çÒ²Òâζ×ÅÄѲÙ×÷£¬¶øÇÒÓÉÓÚÎÕ°Ñ´Ö´ó£¬ÊÖÕÆÐ¡µÄÉäÊÖµ¥ÊÖºÜÄÑÎÕÎÈǹ¡£
ǹ¿ÚÑæ¡ª¡ª.440 Cor-BonºÍ.50 AEµÄ»ðÇòÊǷdz£´óµÄ¡£ÉÔÓг£Ê¶µÄÈ˶¼ÖªµÀ£¬Èç¹ûÔڻ谵µÄ»·¾³ÏÂͻȻÓöµ½Ç¿ÁÒµÄÉÁ¹â£¬ÊÓÍøÄ¤ÉÏ»á²úÉú²ÐÁôµÄÓ°Ïñ£¬Òò´ËÔڻ谵µÄÌõ¼þϽøÐÐ×ÔÎÀÉä»÷µÄ»°£¬ÔÚ¿ªÁËһǹ֮ºóÄãÐèÒª»¨ÉÏһЩʱ¼äÀ´»Ö¸´ÊÓ¾õ¡£ÏàÐŲ»»áÓÐÈË·´¶Ô¡°ÔÚ½ü¾àÀë½»»ðÖÐʱ¼äÊǷdz£ÖØÒªµÄ¡±¡£
¿É¿¿ÐÔ¡ª¡ªÕâÊǷdz£ÖØÒªµÄÒ»µã¡£¼ÙÉèÄã¾ÍÏñ°¢ÅµµÂÒ»Ñù½¡×³£¬Äܹ»ÇáËɵذÑÍæÕâÖÖÓÖ´óÓÖ³Á¶øÇÒºó×ùÁ¦Ç¿´óµÄÎäÆ÷£¬¶øÄãÒ²²»ÔÚºõǹ¿ÚÑæ´óµÄÓ°Ï죬µ«ÊÇÈç¹ûÄãµÄǹ¿¨¿ÇÁËÄØ£¿Äã»á·¢ÏÖ×Ô¼º´¦ÔÚÒ»¸ö·Ç³£²»ÀûµÄλÖá£Ã¿Ò»¸öÉä»÷×ÔÎÀÊõÅàѵ°à¶¼»á½ÌÄãÔõÑù¿ìËÙÅųýǹ֧¹ÊÕÏ£¬µ«ÔÚÊÖǹ¶ÔÊÖǹÕâÑùµÄ½ü¾àÀëÕ½¶·ÇéÐÎÖУ¬ÊÖÉÏÎäÆ÷µÄ¿É¿¿ÐÔ»¹ÊÇÏàµ±ÖØÒªµÄ¡£µ±È»ÔÚÈκÎÒ»ÖÖÊÖǹÉ϶¼¿ÉÄÜ·¢Éú¹ÊÕÏ£¬µ«ÊÇɳĮ֮ӥÅųý¹ÊÕϵIJÙ×÷È´²»ÊÇÄÇô±ã½Ý£¬ÒòΪɳĮ֮ӥ·¢ÉäµÄ×Óµ¯±È½Ï³¤£¬Òò´ËËüµÄÌ×ͲÐгÌÒ²±ÈÆäËûÊÖǹ³¤£¬¶øÇÒËüµÄÎÕ°Ñ´ó£¬ÊÖÕÆÉÔΪСһµãµÄÈ˶¼²»ÄÜ¿ìËٵذ´Ïµ¯Ï»¿¨Ëñ£¬ÔÙ¼ÓÉÏËüµÄ³ß´ç¹ý´ó£¬²Ù×÷ÆðÀ´Ò²²»ÄÇôÃô½Ý¡£
ºó×ùÁ¦¡ª¡ªÕâÊÇɳĮ֮ӥһ¸ö¹ãΪÈËÖªµÄȱµã£¬µ±È»£¬Ò²²¢²»ÊÇ˵ɳĮ֮ӥµÄºó×ùÁ¦¾ÍÎÞ·¨¿ØÖÆ£¬Ã¿¸öÈËÔÚ¾¹ýһЩÁ·Ï°²¢ÄÜ×¢Ò⵽һЩϸ½ÚµÄ»°£¬¶¼¿ÉÒÔ×öµÃµ½¡£ÕâЩÉä»÷¼¼ÊõÌýÆðÀ´ºÜ¼òµ¥£ºÊÖÍó²»ÒªÌ«Èí£¬Òª±ÁµÃ½ô½ôµÄ£¬ÉìÖ±ÊÖÖ⣬ҪÓüç°òÀ´ÎüÊÕºó×ùÁ¦£¬²»ÒªÍе¯Ï»µ×²¿¡£µ±È»£¬Ôڰг¡ÉϾø´ó¶àÊýÈËÖ»Òª»¨ÉÏÒ»µãʱ¼ä×öºÃ×¼±¸¾ÍÄÜ´òºÃɳĮ֮ӥ£¬µ«ÊÇÈç¹ûÔÚÓÐÐÄÀíѹÁ¦µÄÇé¾°ÖÐÄØ£¿±ÈÈç˵×ÔÎÀ£¬¿ÖÅ´ó¶àÊýÈËÔÚ½ôÕŵÄÐÄÀíѹÁ¦Ï¶¼»áÍüµôijЩϸ½Ú¡£×î½ü¾ÍÌý¹ýÒ»¸ö¼«¶ËµÄÀý×Ó¡ª¡ªÓиö³õ´Î´ò.44Âí¸ñÄÏ AUTOMAGµÄÈËÒòΪûÓÐ×¢ÒâÎÕǹ¶¯×÷£¨¾Ý˵ËûµÄ´òǹ¾ÑéÒ²²»¶à£©£¬µÚһǹ¾ÍÓÒÊÖÍó¹ÇÕÛ£¬²»¹ýÕâ¸öÀý×ÓҲ̫¼«¶ËÁË£¬µ½ÏÖÔÚΪֹ¶¼ÎÞ·¨Ö¤Êµ¡£Èç¹û²»ÊÇÑÏÖØ¹ÇÖÊÊèËÉ£¬¾ÍËã×ËÊÆ²»ÕýÈ·×î¶àÒ²Ö»ÊÇÍÑÊַɳöÈ¥»òÕßÊÖÍóÊÜÉË£¬¹ÇÕÛÊDz»¿ÉÄܵġ£µ«.44Âí¸ñÄϵĺó×ùÁ¦µÄÈ·²»ÄÜÐ¡ÇÆ£¬²»°ÑǹÎÕÎÈ£¬¼«ÈÝÒ×ÒòΪ¡°ÈõÍóÉä»÷¡±¶øµ¼ÖÂÅ׿Çʧ°Ü¡£Òò´Ë£¬¶ÔÓÚÆÕͨÈËÀ´Ëµ£¬Ò»°Ñ¶ÔÉä»÷¶¯×÷ûÄÇôÌôÌÞµÄÊÖǹ»á¸üÊʺϡ£Èç¹ûÊÇ.357Âí¸ñÄϵĺó×ùÁ¦Ïà¶ÔÀ´Ëµ»á±È½ÏÎÂÈᣬµ«ÊǾÝ˵.357Âí¸ñÄϵ¯ÔÚɳĮ֮ӥÉϵıíÏÖ²¢²»ÔõÑù£¨Ðí¶à¹úÍâµÄɳĮ֮ӥFANS¶¼ÊÇÕâÑù˵µÄ£©£¬ËùÒÔ´ó¶àÊýÈ˶¼ÊǹºÂò.44Âí¸ñÄÏÐÍ¡£´ËÍâɳĮ֮ӥµÄºó×ùÁ¦´ó»¹»á²úÉúÁíÒ»¸öÎÊÌ⡪¡ª»Ö¸´Ê±¼ä£¬ÔÚ¼«¶ËÇéÐÎÖÐÄܹ»½øÐпìËÙÉä»÷Ò²ÊǺÜÖØÒªµÄ£¬»»¾ä»°Ëµ£¬ÔÚ´ò³öһǹºóÒªÓýÏÉÙµÄʱ¼äÈ¥Ãé׼Ŀ±ê´òµÚ¶þǹ£¬»òÃé×¼ÏÂÒ»¸öÄ¿±ê¡£
ÏÂͼΪɳĮ֮ӥÊÖ²áÉϹØÓÚÉä»÷·½·¨µÄ½éÉÜ£¬ÆäʵɳĮ֮ӥµÄºó×ùÁ¦Ò²²»ÖÁÓÚ´óµÃÏñijЩÈË´«ËµµÄÄÇÑùÒªÌåÖØ80¹«½ï²ÅÄÜ´ò£¬Éä»÷¾ÑéºÍÒªÁì±ÈÌåÖØ¸üÖØÒª

Í£Ö¹×÷Ó᪡ªÕâÊÇÏúÊÛÉ̺ÍɳĮ֮ӥ°®ºÃÕß×îÍÆ³çµÄÒ»µã¡£ÒýÓÃÀÏÃÀµÄBBSÉÏһЩÉä»÷ÀÏÊֵķ¢ÑÔ£ºÒ»·¢ÃüÖÐÒªº¦µÄ.22 LRµÄÍ£Ö¹×÷ÓÃÒ²±ÈÒ»·¢²»ÄÜ´òÖÐÄ¿±êµÄ.50 AE´óµÃ¶à¡£µ±È»£¬Ðí¶àÉä»÷½Ì¹Ù¶¼»áÇ¿µ÷Ïȵпª»ðºÍÊ×·¢ÃüÖеÄÖØÒªÐÔ£¬µ«ÊÇ×ÛºÏÒÔÉϵĸ÷ÖÖÒòËØ£¬Õâ°ÑÄÑÓÚ²Ù×÷µÄ´óÊÖǹÔÚÆÕͨÈËÊÖÀï¡¢ÔÚ½ô¼±µÄÍ»·¢Ê¼þÇé¿öϵÄÊ×·¢ÃüÖÐÂʲ¢²»±ÈÆäËûÊÖǹ¸ß£¬ÉõÖÁ¿ÉÒÔ˵¸üµÍ¡ª¡ª¹âÊdzöǹºÍÃé×¼ÕâÁ½²½Äã¾ÍµÃ±È±ðÈË»¨¸ü¶àµÄʱ¼ä£¬ºÎ¿öÒª´òµÃºÃ»¹Òª×¢ÒâÒ»´ó¶ÑÉä»÷×ËÊÆµÄϸ½Ú¡£
×ÔÎÀÊDz»ÊʺÏÁË£¬ÄÇô½ø¹¥ÄØ£¿½ø¹¥ÐÍÊÖǹ¡ª¡ªÕâÊÇÓÉMk23Ëù´øÆðµÄÒ»¸öÐÂÏÊ´Ê¡£Ðí¶àɳĮ֮ӥµÄÏúÊÛÉÌÒ²ÊÇ×ÅÁ¦Ðû´«ËüµÄ´óÍþÁ¦¡¢¸ß¾«¶È¡¢Ô¶Éä³Ì£¬×ãÒÔÒ»Ç¹ÖÆµÐ£¬ºÜÊʺÏÌØÖÖ²¿¶ÓʹÓ㬵«ÕâЩÐû´«´Ê¶¼ÊÇ˵¸øÄÇÐ©Ãæ¶Ô×ÅÁÕÀÅÂúÄ¿µÄǹ¼ÜδϾöÐĵÄÐÂÊÖÌýµÄ£¬ÓоÑéµÄÉäÊÖ¶¼²»»á°ÑËüÁÐ×÷Õ½¶·ÊÖǹµÄÊ×Ñ¡£¬ÊÂʵÉÏ´Ó¾ü¶Óµ½¾¯²ì£¬°üÀ¨ÌØÖÖ²¿¶Ó¶¼Ã»ÓÐʹÓùýɳĮ֮ӥ¡£Mk23±¾ÉíÖ»²»¹ýÊÇUSSOCOM×ø°ì¹«ÊÒµÄÈ˸ø³öµÄÃüÌâ×÷ÎÄ£¬½ö´ÓHK¹«Ë¾½»¹¦¿ÎµÄÇé¿öÀ´¿´ËãÊdzɹ¦µÄ£¬µ«ÊǺ£±ª¶ÓԱȴÄþÔ¸´øÒ»°ÑСÇÉÁáççµÄM9»òSIG P226ÉÏÕ½³¡¡ª¡ª×Ô¼ºÊÖÉÏÓÐן÷ÖÖ¸÷Ñù¾«Á¼µÄ½ø¹¥ÐÍÎäÆ÷£¨²½Ç¹¡¢³å·æÇ¹¡¢ö±µ¯Ç¹¡¢»úǹ£©£¬ÎªÊ²Ã´ÒªÄÃÒ»°ÑÓÖ´óÓÖÖØµÄÊÖǹ×ö½ø¹¥ÎäÆ÷ÄØ£¿
×ÛÉÏËùÊö£¬¶ÔÓÚÆÕͨƽÃñÀ´ËµÉ³Ä®Ö®Ó¥ÓÃ×÷×ÔÎÀÊDz»Êʺϵ쬶ø¶ÔÓÚÌØÖÖ²¿¶ÓÀ´Ëµ£¬ËûÃÇÒ²²»Ô¸ÒâÓÃÊÖǹ×ö½ø¹¥ÐÍÎäÆ÷¡£ÄÇôɳĮ֮ӥÊDz»ÊÇÒ»ÎÞÊÇ´¦ÄØ£¿Ò²²»ÊÇ¡£Ç°ÃæÒѾÌáµ½¹ýÁ½±éÁË£¬É³Ä®Ö®Ó¥µÄÉè¼Æ³õÖÔ¾ÍÊÇÓÃÀ´´ò°ÐºÍ´òÁԵģ¬×÷Ϊ°Ðǹ»òá÷ÁÔÊÖǹ£¬É³Ä®Ö®Ó¥ÊǷdz£ÓÅÐãµÄ£¬ÓÈÆäÊÇ´òÁÔ£¬°ÙÃ×ÒÔÉϵÄÓÐЧÉä³Ì£¬½Ó½ü³¤Ç¹µÄÍþÁ¦£¬ÆäËûÊÖǹ¶¼×ö²»µ½Õâµã£¬ºÎ¿öÁÔÊÖÒ»°ãÒ²²»»áµÈÒ°ÖíÅܵ½ÃæÇ°²Å¿ªÇ¹£¬ËùÒÔÉÏÊöÄÇЩ²»ÊʺÏÕ½¶·»ò×ÔÎÀµÄȱµã¶ÔÓÚ´òÁÔÀ´Ëµ²¢Ã»ÓиºÃæµÄÓ°Ï졣Ŀǰ£¬É³Ä®Ö®Ó¥Ò²È·ÊDZ»¶¨ÒåΪá÷ÁÔÊÖǹÔÚÊÐÃæÉÏÏúÊ۵ġ£
¼Ó³¤Ç¹¹Ü²¢¼Ó×°Ãé×¼¾µºó£¬ÓÃÀ´´òÁԾ͸üºÏÊÊÁË¡£
¡¡
ÕâÒ»ÖÖ³¤Ç¹¹ÜµÄɳĮ֮ӥ»¹×°ÉÏÁËǰÎհѵÄÕûÌåʽǹÍУ¬Ç¹ÍÐǰ²¿ÓпռäÒÔÈÝÄÉÌ×ͲµÄÍù¸´Ô˶¯¡£ÕâÖÖ¸ÄÐ;Ý˵ÊÇΪִ·¨»ú¹¹ÑÐÖÆµÄ£¬µ«È´ÊDZ»×÷ΪµÖ¼çÎäÆ÷¶ø²»ÊÇÊÖǹÀ´Ê¹Óõġ£

ÏÖÔڵij±Á÷ÊÇɳɫ£¬ËùÒÔɳĮ֮ӥҲÓëʱ¾ã½ø


²¨À¼GROMÔÚ2012ÄêµÄ¿ª·ÅÈÕÉÏÕ¹³öµÄÒ»°ÑɳĮ֮ӥ£¬·Ç³£Äѵõؿ´µ½ÕâÖÖÎäÆ÷ÔÚÕ½¶·²¿¶ÓµÄ×°±¸ÐòÁÐÖУ¬²»¹ý¹À¼ÆÕâ°ÑǹºÍËüÏ·½ÄǰÑUSP Match¡¢USP EliteÒ»Ñù£¬¶¼Ö»ÊǸãÒ»Á½Ö§À´ÍæÍæ£¬ÕæÕýµÄÕ½¶·ÊÖǹ»¹ÊÇÄÇЩÆÕͨµÄUSP¼°ÆäËû¡°Õý³£¡±µÄÎäÆ÷
½á ¹¹
ɳĮ֮ӥµÄ¶à±ßÐÎǹ¹ÜÊǾ«¶Í¶ø³É£¬±ê׼ǹΪ6Ó¢´ç³¤£¨152.4mm£©£¬ÁíÍâÒ²ÓÐ10Ó¢´ç£¨254mm£©µÄ³¤Ç¹¹Ü¹©Ñ¡Óá£ÓÉÓÚǹ¹ÜÊǹ̶¨µÄ£¬²¢ÔÚ¶¥²¿ÉèÓÐÃé×¼¾µ°²×°µ¼¹ì£¬Òò´Ë¿ÉÒÔ·½±ãµØ¼ÓÉϸ÷ÀàÃé×¼¾µ¡£Ì×ͲÁ½²à¾ùÓб£ÏÕ»ú±ú£¬×óÓÒÊÖ²Ù×÷£¬µ¯Ï»Êǵ¥ÅÅʽµÄ£¬²»Í¬¿Ú¾¶Ðͺŵĵ¯ÈÝÁ¿²»Í¬¡£ÎÕ°ÑÊÇÓ²Ïð½ºÖƳɣ¬µ«ÔÚÂí¸ñÄϹ«Ë¾Ò²¿ÉÌØ±ð¶©ÖÆÆäËûµÄÎÕ°Ñ¡£
¡¡

´Ó×óµ½ÓÒ£º10mm AUTO¡¢.357Âí¸ñÄÏ¡¢.44.Âí¸ñÄÏ¡¢50AE£¬Ö»ÓÐ×î×ó±ßµÄ×Óµ¯²»ÊÇɳĮ֮ӥËùÓõÄ
![]() ²»Í¬ÔìÐ͵ÄÏð½ºÎÕ°Ñ |
![]() ľ֯ÎÕ°Ñ |
¡¡É³Ä®Ö®Ó¥ÓëÆäËû×Ô¶¯ÊÖǹÏà±ÈµÄÒ»¸ö×î´óÌØµã¾ÍÊDzÉÓõ¼ÆøÊ½¿ªËøÔÀíºÍǹ»ú»Ø×ªÊ½±ÕËø£¬ÕâÊÇÒòΪËü·¢ÉäµÄÂí¸ñÄÏ×óÂÖÊÖǹµ¯µÄÍþÁ¦Ì«´ó£¬Ò»°ã´óÍþÁ¦×Ô¶¯ÊÖǹËùÓõĸÕÐÔ±ÕËøÔÀí¸ù±¾ÎÞ·¨³ÐÊÜ¡£
µ±µ¯Í·³öÌź󣬲¿·Ö»ðÒ©È¼ÆøÍ¨¹ýµ¼Æø¿×½øÈëµ¼ÆøÊÒ£¬Íƶ¯µ¼Æø»îÈû¡£ÕâÊÇÖÖµ¼ÆøÊ½×Ô¶¯ÔÀí³£¼ûÓÚ²½Ç¹ÉÏ¡£

![]() »îÈûÍ· |
![]() ¸´½ø»É¼°µ¼¸Ë |

µ¼Æø»îÈûºÍ¸´½ø»Éµ¼¸ËµÄ×°ÖÃ

»÷·¢µÄ¶¯×÷
ÕâÁ½ÕÅͼÉÏ¿ÉÒÔÇå³þ¿´µ½Ç¹»ú»Ø×ªÊ½±ÕËø»ú¹¹µÄÔË×÷·½Ê½£¬É³Ä®Ö®Ó¥µÄǹ»ú»úÍ·ºÍAR-15µÄÏàËÆ£¬µ«±ÕËø¿¨ËñΪ4¸ö¡£

ǹ¹Üβ²¿µÄ±ÕËø²Û
¡¡

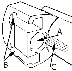
ǹ»úÍ·£¬AΪ³é¿Ç×°Öù̶¨Ïú£¬BΪÅ׿Ç×°Öù̶¨Ïú£¬CΪÀ¿Ç¹³£¬DΪÅ׿Ƕ¥
Ì×ͲÍêÈ«´ò¿ªµÄ״̬£¬ÕâÕÅͼÉÏ¿ÉÒÔÇå³þ¿´µ½µ¼Òý×Óµ¯½øÈ뵯ÌŵÄÐ±Ãæ

Ì×Ͳβ²¿»÷Õë×é¼þ£¬Áã¼þ˵Ã÷²ÎÕÕÏÂͼ
¡¡
ɳĮ֮ӥµÄÁã¼þ·Ö½âͼ(¸ÐлBOARµÄÌṩ)
ɳĮ֮ӥ·Ö½â²½Öè
È¡³öµ¯Ï»
´ò¿ªÇ¹»ú£¬°´Ï·ֽâÏú°´Å¥
ת¶¯²¢È¡³ö·Ö½âÏú

Ì×ͲÉÔÍùÇ°ÍÆ£¬È»ºó´Óǰ·½È¡³öǹ¹Ü
´Óǰ·½È¡³öÌ×Ͳ£¬ÔÙÈ¡³ö¸´½ø»ÉºÍµ¼Æø»îÈû
·Ö½â»÷ÕëµÄ²½Öè




|
¡¡¡¡¡¡¡¡¡¡REMTEK - ARMS ¡¡¡¡¡¡¡¡¡¡ZVIS.COM |
2001-10-02/2013-04-04 |