| →波兰轻武器 |
wz.63冲锋枪 |
|
|
口径: 9×18mm PP |



PM-63冲锋枪,或者叫wz.63冲锋枪,有两种叫法是因为该枪的正式全称叫Pistolet maszynowy wzór 1963(1963式冲锋枪),波兰语里的wz.相当于英语的M,所以wz.63其实是波兰军队的型号叫法,而PM-63就是“63式冲锋枪”的意思,这是生产商的商业名称,用于出口。
在外观上,wz.63冲锋枪是采用了那个年代流行的“T”形结构,即弹匣插在握把中,握把位于枪身中部。但wz.63其实更像一把放大的半自动手枪,而不是一把缩小的T形结构冲锋枪,因为wz.63并不是把一个自由式枪机装在固定不动的机匣内运动,而是像大多数的半自动手枪一样,用一个活动的套筒作为枪机——事实上,如果不是要在枪尾容纳减速器,该枪形状完全可以做成一把大号的自动手枪。然而在射击动作上,wz.63又更像一把当时流行的开膛待击冲锋枪,而不是闭膛待击的半自动手枪。
在1950~60年代,大多数国家的军队都开始装备中口径自动步枪作为制式武器,手枪弹口径的冲锋枪开始从军队中慢慢淘汰,更多地变成一种警用的“重武器”。但波兰的军事专家认为,随着机械化战争的兴起,坦克手、飞行员、汽车司机等非一线作战步兵需要一种比手枪更有效的小型自卫武器,而中口径自动步枪则因为占用空间大、训练时间长(要有效地使用而不是只会扣扳机),所以而不太合适作为上述人员的自卫武器。而传统的冲锋枪(例如波军原本装备的wz.43-52冲锋枪)也是偏大偏重,不适合在狭窄空间中方便地携带。所以必须有一种比传统冲锋枪要小巧、但比手枪在射程、火力上更强的武器。20年后,以美国为首的北约组织也提出了这种概念——他们取名叫“PDW”,不过他们更进一步,认为传统手枪弹的效果是不足够的,所以就出现了FN P90、HK MP7这类发射小口径高速弹的轻型冲锋枪。而波兰专家显然没想到要取一个像“PDW”这样看起来高大上的名字,只是提出了这样的设计概念。
wz.63冲锋枪最初是由波兰著名的枪械设计师彼得·威尔尼沃茨基(Peter Wilniewczyc)在1956年底至1957年初,基于军方的上述的概念开始尝试设计这种自动武器的原型,最初的设计其实相当于一把冲锋手枪,但考虑到单手操作时的控枪性能,他在1957年给这个原型研制了一个减速器,这个减速器需要在套筒尾部安装一个前后运动的惯性体,因此套筒向后延伸、拉长,结果这个武器原型就变成了“T”形布局。此时威尔尼沃茨基所设计的这个武器原型有一个代号,叫“Rak”。对于“Rak”所代表的意思,有好几种说法。最广为流传的解释是“突击队手持自动(武器)”(Reczny Automat Komandosow),这个解释可能是因为该枪生产后,首先装备的是波兰的特种部队。然而在“被遗忘的武器”的作者考证中,认为这个解释站不住脚,因为该枪的设计初衷并不是特种部队武器,只是恰好首先装备给特种部队而矣,而且“Rak”这个名称在1957年的一些文件中就开始出现了。
而“Rak”的另一个解释是“波兰癌症”,这听起来好像是西方国家对东方阵营武器起绰号的风格(就像米格和苏霍伊的飞机在西方国家的代号都是带贬义的)。然而根据彼得·威尔尼沃茨基的学生斯坦尼斯瓦·科钦斯基(Stanisław Kochański)的说法,“波兰癌症”才是正确的意思,至于这个叫法的真正起源他也不清楚,但他认为极可能是两件事联系起来的:首先,这种武器待击状态时套筒在后面,与其他套筒结构的自动手枪的待击状态是相反的。波兰语中对于水平安定面在机头位置的“鸭翼”布局飞机有一个专业词叫“chodzić rakiem”是“向后走”的意思,但在波兰语里这个词也代表癌症的“扩散”。其次,当时威尔尼沃茨基就已经被证实患有癌症,他本人曾在《泰晤士报》写文章讲述他一边搞研究一边与绝症进行艰苦的斗争,他在文章里开玩笑说“要么癌症先把我搞定,要么我先把癌症搞定”(Either the cancer is going to finish me first, or I would finish the Cancer earlier)。所以威尔尼沃茨基很可能是把这个武器原型的待击状态的相关语,和他自己的病名联系起来,就用“Rak”来称呼他正在研制的枪。
威尔尼沃茨基最终在1960年12月23日病逝,在他死后,位于波兰拉多姆(Radom)的卢茨尼克军工厂(Lucznik Arms Factory)组织了一个设计小组继续完成“Rak”的设计,这个小组的主要设计人员包括玛丽安·瓦卡尔斯基(Marian Wakalski)、格热戈尔茨·丘巴克(Grzegorz Czubak)和塔德乌兹·贝德纳斯基(Tadeusz Bednarski)。1962年1月,Rak冲锋枪的设计小组转移到拉多姆兵工厂,在一个叫“通用沃尔特”(General Walter)的金属车间里作进一步的研制和原型的试制。Rak冲锋枪的设计基本在1963年确定,然后在1963年末至1964年初,一共制作了20支原型枪进行测试。1964年通过测试后才开始量产的准备工作。该枪于1965年才正式被波兰军事部队和执法机构正式采用,并按照设计定型的时间将其命名为PM wz.63。
在1965年交付部队的只是试产型,在1966年还进行过一次降低成本的设计更改,例如把减速器的惯性体的材料由钨改为钢。而该枪的全速生产在1967年才开始,全面交付给波兰军队和执法部队也是在1960年代末才开始的。该枪主要的装备对象是侦察部队、特种部队,常规部队里的排长、参谋,机械化部队的车组成员和炮兵,反坦克导弹部队,以及执法部门的武装人员。除波兰本国外,PM-63冲锋枪也出口到其他国家,例如东德警方、伊拉克、朝鲜、越南。中国就是在1979年对越自卫还击战中缴获了一些PM-63,对其进行了仿制并定型为82式轻型冲锋枪,主要装备公安部门。到1977年停产前,拉多姆兵工厂前后一共生产了大约7~8万支wz.63/PM-63。在1970年代初,拉多姆兵工厂还曾尝试生产了9x19mm口径的PM-70和.380 ACP口径的PM-73(这两个枪型因为没有波军的正式定型,所以型号名称没有wzór为前缀),因为订单不足,很快就停产了。
|
|
![]() 1962年时的Rak冲锋枪专利图,那时的枪托是下翻折叠式,没有前握把但有一个木质的前护木 |
![]() 大部分解下的1967年生产的PM-63冲锋枪 |
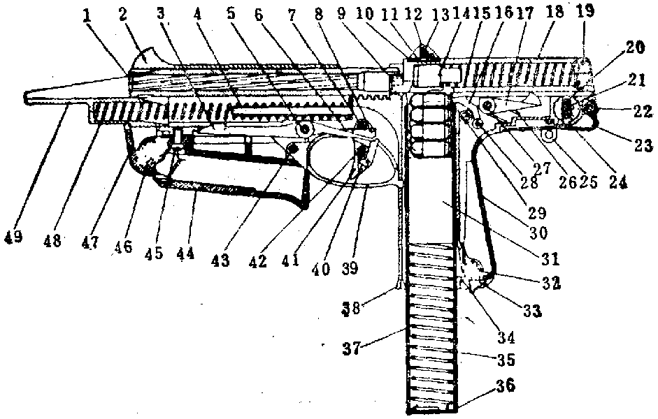
wz.63发射9x18mm马卡洛夫手枪弹,从外观上看,该枪的显著标志是其套筒前端呈长槽状,突出于枪管前方。它一方面起枪口防跳器的作用,另一方面可将其抵在较硬的物体上单手待击。这一特点大多数冲锋枪、手枪都不具备的。另外该枪的套筒的形状相当复杂,是由一块整料机加而成,加工比较困难。另外,虽然枪口防跳器具有单手待击功能,但套筒两侧铣有带防滑纹的斜肩,这才是用于正常状态下拉动套筒进入待击状态的。
wz.63的自动方式为枪机自由后座式,采用前冲击发的原理。为降低射速提高可控性,该枪装有减速器,使理论射速从下降至600发/分,如果不安装这个减速器,理论射速将高达每分钟1,000发以上。减速器是一个圆柱形的惯性体,置于套筒后端的通孔内,减速器弹簧的刚度较小。击发后,当套筒后座到位越过减速阻铁时,减速阻铁便在其簧力作用下上抬,卡入套筒的卡槽中,使套筒挂在后方。而惯性体则靠自身所具有的动量继续向后,压缩减速器簧。然后,减速器簧推惯性体向前,惯性体压下卡在套筒卡槽内的减速阻铁,套筒便在复进簧的推动下向前复进。
最初生产的惯性体是由钨合金制成的单件圆柱体,但仅仅生产一年之后,波兰的一个军事审查委员会就下令对wz.63冲锋枪进行几项降低生产成本的改进,其中一项就是不能再使用昂贵的钨合金。于是第一个改进的惯性体就是由钨改为钢,但长度增加,因为因为要保持原本的惯性体重量。但这个单件式的钢制惯性体磨损速度比钨合金要快,所以到了1970年代初期,又把单件式圆柱体改进成两件分体式圆柱体的设计。
wz.63冲锋枪没有快慢机,是靠射手控制扳机行程的长短来实现半自动和全自动射击,即“单/连发扳机”。阻铁(即扳机连杆)为一长杆,位于扳机前方,其轴在杆的中部。阻铁前端可上抬而卡入套筒的卡槽中,其后端与扳机上的单发杆相扣合。当轻扣扳机时,扳机带动单发杆顶起阻铁后端,阻铁前端下降并与套筒解脱。击发后,套筒后座,压倒单发杆,单发杆离开阻铁,阻铁前端上抬扣住复进的套筒。如再次发射,必须松开扳机,使单发杆重新回到阻铁后端的下方。当扣压扳机到底时,单发杆便完全离开套筒的运动路线,所以只要扣压住扳机不放,就可实现全自动射击。一旦弹匣中的枪弹打完,空仓挂机便将套筒挂在后方。
保险机位于后握把上方、套筒座左侧。当保险机柄转到垂直位置时为“发射”状态,此时有红点露出。转到水平位置时,保险机轴上的圆柱面迫使套筒的空仓挂机卡笋上抬,将套筒锁住而实现保险。这个保险机仅为套筒的待发保险,当套筒在闭锁位置时便不起保险作用。但因为wz.63是固定击针的前冲击发原来,所以套筒在闭锁状态下反而是安全的。
wz.63的枪管内镀铬,提高耐腐蚀性能。枪管尾端下方有半周断隔螺,将枪管插入套筒座后再转动90度,断隔螺便与套筒座的断隔螺相扣合,使枪管定位。
前后握把均为塑料件。前握把安装在套筒座的前端,可向后折叠在枪管下变成护手。后握把兼作弹匣插座,配有3种容量的弹匣,其中一种15发弹匣的长度与握把相等,但通常使用25发弹匣。有资料提及还有40发的大容量弹匣,也许是因为长度过大,很少配发使用,所以没见过这种弹匣的图片。
枪托为伸缩式,两根枪托杆缩起后贴在套筒座两侧,托底板则折叠在套筒座的下方。当枪托伸出时把托底板翻转270度在打开状态,同时枪托杆伸出后稍为下倾斜,这样是为了降低托底板的抵肩位置,以便于射手在枪托抵肩时,视线与套筒顶端的机械瞄具平齐。但即使如此,抵肩瞄准时,射手头部需向下贴近枪身,而且由于枪托杆的长度偏短,所以套筒后座到位时距射手鼻子太近,这些都不利于操作。
套筒上方固定 准星和照门。准星为刀片形,不可调整;照门为“L”型翻转式觇孔照门, 表尺射程分别装定在75米和150米。
wz.63的分解步骤如下: 取下弹匣,拉套筒到后方,检查膛内有无枪弹,并将套筒挂于后方; 反时针转动枪管,使之脱离套筒座。握住套筒,扣压扳机,慢慢将套筒从前方滑出; 从套筒中取出枪管,再从套筒座上取下复进簧及导杆。
结合按相反顺序进行。但装枪管入套筒时,须使枪管后部的五个半周断隔螺卡入套筒上的相应的槽中,然后将套筒与枪管一起装到套筒座上。
该枪可单手射击,也可打开枪托双手抵肩发射。既能半自动射击,也能全自动射击。但即使已经有减速器和有枪口防跳器,单手全自动射击时的枪口跳动也是比较大的(这与巨大沉重的套筒在上方往复移动和全枪太轻有关),所以在操作说明上通常是建议单手时要像手枪那样半自动射击,全自动射击需要至少要使用前握把控枪,最好是打开枪托双手抵肩发射。
wz.63的携带方式既可以用枪背带,但也可以像手枪一样装在一个专门的枪套内。
![]() |
![]() ![]() PM-63的 枪套及弹匣袋 |
该枪有三个主要的缺点:
一是待发时套筒在后方,虽然有利于冷却弹膛,但作为手枪使用时却无法获取良好的射击精度
二是前面提到的折叠式枪托的长度偏短,对身材较高的士兵不太适用,不但抵肩瞄准的姿势别扭,最大的问题是由于该枪的枪机就是套筒,而套筒又太长。虽说开膛待击时套筒就已经停留在后面,射击前抵肩瞄准时理应会注意让套筒远离面部。但一旦开枪射击时没注意控制好后坐力保持姿势,套筒就有可能打到脸上。事实上,国内就有过射击仿制型被套筒“打脸”的案例(见国产82式冲锋枪)。


PM-63在待击状态下的套筒位置,套筒尾距离射手的脸会相当近,新手使用这把枪抵肩瞄准时,难免会有一种“随时被套筒打脸”的错觉,而事实上如果没控制好后坐力,确实会“打脸”
三就是通过单/连发扳机来变换射击的方式对缺乏训练的士兵来说不易掌握,往往浪费弹药 —— 这一点实际上与“为缺乏枪械训练的二线人员提供一种易于训练的自卫武器”这一设计初衷是违背的,其实提出单/连发扳机的目的,可能就是考虑到训练不足的士兵可能忘记快慢机的装定状态,以至于想要压制火力时变成单发、想要精确射击时变成连发。然而,由于单连发扳机的操作需要有足够的训练来熟悉(尤其是wz.63的扳机设计得比较“硬”),在单手射击时更容易出错,所以导致理想与现实出现偏差。其实奥地利斯太尔公司的AUG步枪和TMP冲锋枪也是采用单/连发扳机,前者作为抵肩射击的步枪,扳机感也设计得比wz.63要好,所以即使存在争议,但用户也不会太抵触。而后者最初卖不出去,斯太尔公司把TMP冲锋枪的设计卖给了瑞士B&T公司,B&T公司一开始给TMP加上枪托改名为MP9时,后来又取消了它的单连发扳机,改成手动快慢机,便成功推销给荷兰空军,成为了飞行员的自卫武器。
尽管PDW的概念没有问题,但PM-63在设计上却不太成功,除了上述三个主要缺点外,还有其他的设计缺陷。在上世纪6、70年代问题还不大,但随着时间的流逝,国外有了许多同类武器,有了更好的参照物后,波兰士兵越来越不喜欢这件武器。1984年,波兰军事部队和执法机构采用新的PM-84冲锋枪,取代了wz.63冲锋枪。
| 枪全长 | 枪托伸出 | 583 mm |
| 枪托缩起 | 333 mm | |
| 枪管长 | 152 mm | |
| 膛线 | 4条、右旋, 缠距203mm | |
| 枪全重 | 不带弹匣 | 1.6 kg |
| 带25发空弹匣 | 1.8 kg | |
| 初速 | 323 m/s | |
| 枪口动能 | 31公斤·米 | |
| 理论射速 | 600 rpm | |
| 实际射速 | 全自动 | 75 rpm |
| 半自动 | 40 rpm | |
| 瞄准基线长 | 155 mm | |
| 有效射程 | 枪托伸出 | 200 m |
| 枪托缩起 | 40 m | |
| 弹匣容量 | 15、25、40 rds | |




闭锁状态下的PM-63,缩起后的枪托,能看到托底板平贴折叠在枪尾下方


安装消声器的PM-63,这个消声器是玛丽安·瓦卡尔斯基研制的
![]() 把防跳器顶在硬物上单手待击 |

PM-63只有在枪尾部位有一个背带环,该枪平时主要通过枪套携带,所以背带只是使用时临时挂在肩上解放双手的,并非携行状态
![]() PM-63的 15发弹匣 |
![]() PM-63的25发弹匣 |

装备PM-63冲锋枪的越南特种兵



1990年代,巴解组织领导阿拉法特在办公桌上放置一把PM-63,向来访记者表示自己将战斗到底
| 资料来源:国防工业出版社出版《国外轻型步兵武器》下册 |
创建2020-04-24 / 更新2023-11-15 |