| 俄罗斯轻武器 | GP-25枪挂式榴弹发射器 |
|
|
口径: 40mm |

在1960年代中后期,美国的M203枪挂式榴弹发射器成功研制并装备部队,枪挂式榴弹发射器既可以为步兵提供近距离火力支援,杀伤点面有生目标,又不影响枪械的正常射击。苏军对这种新式武器的战术性能很受刺激,于是苏联的工程师也于1970年代中期开始研制枪挂式榴弹发射器,第一个定型的产品为GP-15,随后在GP-15基础上进行改进,在1970年代未定型出GP-25,1981年开始装备部队,并在1984年首次在阿富汗战场露面。目前仍然是俄军的步兵班配备的武器,并在车臣大量使用。在俄军的俚语中,GP-25被称为“小型火炮”。
GP-25可以加装到俄罗斯各种现役或新研制的步枪和冲锋枪上,包括AK-47、AKM、AK-74以及新的尼柯诺夫AN94上。GP-25既可平射也可以曲射,用于摧毁50至400米射程内的暴露的单个或群体目标,或隐藏在障碍物后、掩体后、散兵坑内或小山丘背面的目标。

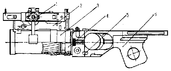
GP-25发射筒为钢制,内有12条右旋膛线,筒外有连接座,通过闩体、轴销和保险机与击发机连接,结构比M203更为简单。连接座上部有一个凹槽和一个固定卡扣,凹槽与枪管、刺刀、和通条配合,在尺寸设计上已经考虑了俄军列装的各种步枪和冲锋枪,因此不需要任何改变和适配都可以加装在各种武器上。安装时套在枪管上,把固定卡扣往里面压紧就可以使用,装卸时不需要作用工具,这是GP-25在GP-15上要的改进之一,GP-15是通过锁定销固定在枪身上的,装卸时需要专用工具。
GP-25有3道保险,第1道是位于击发机左侧的保险机;第2道是借助一个连杆锁住击针,只有当发射器装在步枪上才能使连杆解脱击落针;第3道则是发射管内有一个定位销与发射机连杆联动,只有当榴弹装填到位,定位销压下去时才能使连杆解脱击针。这也是在GP-15上的一项改进。扣压扳机时,扳机带动击针后移约10mm后释放击针,在击针簧的作用下完成击发过程。击发机左侧有退弹顶杆。GP-25的最大特点为前装式,没有弹膛,配用VOG-25系列杀伤榴弹。
| 全长 | 323 mm |
| 枪管长 | 120 mm |
| 发射器空重 | 1.5 kg |
| 射速 | 5-6 RPM |
| 表尺射程 | 400 m |
| 初速 | 76.5 m/s |

①瞄准具; ②连接座; ③发射管; ④闩体; ⑤击发机; ⑥指孔形小握把

瞄准具

枪托缓冲垫
![]()



![]() 装在AKMS上 |
![]() 装在AKMS与AK-74M上 |
![]() 平射姿态 |
曲射姿态 |







在阿富汗战争中使用的GP-25,安装在AKMS上

阿富汗战争中的苏军士兵,从枪口安装的PBS-1消声器与枪托细节判断,图中这把安装GP25的步枪可能是安装40发弹匣的AKM而非安装45发弹匣的AK74

在车臣使用的GP-25,安装在AKMS上

在车臣使用的GP-25,安装在AKS-74上

自制木板枪托,独立使用的GP25,虽然看起来简陋但却是可行的,尽管这人应该是在恶搞

挂在M16A1枪管上的GP25,这把M16A1还使用了SureFire四排100发弹匣
| 资料来源:Valery Shilin's CUN CLUB |
创建2003-08-07 / 更新2026-03-28 |