| 俄罗斯轻武器 | GP-30枪挂式榴弹发射器 |
|
|
口径: 40mm |

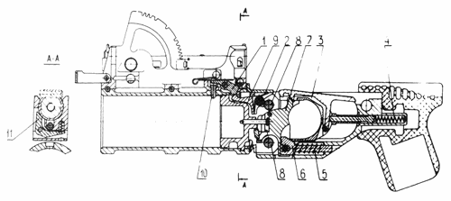
GP-30是在GP-25的基础上改进的,稍为减轻了重量,全长也缩短了一些,但枪管长度没有变化,战术性能也完全相同。目前俄军仍在使用现有的GP-25,因此生产商主要定位在外贸上。在外形上GP-30的发射管中部增加了一个环状突起,这是区别GP-30与GP-25的主要特征。GP-30也是配用VOG-25系列杀伤榴弹。
![]()

①携行袋;②发射机座;③发射管及瞄具;④榴弹



| 全长 | 276 mm |
| 枪管长 | 120 mm |
| 发射器全重 | 1.3 kg |
| 射速 | 5-6 RPM |
| 表尺射程 | 400 m |
| 初速 | 75 m/s |






AK-74M/GP-30与M16A1/M203的对照
![]() |
AKM |
![]() |
AK-74 |
![]() |
AK-74M |



GP30挂在加利尔和FAL步枪上
|
2003-08-07 |